|
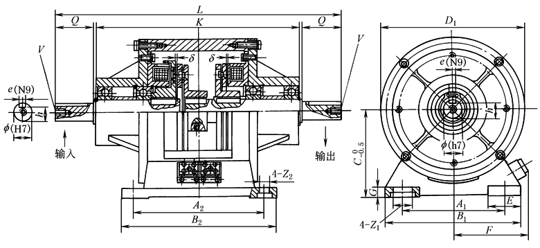
DLZ4系列电磁离合制动器 |
|||||||||||||||||||
|
|
|||||||||||||||||||
|
规 格 |
额定动转矩/N·m |
静转矩/N·m |
额定电压 (DC)/V |
线圈消耗功率(20℃)/W |
允许最高转速 /r·min-1 |
||||||||||||||
|
离合器 |
制动器 |
离合器 |
制动器 |
离合器 |
制动器 |
||||||||||||||
|
0.5 |
5 |
5 |
5.5 |
5.5 |
24 |
12 |
12 |
4000 |
|||||||||||
|
1 |
10 |
10 |
11 |
11 |
16 |
16 |
4000 |
||||||||||||
|
2 |
20 |
20 |
22 |
22 |
20 |
20 |
4000 |
||||||||||||
|
4 |
40 |
40 |
45 |
45 |
25 |
25 |
4000 |
||||||||||||
|
8 |
80 |
80 |
90 |
90 |
36 |
38 |
3000 |
||||||||||||
|
16 |
160 |
160 |
175 |
175 |
46 |
45 |
3000 |
||||||||||||
|
25 |
250 |
250 |
275 |
275 |
50 |
49 |
2000 |
||||||||||||
|
55 |
500 |
500 |
550 |
550 |
90 |
65 |
61 |
1500 |
|||||||||||
|
100 |
1000 |
1000 |
1100 |
1100 |
24 |
66 |
31 |
1500 |
|||||||||||
|
规 格 |
A1 |
A2 |
B1 |
B2 |
C |
D1 |
E |
F |
G |
K |
L |
V |
Z1 |
Z2 |
f |
Q |
h |
e |
δ |
|
mm |
|||||||||||||||||||
|
0.5 |
65 |
90 |
90 |
105 |
65 |
100 |
27.5 |
58 |
10 |
132 |
187 |
M3深8 |
13.5 |
6.5 |
11 |
25 |
|
4 |
0.3 |
|
1 |
80 |
110 |
110 |
130 |
80 |
125 |
30 |
66 |
12 |
171 |
236 |
M4深8 |
15 |
9 |
14 |
30 |
|
5 |
|
|
2 |
105 |
135 |
140 |
160 |
90 |
150 |
35 |
81 |
15 |
210 |
295 |
M6深11 |
20 |
11 |
19 |
40 |
|
6 |
|
|
4 |
135 |
160 |
175 |
185 |
112 |
190 |
42 |
98 |
15 |
270 |
376 |
M6深11 |
24 |
11 |
24 |
50 |
|
8 |
|
|
8 |
155 |
200 |
200 |
230 |
132 |
230 |
45 |
110 |
18 |
362 |
490 |
M6深11 |
28 |
14 |
28 |
60 |
|
8 |
0.5 |
|
16 |
195 |
240 |
240 |
270 |
160 |
290 |
47 |
129 |
20 |
448 |
616 |
M10深17 |
28 |
14 |
38 |
80 |
|
10 |
|
|
25 |
240 |
290 |
290 |
320 |
185 |
340 |
60 |
155 |
22 |
490 |
684 |
M10深17 |
30 |
14 |
50 |
90 |
|
14 |
|
|
100 |
336 |
344 |
440 |
404 |
227 |
464 |
84 |
225 |
22 |
472 |
700 |
— |
22 |
50 |
120 |
|
14 |
||
|
注:生产厂家为天津机床电器有限公司。北京古德高机电技术有限公司生产的DLZ1型组合离合器参数及尺寸与本表型号类似。 |
|||||||||||||||||||

