|
中小型模架的结构形式(品种) |
|||||||
|
(1) 中小型模架的分类
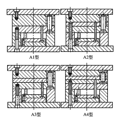
图1 基本型模架结构(A1~A4型) ① 按结构特征可分为基本型和派生型。基本型有四种,即A1、A2、A3和A4,如图1所示;派生型有九种,即P1、P2、P3、P4、P5、P6、P7、P8和P9,如图2所示 ② 按导柱和导套的安装形式可分为正装和反装两种,正装代号为Z,反装代号为F。序号1、2、3为分别采用带头导柱、带肩导柱和带肩定位导柱,如图3所示 ③ 按动、定座板的尺寸可分为带肩和无肩两种
图2 派生型模架结构(P1~P9型)
图3 正装和反装导柱模架结构 (2) 各种模架的特点和用途见下表 |
|||||||
|
各种模架的特点和用途 |
|||||||
|
类型 |
基 本 型 |
派 生 型 |
|||||
|
型号 |
A1 |
A2 |
A3 |
A4 |
P1~P4 |
P5 |
P6~P9 |
|
特 点 和 用 途 |
定模为两块模板,动模为一块模板,采用推杆推出机构。适用于单分型面注塑模 |
定模和动模均为两块模板,采用推杆推出机构。适用于直流道、斜导柱抽芯的注塑模 |
定模为两块模板,动模为一块模板,采用推板推出机构。适用于脱模力大的塑件、薄壳塑件、塑件表面不允许有推出痕迹的注塑模 |
定模和动模均为两块模板,采用推板推出机构。适用范围类似A1型 |
P1~P4型由基本型A1~A4对应派生而成,不同点在于取掉了定模板上的固定螺钉,使定模部分增加了一个分型面而成为三板式模具。多用于需要点浇口场合。其他特点及用途同A1~A4 |
定、动模板均为一块模板。主要适用于直浇道且整体简单型腔的注塑模 |
P6对应P7,P8对应P9,只是去掉了定模座板上的固定螺钉。它们均适用于复杂的注塑模(如定距分型自动脱浇口的注塑模) |



