|
定模设置推出机构的注射模 |
|
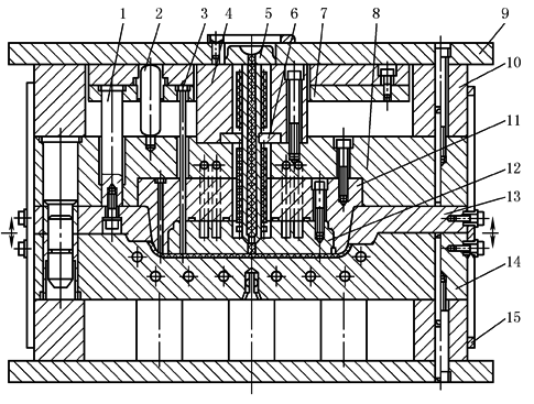
下图所示为双缸洗衣机水桶盖板塑料注射成型模具。熔体在绝热状态下流入注射模。由于外表面为装饰面,故模具的浇口和推出机构均设在塑件内表面,并在定模设置推出机构 当开模至一定距离后,动模开始带动拉板15,继而在开模侧由拉板15带动推板13,并通过复位杆1、推杆固定板7带动推杆3与推板13同时推动塑件脱离定模镶块11及12。合模时,推杆由复位杆带动而复位,这种定模推出机构简单,应用广泛
双缸洗衣机水桶盖板塑料注射成型模具 1—复位杆;2—导柱;3—推杆;4,10—支架;5—绝热喷嘴;6—卡环;7—推杆固定板;8—定模板; 9—定模座板;11,12—定模镶块;13—推板;14—动模型腔板;15—拉板 |

