|
单分型面注射成型模具 |
|
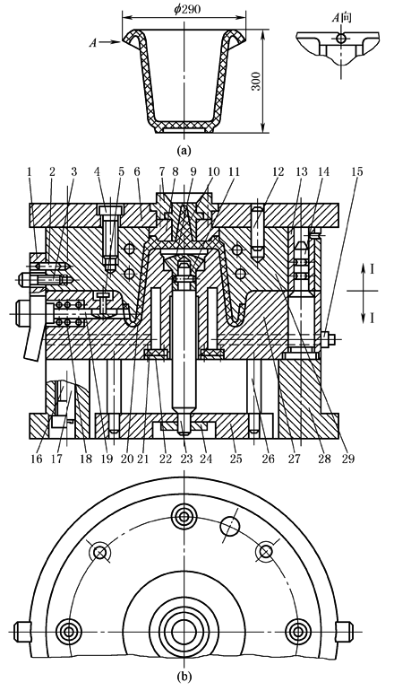
(1)水桶盖塑料注射成型模具 图1所示为水桶盖塑料注射成型模具。此模具采用单分型面,直接浇口。塑料注射成型后,开模,动模和定模分开,由于塑件收缩,保留在动模一侧的凸模7上。注射机的推出机构推动推板20、推杆9和边缘上六个推杆5,将塑件从凸模7上推出
图1 水桶盖塑料注射成型模具 1—定模板;2—导柱;3—导套;4—回程杆;5,9—推杆;6—凹模;7—凸模; 8—浇口套;10—定位圈;11—塑件;12—密封垫;13—盖板;14—凸模板; 15,24,26—销钉;16,25,27—螺钉;17—水嘴;18—动模板;19—支块; 20—推板;21—推杆固定板;22—垫板;23—顶柱 (2)水桶塑料注射成型模具 图2所示为水桶塑料注射成型模具。此模具采用单分型面,直接浇口。由于塑件高、壁薄,在注射成型时不易保证,机构必须可靠。除利用导柱和导套导向外,还要利用凹模29和凸模27的斜面部位定位。若上述导向机构及定位斜面还不能保证塑件质量,可以采用辅助导向,例如增设四个对称小短导柱导向定位,这样可以提高定位及导向的准确性。试生产效果良好。模具的整个冷却系统设在凹模和凸模内,进行循环冷却 在塑料注射成型后,经过一段时间的保压,开模时,凸模27带着塑件一起离开凹模29。在分离过程中,由拉板1把型芯19抽出,然后推出机构推动推杆23把塑件推出。合模时,压缩弹簧18,目的是控制型芯19正确的位置
图2 水桶塑料注射成型模具 1—拉板;2,11,12,17—销钉;3,4,16—螺钉;5—限位钉;6—定模板;7—定位圈;8—镶件; 9,25—推板;10—浇口板;13—导套;14—导柱;15—水嘴;18—弹簧;19—型芯;20—塑件; 21—密封圈;22—盖板;23—推杆;24—螺母;26—回程杆;27—凸模;28—支板;29—凹模 |


