|
导柱的结构、形式及应用 |
||
|
导柱的结构形式随模具的结构、大小及塑件生产批量要求的不同而不同,目前在生产中常用的结构如下图所示
台阶式导柱的结构形式 |
||
|
导柱的结构、形式及用途 |
||
|
导柱形式 |
结 构 |
说 明 |
|
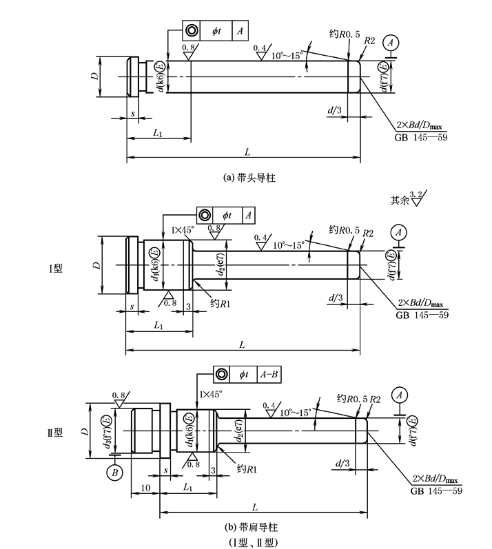
1.带头导柱 (台阶式导柱 导向装置) |
|
小批量生产,一般不需要导套,导柱直接与模板导向孔配合,如图a所示。也可以与导套配合,如图b所示。这种导柱常用材料为20钢和T8A。热处理方法为,20钢经渗碳淬火处理,T8A经淬火处理,硬度达到56~60HRC |
|
2.带肩导柱 |
|
带肩导柱一般用于大型或精度要求高、生产批量大的模具,一般与导套配合使用,如图a所示,导套的外径与导柱直径d1相等,便于导柱固定孔和导套固定孔的加工。如果导柱固定板较薄,可采用图b所示结构,其固定部分有两段,分别固定在两块模板上。根据需要,以上导柱的导滑部分可以加工出油槽 |
|
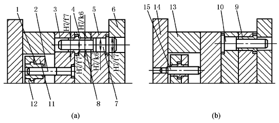
3.推板导柱 |
1,8,9—带头导套;2,7,10—带头导柱;3—支承板;4—动模板;5—定模板; 6—定模座板;11—推杆固定板;12—推板;13—垫块;14—动模座板;15—推板导柱 |
为保证顶出机构的运动平稳性,一般在顶出机构中设有推板导柱或带头导柱,如图所示 |
|
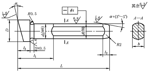
4.斜导柱 |
Ⅰ型 |
斜导柱用于具有斜导柱分型与抽芯机构的注射模具上。α角取决于导柱的斜角,所用材料和热处理方法与带头导柱一样 |
|
5.合模销 |
|
为保证锥模套中拼块相对位置的准确性,常用两个合模销。分模时,为了使合模销不被拔出,其固定端部分别采用H7/k6过渡配合,另一滑动端部分别采用H9/f9间隙配合 |





