|
塑件孔和凹凸设计 |
|
塑件上常有许多不同形状和尺寸的孔,这些孔有的是与其他零件装配、连接用孔,有的是制品装饰性孔或功能性孔等 塑件上的孔是用模具的型芯成型的,理论上讲,可以成型任何形状的孔,但是形状复杂的孔,其模具制造困难,成本提高。因此,用模具成型的孔,应采用工艺上易于加工的孔 塑件上常见的孔有通孔、盲孔、形状复杂的孔等。这些孔均应设置在不会削弱塑件强度的地方。各孔之间和孔与边缘之间均应有足够的距离(一般应大于孔径)。装配、连接用孔和其他受力孔的周围可设计一凸边来加强,如图1所示
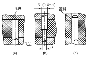
图1 孔的加强 通孔的成型方法如图2所示。图2a中通孔由一端固定的型芯成型,孔的一端有不易修整的飞边,由于型芯系一端支撑,故孔深时型芯较长,容易产生弯曲变形。图2b由两个一端分别固定的型芯来成型,同样在两型芯对接处有飞边,而且修整比前一种成型方法困难。由于两段孔同轴度不易保证,此时应将其中一个型芯设计成比另一个大0.5~1mm,这样即使稍有同轴度误差,也不致引起安装和使用上的困难。这种成型方法因型芯较短,增加了型芯的稳定性。图2c由一端固定、另一端导向支撑的型芯来成型,这样,型芯有较好的强度和刚性,从而保证同轴。此法较为常用,但导向部分若磨损会引起导向误差,从而导致在型芯与导向孔配合处产生溢料
图2 通孔的成型 盲孔只能用一端固定的型芯来成型。为了避免型芯弯曲或折断,盲孔的深度不宜太深。对于挤塑或注射成型,孔深不得大于孔径的4倍。压塑成型时,孔深应更浅些,平行于压塑方向的孔深一般不超过孔径的2.5倍,垂直于压塑方向的孔深为孔径的2倍。如塑件上确实需要较深的盲孔,且孔的位置垂直于压塑方向,为防止型芯弯曲,在型芯下面应设置支撑柱,如图3所示。支撑柱的形状将要复制在塑件上,此种工艺孔应在设计时考虑
图3 防止型芯变形的支撑柱 1—型芯;2—支撑柱 对斜孔或形状复杂的孔,可采用拼合的型芯来成型,以避免侧面抽芯,从而简化模具结构,如图4所示
图4 形状复杂的孔的成型 |




