|
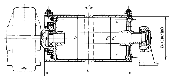
起重机卷筒组装结构示例 |
||
|
类型 |
结 构 图 |
特 点 和 应 用 |
|
齿 轮 连 接 盘 式 ︵ A 型 ︶ |
|
1.齿轮连接盘式卷筒轴不受转矩,只承受弯矩 2.齿轮连接盘式是目前标准型起重机典型结构,分组性好,为封闭式传动。缺点是检修时需沿轴向外移动卷筒 3.带周边大齿轮的卷筒多用于传动速比大、转速低的卷筒,一般均为开式传动 4.卷筒有单层卷绕单联卷筒、单层卷绕双联卷筒和多层卷绕卷筒(见表卷筒几何尺寸中图) 5.卷筒表面有导向螺旋槽,钢丝绳进行单层卷绕,一般情况用标准槽,当钢丝绳有脱槽危险时(如抓斗起重机的卷筒和工作中振动较大者)采用深槽 6.为了缩小卷筒尺寸,可采用导向螺旋槽或光面卷筒,进行多层卷绕,但钢丝绳磨损较快,这种卷筒适用于慢速和工作类型较轻的起重机,目前多层卷绕卷筒大多数制成带绳槽的,这样第一层钢丝绳卷入卷筒螺旋槽,第二层钢丝绳以相同的螺旋方向卷入第一层钢丝绳形成的螺旋沟,大大改善了钢丝绳的接触情况,延长了使用寿命。为防止钢丝绳脱出,卷筒两边设挡边,其高度比最外层钢丝绳高出(1~1.5)d |
|
周 边 大 齿 轮 式 ︵ B 型 ︶ |
|
|
|
齿 轮 连 接 盘 式 ︵ C 型 ︶ |
|
|
|
周 边 大 齿 轮 式 ︵ D 型 ︶ |
|
|




