|
起重机橡胶缓冲器(JB/T 8110.2—1999) |
||||||||||||||||||||||||
|
|
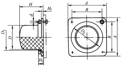
标记示例: 缓冲容量W=0.40kN·m的橡胶缓冲器,标记为: 缓冲器 HX-40 JB/T 8110.2—1999 型号意义:
|
|||||||||||||||||||||||
|
型 号 |
缓冲容量 W /kN·m |
缓冲行程 S /mm |
缓冲力 P /kN |
主 要 尺 寸 /mm |
螺栓规格 d×L |
质量/kg ≈ |
||||||||||||||||||
D |
D1 |
D2 |
H |
H1 |
H2 |
A |
B |
|||||||||||||||||
|
HX-10 |
0.10 |
22 |
16 |
50 |
56 |
71 |
50 |
5 |
8 |
80 |
63 |
M6×20 |
0.36 |
|||||||||||
|
HX-16 |
0.16 |
25 |
19 |
56 |
62 |
80 |
56 |
5 |
10 |
90 |
71 |
M6×20 |
0.48 |
|||||||||||
|
HX-25 |
0.25 |
28 |
28 |
67 |
73 |
90 |
67 |
6 |
12 |
100 |
80 |
M6×20 |
0.70 |
|||||||||||
|
HX-40 |
0.40 |
32 |
40 |
80 |
87 |
112 |
80 |
6 |
14 |
125 |
100 |
M10×30 |
1.34 |
|||||||||||
|
HX-63 |
0.63 |
40 |
50 |
90 |
99 |
125 |
90 |
6 |
16 |
140 |
112 |
M10×30 |
2.13 |
|||||||||||
|
HX-80 |
0.80 |
45 |
63 |
100 |
109 |
140 |
100 |
8 |
18 |
160 |
125 |
M12×35 |
2.70 |
|||||||||||
|
HX-100 |
1.00 |
50 |
75 |
112 |
122 |
160 |
112 |
8 |
20 |
180 |
140 |
M12×35 |
3.68 |
|||||||||||
|
HX-160 |
1.60 |
56 |
95 |
125 |
136 |
180 |
125 |
8 |
22 |
200 |
160 |
M16×40 |
5.00 |
|||||||||||
|
HX-250 |
2.50 |
63 |
118 |
140 |
153 |
200 |
140 |
8 |
25 |
224 |
180 |
M16×40 |
6.50 |
|||||||||||
|
HX-315 |
3.15 |
71 |
160 |
160 |
174 |
224 |
160 |
10 |
28 |
250 |
200 |
M16×45 |
9.18 |
|||||||||||
|
HX-400 |
4.00 |
80 |
200 |
180 |
194 |
250 |
180 |
10 |
32 |
280 |
224 |
M16×45 |
12.00 |
|||||||||||
|
HX-630 |
6.30 |
90 |
250 |
200 |
215 |
280 |
200 |
10 |
36 |
315 |
250 |
M20×50 |
16.18 |
|||||||||||
|
HX-1000 |
10.00 |
100 |
300 |
224 |
242 |
315 |
224 |
12 |
40 |
355 |
280 |
M20×50 |
25.00 |
|||||||||||
|
HX-1600 |
16.00 |
112 |
425 |
250 |
269 |
355 |
250 |
12 |
45 |
400 |
315 |
M20×50 |
34.00 |
|||||||||||
|
HX-2000 |
20.00 |
125 |
500 |
280 |
300 |
400 |
280 |
12 |
50 |
450 |
355 |
M20×50 |
48.20 |
|||||||||||
|
HX-2500 |
25.00 |
140 |
630 |
315 |
335 |
450 |
315 |
12 |
56 |
500 |
400 |
M20×50 |
64.80 |
|||||||||||
|
橡胶弹性体结构型式、尺寸及技术要求 |
||||||||||||||||||||||||
|
|
技术条件: (1) 在环境温度为-30~55℃时,缓冲器应能正常工作 (2) 橡胶弹性体不应与油、酸、碱及其他有害化学物品接触 (3) 橡胶弹性体选用的胶料,其物理机械性能应符合下列指标: 扯断强度大于等于18MPa 扯断伸长率大于等于450% 邵尔 A硬度67±3 扯断永久变形小于等于20% 热空气老化系数(70℃,72h)大于等于0.80 (4) 橡胶弹性体不得有离层、裂纹、海绵状、缺胶、欠硫等现象,其表面不应有气泡、明疤、凹痕等影响使用性能和美观的缺陷 |
|||||||||||||||||||||||
|
型 号 |
尺 寸 /mm |
质量/kg ≈ |
||||||||||||||||||||||
D |
d1 |
d2 |
H |
h |
r |
r1 |
r2 |
|||||||||||||||||
|
HX-10 |
50 |
52 |
63 |
50 |
5 |
63 |
3 |
2 |
0.14 |
|||||||||||||||
|
HX-16 |
56 |
58 |
71 |
56 |
6 |
71 |
4 |
2 |
0.20 |
|||||||||||||||
|
HX-25 |
67 |
69 |
80 |
67 |
7 |
80 |
5 |
2 |
0.33 |
|||||||||||||||
|
HX-40 |
80 |
83 |
100 |
80 |
8 |
100 |
6 |
2 |
0.56 |
|||||||||||||||
|
HX-63 |
90 |
93 |
112 |
90 |
10 |
112 |
7 |
3 |
0.80 |
|||||||||||||||
|
HX-80 |
100 |
103 |
125 |
100 |
12 |
125 |
8 |
3 |
1.12 |
|||||||||||||||
|
HX-100 |
112 |
116 |
140 |
112 |
14 |
140 |
9 |
3 |
1.59 |
|||||||||||||||
|
HX-160 |
125 |
130 |
160 |
125 |
16 |
160 |
10 |
3 |
2.23 |
|||||||||||||||
|
HX-250 |
140 |
145 |
180 |
140 |
18 |
180 |
12 |
4 |
3.20 |
|||||||||||||||
|
HX-315 |
160 |
166 |
200 |
160 |
20 |
200 |
14 |
4 |
4.60 |
|||||||||||||||
|
HX-400 |
180 |
186 |
224 |
180 |
22 |
224 |
16 |
4 |
6.56 |
|||||||||||||||
|
HX-630 |
200 |
207 |
250 |
200 |
25 |
250 |
18 |
4 |
7.74 |
|||||||||||||||
|
HX-1000 |
224 |
232 |
280 |
224 |
28 |
280 |
20 |
5 |
12.19 |
|||||||||||||||
|
HX-1600 |
250 |
259 |
315 |
250 |
32 |
315 |
22 |
5 |
17.72 |
|||||||||||||||
|
HX-2000 |
280 |
290 |
355 |
280 |
36 |
355 |
25 |
5 |
24.70 |
|||||||||||||||
|
HX-2500 |
315 |
325 |
400 |
315 |
40 |
400 |
28 |
5 |
34.96 |
|||||||||||||||
|
橡胶弹性体允许偏差/mm |
尺寸 |
≤10 |
>10~20 |
>20~30 |
>30~50 |
>50~80 |
>80~120 |
>120~180 |
>180~250 |
>250 |
||||||||||||||
|
允许 偏差 |
±0.50 |
±0.60 |
±0.80 |
±1.00 |
±1.20 |
±1.40 |
±1.80 |
±2.40 |
尺寸 的±1% |
|||||||||||||||



