|
HT3型端部安装式弹簧缓冲器(JB/T 8110.1—1999) |
||||||||||||||||
|
|
||||||||||||||||
|
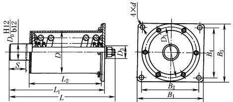
型号 |
缓冲容量 W /kN·m |
缓冲行程 S /mm |
缓冲力 Pj /kN |
主 要 尺 寸/ mm |
质量 /kg |
|||||||||||
L |
L1 |
L2 |
B1 |
B2 |
B3 |
B4 |
D0 |
D |
D1 |
D3 |
d |
|||||
|
HT3-630 |
6.3 |
150 |
88 |
885 |
810 |
615 |
420 |
350 |
375 |
305 |
90 |
245 |
305 |
105 |
35 |
≈145.8 |
|
HT3-800 |
8.0 |
143 |
108 |
900 |
820 |
620 |
520 |
450 |
380 |
310 |
110 |
273 |
345 |
135 |
35 |
≈176.9 |
|
HT3-1000 |
10.0 |
135 |
131 |
830 |
750 |
560 |
520 |
450 |
450 |
390 |
120 |
325 |
395 |
135 |
35 |
≈204.6 |
|
HT3-1250① |
12.5 |
135 |
165 |
830 |
750 |
560 |
520 |
450 |
450 |
390 |
120 |
325 |
395 |
135 |
42 |
≈231.3 |
|
HT3-1600② |
16.0 |
120 |
273 |
980 |
900 |
730 |
780 |
700 |
480 |
400 |
120 |
325 |
395 |
135 |
42 |
≈338.0 |
|
HT3-2000② |
20.0 |
150 |
293 |
1140 |
1050 |
820 |
780 |
700 |
480 |
400 |
120 |
325 |
395 |
135 |
42 |
≈393.8 |
|
① 由内外弹簧组成。 ② 内外弹簧由两段串联而成。 |
||||||||||||||||

