|
槽轮 |
|||
|
|
|||
|
mm |
|||
|
名 称 |
符号 |
计算公式 |
备 注 |
|
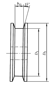
槽轮直径 |
D1 |
D1min①=5×p |
p——节 距 |
|
轮缘间宽 |
b13 |
b13min=1.05×b |
b——销轴长度见表板链式(链条)中表1、表2、及图中的b1~b7 |
|
轮缘直径 |
D2 |
D2min=D1+h1+d2 |
h1——链条通道高度 d2——销轴直径 |
|
①如经试验证明,也可采用更小的直径尺寸。 |
|||

