|
直线运动滚动功能部件主要类型及特点 |
||||
|
类 型 |
简 图 及 特 点 |
|||
|
滚 动 直 线 导 轨 副 |
1—滑块;2—导轨;3—滚珠 |
滚动体与圆弧沟槽相接触,与点接触相比承载能力大,刚性好 摩擦因数小,一般为0.002~0.005,仅为滑动导轨副的1/20~1/50,节省动力,可以承受上下左右四个方向的载荷。动、静摩擦差别很小 磨损小,寿命长,安装、维修、润滑简便。运动灵活、无冲击,在低速微量进给时,能很好地控制位置尺寸,不会发生空转打滑,并能实现超微米级精度的进给 |
||
|
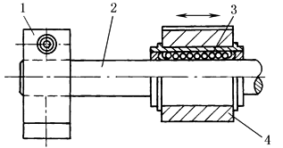
滚 动 直 线 导 套 副 |
1—导轨一端支承座;2—导轨轴;3—直线运动 球轴承(外购件);4—直线运动球轴承支座 |
摩擦因数小,只有0.001~0.004,节省动力。微量移动灵活、准确,低速时无蠕动爬行 精度高,行程长,移动速度快。具有自调整能力,可降低相配件加工精度。维修、润滑简便 导轨与导套呈圆柱形,造价低,但滚动体与轴呈点接触,承载能力较小,适用于精度要求较高、载荷较轻的场合 |
||
|
滚 动 花 键 副 |
1—花键套;2—保持架;3—花键轴;4—油孔; 5—载荷滚珠列;6—退出滚珠列;7—橡皮密封垫;8—键槽 |
摩擦阻力极小,摩擦因数在0.002~0.003之间,可进行高速旋转或直线往复运动(速度可达100m/min以上)。摩擦阻力几乎与运动速度无关,在低速微动往复运动时,不会出现爬行现象 可采用变换滚珠直径大小的办法施加预加载荷,消除正反转的间隙,以减少冲击和提高刚度及运动精度,承载能力高,寿命长,精度保持性好 |
||
|
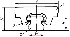
滚 动 导 轨 块 |
|
滚动体为圆柱滚子,承载能力大约为球轴承的10倍以上 摩擦因数小为0.005~0.01之间,且动静摩擦因数之差较小,对反复启动、停车、反向且频率较高机构可减少整机重量及动力消耗,无打滑 灵敏度高,低速微调时控制准确,无爬行,滚动时导向性好,可提高机械随动性及定位精度。润滑系统简单,装拆、调整方便 |
||




