|
圆柱滚子轴承 (GB/T 283—2007) |
|
|
|
|
|
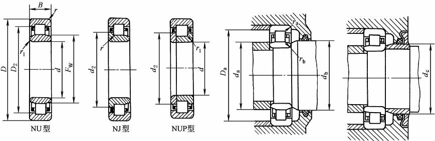
符号含义与应用: NU—内圈无挡边 NJ—内圈单挡边 NUP—内圈单挡边并带平挡圈 |
大多为单列,是可分离型,安装、拆卸比较方便,一般只能承受纯径向载荷,与相同尺寸的深沟球轴承相比,有较大承受径向载荷的能力,但要求轴和轴承座孔加工精度高,内、外圈轴线偏角误差允许2'~4',用于刚性较大的轴。允许轴向无挡边方向有不大的位移,内、外圈有挡边的一面可承受一定量的轴向载荷。NU型不能限制轴或外壳的轴向位移,不能承受轴向载荷,常用作游动支承,NJ常成对使用。 |
|
基本尺寸/mm |
基本额定 载荷/kN |
极限转速 /r·min-1 |
重量 /kg |
轴承代号 |
其他尺寸/mm |
安装尺寸/mm |
||||||||||||||||
|
d |
D |
B |
FW |
Cr |
C0r |
脂 |
油 |
W≈ |
NU型 |
NJ型 |
NUP型 |
d2 |
D2 |
r min |
r1 min |
da max |
da min |
db min |
dc min |
Da max |
ra max |
rb max |
|
65 |
100 |
18 |
74.5 |
39 |
46.5 |
4800 |
6000 |
0.51 |
NU 1013 |
NJ 1013 |
— |
— |
86.6 |
1.1 |
1 |
73 |
70 |
76 |
— |
93.5 |
1.1 |
1 |
|
120 |
23 |
78.5 |
102 |
118 |
4500 |
5600 |
1.08 |
NU 213 E |
NJ 213 E |
NUP 213 E |
84.6 |
104 |
1.5 |
1.5 |
77 |
73 |
81 |
87 |
112 |
1.5 |
1.5 |
|
|
|
120 |
23 |
79.6 |
|
|
|
|
|
NU 213 |
NJ 213 |
NUP 213 |
|
|
1.5 |
1.5 |
|
|
|
|
|
1.5 |
1.5 |
|
120 |
31 |
78.5 |
142 |
180 |
4500 |
5600 |
1.48 |
NU 2213 E |
NJ 2213 E |
NUP2213 E |
84.6 |
104 |
1.5 |
1.5 |
77 |
73 |
81 |
87 |
112 |
1.5 |
1.5 |
|
|
|
120 |
31 |
79.6 |
|
|
|
|
|
NU 2213 |
NJ 2213 |
NUP 2213 |
|
|
1.5 |
1.5 |
|
|
|
|
|
1.5 |
1.5 |
|
140 |
33 |
82.5 |
170 |
188 |
4000 |
5000 |
2.31 |
NU 313 E |
NJ 313 E |
NUP 313 E |
90.6 |
118.8 |
2.1 |
2.1 |
81 |
76 |
85 |
93 |
129 |
2.1 |
2.1 |
|
|
|
140 |
33 |
83.5 |
|
|
|
|
|
NU 313 |
NJ 313 |
NUP 313 |
|
|
2.1 |
2.1 |
|
|
|
|
|
2.1 |
2.1 |
|
140 |
48 |
82.5 |
235 |
285 |
4000 |
5000 |
3.34 |
NU 2313 E |
NJ 2313 E |
NUP 2313 E |
90.6 |
118.8 |
2.1 |
2.1 |
81 |
76 |
85 |
93 |
129 |
2.1 |
2.1 |
|
|
|
140 |
48 |
83.5 |
|
|
|
|
|
NU 2313 |
NJ 2313 |
NUP 2313 |
|
|
2.1 |
2.1 |
|
|
|
|
|
2.1 |
2.1 |
|
160 |
37 |
89.5 |
170 |
178 |
3800 |
4800 |
4 |
NU 413 |
NJ 413 |
NUP 413 |
98.5 |
124 |
2.1 |
2.1 |
88 |
76 |
91 |
100 |
149 |
2.1 |
2.1 |
|
|
70 |
110 |
20 |
80 |
47.5 |
57.0 |
4800 |
6000 |
0.71 |
NU 1014 |
NJ 1014 |
— |
— |
95.4 |
1.1 |
1 |
78 |
75 |
82 |
— |
103.5 |
1.1 |
1 |
|
125 |
24 |
83.5 |
112 |
135 |
4300 |
5300 |
1.2 |
NU 214 E |
NJ 214 E |
NUP 214 E |
89.6 |
109 |
1.5 |
1.5 |
82 |
78 |
86 |
92 |
117 |
1.5 |
1.5 |
|
|
|
125 |
24 |
84.5 |
|
|
|
|
|
NU 214 |
NJ 214 |
NUP 214 |
|
|
1.5 |
1.5 |
|
|
|
|
|
1.5 |
1.5 |
|
125 |
31 |
83.5 |
148 |
192 |
4300 |
5300 |
1.56 |
NU 2214 E |
NJ 2214 E |
NUP 2214 E |
89.6 |
109 |
1.5 |
1.5 |
82 |
78 |
86 |
92 |
117 |
1.5 |
1.5 |
|
|
|
125 |
31 |
84.5 |
|
|
|
|
|
NU 2214 |
NJ 2214 |
NUP 2214 |
|
|
1.5 |
1.5 |
|
|
|
|
|
1.5 |
1.5 |
|
150 |
35 |
89 |
195 |
220 |
3800 |
4800 |
2.86 |
NU 314 E |
NJ 314 E |
NUP 314 E |
97.5 |
127 |
2.1 |
2.1 |
87 |
81 |
92 |
100 |
139 |
2.1 |
2.1 |
|
|
|
150 |
35 |
90 |
|
|
|
|
|
NU 314 |
NJ 314 |
NUP 314 |
|
|
2.1 |
2.1 |
|
|
|
|
|
2.1 |
2.1 |
|
150 |
51 |
89 |
260 |
320 |
3800 |
4800 |
4.1 |
NU 2314 E |
NJ 2314 E |
NUP 2314 E |
97.5 |
127 |
2.1 |
2.1 |
87 |
81 |
92 |
100 |
139 |
2.1 |
2.1 |
|
|
|
150 |
51 |
90 |
|
|
|
|
|
NU 2314 |
NJ 2314 |
NUP 2314 |
|
|
2.1 |
2.1 |
|
|
|
|
|
2.1 |
2.1 |
|
180 |
42 |
100 |
215 |
232 |
3400 |
4300 |
5.9 |
NU 414 |
NJ 414 |
NUP 414 |
110 |
139 |
3 |
3 |
99 |
83 |
102 |
112 |
167 |
3 |
3 |
|
|
75 |
115 |
20 |
85 |
51.5 |
61.2 |
4500 |
5600 |
0.74 |
NU 1015 |
NJ 1015 |
— |
— |
101 |
1.1 |
1 |
83 |
80 |
87 |
— |
108.5 |
1.1 |
1 |
|
130 |
25 |
88.5 |
125 |
155 |
4000 |
5000 |
1.32 |
NU 215 E |
NJ 215 E |
NUP 215 E |
94.6 |
114 |
1.5 |
1.5 |
87 |
83 |
90 |
96 |
122 |
1.5 |
1.5 |
|
|
|
130 |
25 |
88.5 |
|
|
|
|
|
NU 215 |
NJ 215 |
NUP 215 |
|
|
1.5 |
1.5 |
|
|
|
|
|
1.5 |
1.5 |
|
130 |
31 |
88.5 |
155 |
205 |
4000 |
5000 |
1.64 |
NU 2215 E |
NJ 2215 E |
NUP 2215 E |
94.6 |
114 |
1.5 |
1.5 |
87 |
83 |
90 |
96 |
122 |
1.5 |
1.5 |
|
|
|
130 |
31 |
88.5 |
|
|
|
|
|
NU 2215 |
NJ 2215 |
NUP 2215 |
|
|
1.5 |
1.5 |
|
|
|
|
|
1.5 |
1.5 |
|
160 |
37 |
95 |
228 |
260 |
3600 |
4500 |
3.43 |
NU 315 E |
NJ 315 E |
NUP 315 E |
104.2 |
136.5 |
2.1 |
2.1 |
93 |
86 |
97 |
106 |
149 |
2.1 |
2.1 |
|
|
|
160 |
37 |
95.5 |
|
|
|
|
|
NU 315 |
NJ 315 |
NUP 315 |
|
|
2.1 |
2.1 |
|
|
|
|
|
2.1 |
2.1 |
|
|
160 |
55 |
95 |
|
|
|
|
|
NU 2315E |
NJ 2315E |
NUP 2315E |
|
|
2.1 |
2.1 |
|
|
|
|
|
2.1 |
2.1 |
|
160 |
55 |
95.5 |
245 |
308 |
3600 |
4500 |
5.4 |
NU 2315 |
NJ 2315 |
NUP 2315 |
104 |
129 |
2.1 |
2.1 |
93 |
86 |
98 |
107 |
149 |
2.1 |
2.1 |
|
|
190 |
45 |
104.5 |
250 |
272 |
3200 |
4000 |
7.1 |
NU 415 |
NJ 415 |
NUP 415 |
116 |
147 |
3 |
3 |
103 |
88 |
107 |
118 |
177 |
3 |
3 |
|
|
80 |
125 |
22 |
91.5 |
59.2 |
77.8 |
4300 |
5300 |
1 |
NU 1016 |
NJ 1016 |
— |
— |
109 |
1.1 |
1 |
90 |
85 |
94 |
— |
118.5 |
1.1 |
1 |
|
140 |
26 |
95.3 |
132 |
165 |
3800 |
4800 |
1.58 |
NU 216 E |
NJ 216 E |
NUP 216 E |
101.1 |
123.1 |
2 |
2 |
94 |
89 |
97 |
104 |
131 |
2 |
2 |
|
|
|
140 |
26 |
95.3 |
|
|
|
|
|
NU 216 |
NJ 216 |
NUP 216 |
|
|
2 |
2 |
|
|
|
|
|
2 |
2 |
|
140 |
33 |
95.3 |
178 |
242 |
3800 |
4800 |
2.05 |
NU 2216 E |
NJ 2216 E |
NUP 2216 E |
101.1 |
123.1 |
2 |
2 |
94 |
89 |
97 |
104 |
131 |
2 |
2 |
|
|
|
140 |
33 |
95.3 |
|
|
|
|
|
NU 2216 |
NJ 2216 |
NUP 2216 |
|
|
2 |
2 |
|
|
|
|
|
2 |
2 |
|
170 |
39 |
101 |
245 |
282 |
3400 |
4300 |
4.05 |
NU 316 E |
NJ 316 E |
NUP 316 E |
110.1 |
144.2 |
2.1 |
2.1 |
99 |
91 |
105 |
114 |
159 |
2.1 |
2.1 |
|
|
|
170 |
39 |
103 |
|
|
|
|
|
NU 316 |
NJ 316 |
NUP 316 |
|
|
2.1 |
2.1 |
|
|
|
|
|
2.1 |
2.1 |
|
|
170 |
58 |
101 |
|
|
|
|
|
NU 2316E |
NJ 2316E |
NUP 2316E |
|
|
2.1 |
2.1 |
|
|
|
|
|
2.1 |
2.1 |
|
170 |
58 |
103 |
258 |
328 |
3400 |
4300 |
6.4 |
NU 2316 |
NJ 2316 |
NUP 2316 |
111 |
136 |
2.1 |
2.1 |
99 |
91 |
106 |
114 |
159 |
2.1 |
2.1 |
|
|
200 |
48 |
110 |
285 |
315 |
3000 |
3800 |
8.3 |
NU 416 |
NJ 416 |
NUP 416 |
122 |
156 |
3 |
3 |
109 |
93 |
112 |
124 |
187 |
3 |
3 |
|
|
85 |
130 |
22 |
96.5 |
64.5 |
81.6 |
4000 |
5000 |
1.05 |
NU 1017 |
NJ 1017 |
— |
— |
114 |
1.1 |
1 |
95 |
90 |
99 |
— |
123.5 |
1.1 |
1 |
|
150 |
28 |
100.5 |
158 |
192 |
3600 |
4500 |
2 |
NU 217 E |
NJ 217 E |
NUP 217 E |
107.1 |
131.7 |
2 |
2 |
99 |
94 |
104 |
110 |
141 |
2 |
2 |
|
|
|
150 |
28 |
101.8 |
|
|
|
|
|
NU 217 |
NJ 217 |
NUP 217 |
|
|
2 |
2 |
|
|
|
|
|
2 |
2 |
|
150 |
36 |
100.5 |
205 |
272 |
3600 |
4500 |
2.58 |
NU 2217 E |
NJ 2217 E |
NUP 2217 E |
107.1 |
131.7 |
2 |
2 |
99 |
94 |
104 |
110 |
141 |
2 |
2 |
|
|
|
150 |
36 |
101.8 |
|
|
|
|
|
NU 2217 |
NJ 2217 |
NUP 2217 |
|
|
2 |
2 |
|
|
|
|
|
2 |
2 |
|
180 |
41 |
108 |
280 |
332 |
3200 |
4000 |
4.82 |
NU 317 E |
NJ 317 E |
NUP 317 E |
117.4 |
153 |
3 |
3 |
106 |
98 |
110 |
119 |
167 |
3 |
3 |
|
|
|
180 |
41 |
108 |
|
|
|
|
|
NU 317 |
NJ 317 |
NUP 317 |
|
|
3 |
3 |
|
|
|
|
|
3 |
3 |
|
|
180 |
60 |
108 |
|
|
|
|
|
NU 2317E |
NJ 2317E |
NUP 2317E |
|
|
3 |
3 |
|
|
|
|
|
3 |
3 |
|
180 |
60 |
108 |
295 |
380 |
3200 |
4000 |
7.4 |
NU 2317 |
NJ 2317 |
NUP 2317 |
117 |
144 |
3 |
3 |
106 |
98 |
111 |
120 |
167 |
3 |
3 |
|
|
210 |
52 |
113 |
312 |
345 |
2800 |
3600 |
9.8 |
NU 417 |
NJ 417 |
NUP 417 |
126 |
162 |
4 |
4 |
111 |
101 |
115 |
128 |
194 |
4 |
4 |
|
|
90 |
140 |
24 |
103 |
74.0 |
94.8 |
3800 |
4800 |
1.36 |
NU 1018 |
NJ 1018 |
— |
— |
122 |
1.5 |
1.1 |
101 |
96.5 |
106 |
— |
132 |
1.5 |
1.1 |
|
160 |
30 |
107 |
172 |
215 |
3400 |
4300 |
2.44 |
NU 218 E |
NJ 218 E |
NUP 218 E |
113.9 |
140 |
2 |
2 |
105 |
99 |
109 |
116 |
151 |
2 |
2 |
|
|
|
160 |
30 |
107 |
|
|
|
|
|
NU 218 |
NJ 218 |
NUP 218 |
|
|
2 |
2 |
|
|
|
|
|
2 |
2 |
|
160 |
40 |
107 |
230 |
312 |
3400 |
4300 |
3.26 |
NU 2218 E |
NJ 2218 E |
NUP 2218 E |
113.9 |
140 |
2 |
2 |
105 |
99 |
109 |
116 |
151 |
2 |
2 |
|
|
|
160 |
40 |
107 |
|
|
|
|
|
NU 2218 |
NJ 2218 |
NUP 2218 |
|
|
2 |
2 |
|
|
|
|
|
2 |
2 |
|
190 |
43 |
113.5 |
298 |
348 |
3000 |
3800 |
5.59 |
NU 318 E |
NJ 318 E |
NUP 318 E |
123.7 |
161.9 |
3 |
3 |
111 |
103 |
117 |
127 |
177 |
3 |
3 |
|
|
|
190 |
43 |
115 |
|
|
|
|
|
NU 318 |
NJ 318 |
NUP 318 |
|
|
3 |
3 |
|
|
|
|
|
3 |
3 |
|
|
190 |
64 |
113.5 |
|
|
|
|
|
NU 2318E |
NJ 2318E |
NUP 2318E |
|
|
3 |
3 |
|
|
|
|
|
3 |
3 |
|
190 |
64 |
115 |
310 |
395 |
3000 |
3800 |
8.4 |
NU 2318 |
NJ 2318 |
NUP 2318 |
125 |
153 |
3 |
3 |
111 |
103 |
118 |
128 |
177 |
3 |
3 |
|
|
225 |
54 |
123.5 |
352 |
392 |
2400 |
3200 |
11 |
NU 418 |
NJ 418 |
NUP 418 |
137 |
175 |
4 |
4 |
122 |
106 |
125 |
139 |
209 |
4 |
4 |
|
|
95 |
145 |
24 |
108 |
75.5 |
98.5 |
3600 |
4500 |
1.4 |
NU 1019 |
NJ 1019 |
— |
— |
127 |
1.5 |
1.1 |
106 |
101.5 |
111 |
— |
137 |
1.5 |
1.1 |
|
170 |
32 |
112.5 |
208 |
262 |
3200 |
4000 |
2.96 |
NU 219 E |
NJ 219 E |
NUP 219 E |
120.2 |
148.9 |
2.1 |
2.1 |
111 |
106 |
116 |
123 |
159 |
2.1 |
2.1 |
|
|
|
170 |
32 |
113.5 |
|
|
|
|
|
NU 219 |
NJ 219 |
NUP 219 |
|
|
2.1 |
2.1 |
|
|
|
|
|
2.1 |
2.1 |
|
170 |
43 |
112.5 |
275 |
368 |
3200 |
4000 |
3.97 |
NU 2219 E |
NJ 2219 E |
NUP 2219 E |
120.2 |
148.9 |
2.1 |
2.1 |
111 |
106 |
116 |
123 |
159 |
2.1 |
2.1 |
|
|
|
170 |
43 |
113.5 |
|
|
|
|
|
NU 2219 |
NJ 2219 |
NUP 2219 |
|
|
2.1 |
2.1 |
|
|
|
|
|
2.1 |
2.1 |
|
|
200 |
45 |
121.5 |
|
|
|
|
|
NU 319 E |
NJ 319 E |
NUP 319E |
|
|
3 |
3 |
|
|
|
|
|
3 |
3 |
|
200 |
45 |
121.5 |
315 |
380 |
2800 |
3600 |
6.52 |
NU 319 |
NJ 319 E |
NUP 319 E |
131.7 |
169.9 |
3 |
3 |
119 |
108 |
124 |
134 |
187 |
3 |
3 |
|
|
200 |
67 |
121.5 |
370 |
500 |
2800 |
3600 |
10.4 |
NU 2319 E |
NJ 2319 E |
NUP 2319 E |
132 |
161 |
3 |
3 |
119 |
108 |
124 |
135 |
187 |
3 |
3 |
|
|
|
200 |
67 |
121.5 |
|
|
|
|
|
NU 2319 |
NJ 2319 |
NUP 2319 |
|
|
3 |
3 |
|
|
|
|
|
3 |
3 |
|
240 |
55 |
133.5 |
378 |
428 |
2200 |
3000 |
14 |
NU 419 |
NJ 419 |
NUP 419 |
147 |
185 |
4 |
4 |
132 |
111 |
136 |
149 |
224 |
4 |
4 |
|
|
100 |
150 |
24 |
113 |
78.0 |
102 |
3400 |
4300 |
1.5 |
NU 1020 |
— |
— |
— |
132 |
1.5 |
1.1 |
111 |
106.5 |
116 |
— |
142 |
1.5 |
1.1 |
|
180 |
34 |
119 |
235 |
302 |
3000 |
3800 |
3.58 |
NU 220 E |
NJ 220 E |
NUP 220 E |
127 |
157.2 |
2.1 |
2.1 |
117 |
111 |
122 |
130 |
169 |
2.1 |
2.1 |
|
|
|
180 |
34 |
120 |
|
|
|
|
|
NU 220 |
NJ 220 |
NUP 220 |
|
|
2.1 |
2.1 |
|
|
|
|
|
2.1 |
2.1 |
|
180 |
46 |
119 |
318 |
440 |
3000 |
3800 |
4.86 |
NU 2220 E |
NJ 2220 E |
NUP 2220 E |
127 |
157.2 |
2.1 |
2.1 |
117 |
111 |
122 |
130 |
169 |
2.1 |
2.1 |
|
|
|
180 |
46 |
120 |
|
|
|
|
|
NU 2220 |
NJ 2220 |
NUP 2220 |
|
|
2.1 |
2.1 |
|
|
|
|
|
2.1 |
2.1 |
|
215 |
47 |
127.5 |
365 |
425 |
2600 |
3200 |
7.89 |
NU 320 E |
NJ 320 E |
NUP 320 E |
139.1 |
182.3 |
3 |
3 |
125 |
113 |
132 |
143 |
202 |
3 |
3 |
|
|
|
215 |
47 |
129.5 |
|
|
|
|
|
NU 320 |
NJ 320 |
NUP 320 |
|
|
3 |
3 |
|
|
|
|
|
3 |
3 |
|
|
215 |
73 |
127.5 |
|
|
|
|
|
NU 2320 E |
NJ 2320 E |
NUP 2320 E |
|
|
3 |
3 |
|
|
|
|
|
3 |
3 |
|
215 |
73 |
129.5 |
415 |
558 |
2600 |
3200 |
13.5 |
NU 2320 |
NJ 2320 |
NUP 2320 |
140 |
172 |
3 |
3 |
125 |
113 |
132 |
143 |
202 |
3 |
3 |
|
|
250 |
58 |
139 |
418 |
480 |
2000 |
2800 |
16 |
NU 420 |
NJ 420 |
NUP 420 |
153 |
194 |
4 |
4 |
137 |
116 |
141 |
156 |
234 |
4 |
4 |
|
|
105 |
160 |
26 |
119.5 |
91.5 |
122 |
3200 |
4000 |
1.9 |
NU 1021 |
— |
— |
— |
140 |
2 |
1.1 |
118 |
112 |
122 |
— |
151 |
2 |
1.1 |
|
|
190 |
36 |
125 |
|
|
|
|
|
NU 221E |
NJ 221E |
NUP 221E |
|
|
2.1 |
2.1 |
|
|
|
|
|
2.1 |
2.1 |
|
190 |
36 |
126.8 |
185 |
235 |
2800 |
3600 |
4 |
NU 221 |
NJ 221 |
NUP 221 |
135 |
159 |
2.1 |
2.1 |
124 |
116 |
129 |
137 |
179 |
2.1 |
2.1 |
|
|
225 |
49 |
135 |
322 |
392 |
2200 |
3000 |
— |
NU 321 |
NJ 321 |
NUP 321 |
147 |
181 |
3 |
3 |
132 |
118 |
137 |
149 |
212 |
3 |
3 |
|
|
260 |
60 |
144.5 |
508 |
602 |
1900 |
2600 |
— |
NU 421 |
NJ 421 |
NUP 421 |
159 |
202 |
4 |
4 |
143 |
121 |
147 |
162 |
244 |
4 |
4 |
|
|
|
225 |
49 |
133 |
|
|
|
|
|
NU 321E |
NJ 321E |
NUP 321E |
|
|
3 |
3 |
|
|
|
|
|
3 |
3 |
|
|
225 |
49 |
135 |
|
|
|
|
|
NU 321 |
NJ 321 |
NUP 321 |
|
|
3 |
3 |
|
|
|
|
|
3 |
3 |
|
110 |
170 |
28 |
125 |
115 |
155 |
3000 |
3800 |
2.3 |
NU 1022 |
— |
— |
131 |
149 |
2 |
1.1 |
124 |
116.5 |
128 |
— |
161 |
2 |
1.1 |
|
200 |
38 |
132.5 |
278 |
360 |
2600 |
3400 |
5.02 |
NU 222 E |
NJ 222 E |
NUP 222 E |
141.3 |
174.1 |
2.1 |
2.1 |
130 |
121 |
135 |
144 |
189 |
2.1 |
2.1 |
|
|
|
200 |
38 |
132.5 |
|
|
|
|
|
NU 222 |
NJ 222 |
NUP 222 |
|
|
2.1 |
2.1 |
|
|
|
|
|
2.1 |
2.1 |
|
200 |
53 |
132.5 |
312 |
445 |
2600 |
3400 |
7.5 |
NU 2222 |
NJ 2222 |
NUP 2222 |
141 |
167 |
2.1 |
2.1 |
130 |
121 |
135 |
144 |
189 |
2.1 |
2.1 |
|
|
240 |
50 |
143 |
352 |
428 |
2000 |
2800 |
11 |
NU 322 |
NJ 322 |
NUP 322 |
155 |
192 |
3 |
3 |
140 |
123 |
145 |
158 |
227 |
3 |
3 |
|
|
240 |
80 |
143 |
535 |
740 |
2000 |
2800 |
17.5 |
NU 2322 |
NJ 2322 |
NUP 2322 |
155 |
201 |
3 |
3 |
140 |
123 |
145 |
158 |
227 |
3 |
3 |
|
|
280 |
65 |
155 |
515 |
602 |
1800 |
2400 |
22 |
NU 422 |
NJ 422 |
NUP 422 |
171 |
216 |
4 |
4 |
153 |
126 |
157 |
173 |
264 |
4 |
4 |
|
|
|
240 |
50 |
143 |
|
|
|
|
|
NU 322E |
NJ 322E |
NUP 322E |
|
|
3 |
3 |
|
|
|
|
|
3 |
3 |
|
|
200 |
53 |
132.5 |
|
|
|
|
|
NU 2222E |
NJ 2222E |
NUP 2222E |
|
|
2.1 |
2.1 |
|
|
|
|
|
2.1 |
2.1 |
|
|
240 |
80 |
143 |
|
|
|
|
|
NU 2322E |
NJ 2322E |
NUP 2322E |
|
|
3 |
3 |
|
|
|
|
|
3 |
3 |
|
注:重量以 NJ 型为主。 |
||||||||||||||||||||||

