|
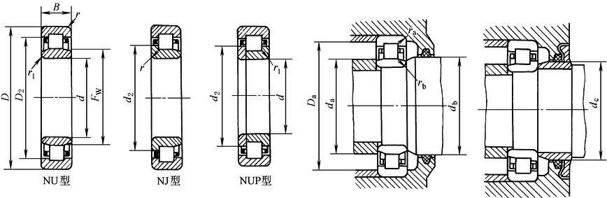
圆柱滚子轴承(GB/T 283—2007) |
|
|
|
|
|
符号含义与应用: NU—内圈无挡边 NJ—内圈单挡边 NUP—内圈单挡边并带平挡圈 |
大多为单列,是可分离型,安装、拆卸比较方便,一般只能承受纯径向载荷,与相同尺寸的深沟球轴承相比,有较大承受径向载荷的能力,但要求轴和轴承座孔加工精度高,内、外圈轴线偏角误差允许2'~4',用于刚性较大的轴。允许轴向无挡边方向有不大的位移,内、外圈有挡边的一面可承受一定量的轴向载荷。NU型不能限制轴或外壳的轴向位移,不能承受轴向载荷,常用作游动支承,NJ常成对使用。 |
|
基本尺寸/mm |
基本额定 载荷/kN |
极限转速 /r·min-1 |
重量 /kg |
轴承代号 |
其他尺寸/mm |
安装尺寸/mm |
||||||||||||||||
|
d |
D |
B |
FW |
Cr |
C0r |
脂 |
油 |
W≈ |
NU型 |
NJ型 |
NUP型 |
d2 |
D2 |
r min |
r1 min |
da max |
da min |
db min |
dc min |
Da max |
ra max |
rb max |
|
15 |
35 |
11 |
20 |
7.98 |
5.5 |
15000 |
19000 |
— |
NU 202 |
NJ 202 |
— |
22 |
26.4 |
0.6 |
0.3 |
— |
17 |
21 |
23 |
31 |
0.6 |
0.3 |
|
|
35 |
11 |
19.3 |
|
|
|
|
|
NU 202E |
NJ 202E |
— |
|
|
0.6 |
0.3 |
|
|
|
|
|
0.6 |
0.3 |
|
17 |
40 |
12 |
22.9 |
9.12 |
7.0 |
14000 |
18000 |
— |
NU 203 |
NJ 203 |
NUP 203 |
25.5 |
30.9 |
0.6 |
0.3 |
— |
19 |
24 |
27 |
36 |
0.6 |
0.3 |
|
|
40 |
12 |
22.1 |
|
|
|
|
|
NU 203E |
NJ 203E |
|
|
|
0.6 |
0.3 |
|
|
|
|
|
0.6 |
0.3 |
|
|
47 |
14 |
24.2 |
|
|
|
|
|
NU 303E |
NJ 303E |
|
|
|
1 |
0.6 |
|
|
|
|
|
1 |
0.6 |
|
20 |
47 |
14 |
26.5 |
25.8 |
24.0 |
12000 |
16000 |
0.117 |
NU 204 E |
NJ 204 E |
NUP 204 E |
29.7 |
38.5 |
1 |
0.6 |
26 |
24 |
29 |
32 |
42 |
1 |
0.6 |
|
47 |
14 |
27 |
|
|
|
|
|
NU 204 |
NJ 204 |
NUP 204 |
|
|
1 |
0.6 |
|
|
|
|
|
1 |
0.6 |
|
|
|
47 |
18 |
26.5 |
30.8 |
30.0 |
12000 |
16000 |
0.149 |
NU 2204 E |
NJ 2204 E |
NUP 2204 E |
29.7 |
38.5 |
1 |
0.6 |
26 |
24 |
29 |
32 |
42 |
1 |
0.6 |
|
|
47 |
18 |
27 |
|
|
|
|
|
NU 2204 |
NJ 2204 |
NUP 2204 |
|
|
1 |
0.6 |
|
|
|
|
|
1 |
0.6 |
|
52 |
15 |
27.5 |
29.0 |
25.5 |
11000 |
15000 |
0.155 |
NU 304 E |
NJ 304 E |
NUP 304 E |
31.2 |
42.3 |
1.1 |
0.6 |
27 |
24 |
30 |
33 |
45.5 |
1.1 |
0.6 |
|
|
|
52 |
15 |
28.5 |
|
|
|
|
|
NU 304 |
NJ 304 |
NUP 304 |
|
|
1.1 |
0.6 |
|
|
|
|
|
1.1 |
0.6 |
|
52 |
21 |
27.5 |
39.2 |
37.5 |
10000 |
14000 |
0.216 |
NU 2304 E |
NJ 2304 E |
NUP 2304 E |
29.7 |
38.5 |
1.1 |
0.6 |
27 |
24 |
30 |
33 |
45.5 |
1.1 |
0.6 |
|
|
|
52 |
21 |
28.5 |
|
|
|
|
|
NU 2304 |
NJ 2304 |
NUP 2304 |
|
|
1.1 |
0.6 |
|
|
|
|
|
1.1 |
0.6 |
|
25 |
47 |
12 |
30.5 |
11.0 |
10.2 |
11000 |
15000 |
0.1 |
NU 1005 |
— |
— |
— |
38.8 |
0.6 |
0.3 |
30 |
27 |
32 |
— |
43 |
0.6 |
0.3 |
|
52 |
15 |
31.5 |
27.5 |
26.8 |
11000 |
14000 |
0.14 |
NU 205 E |
NJ 205 E |
NUP 205 E |
34.7 |
43.5 |
1 |
0.6 |
31 |
29 |
34 |
37 |
47 |
1 |
0.6 |
|
|
|
52 |
15 |
32 |
|
|
|
|
|
NU 205 |
NJ 205 |
NUP 205 |
|
|
1 |
0.6 |
|
|
|
|
|
1 |
0.6 |
|
52 |
18 |
31.5 |
32.8 |
33.8 |
11000 |
14000 |
0.168 |
NU 2205 E |
NJ 2205 E |
NUP 2205 E |
34.7 |
43.5 |
1 |
0.6 |
31 |
29 |
34 |
37 |
47 |
1 |
0.6 |
|
|
|
52 |
18 |
32 |
|
|
|
|
|
NU 2205 |
NJ 2205 |
NUP 2205 |
|
|
1 |
0.6 |
|
|
|
|
|
1 |
0.6 |
|
62 |
17 |
34 |
38.5 |
35.8 |
9000 |
12000 |
0.251 |
NU 305 E |
NJ 305 E |
NUP 305 E |
38.1 |
50.4 |
1.1 |
1.1 |
33 |
31.5 |
37 |
40 |
55.5 |
1.1 |
1.1 |
|
|
|
62 |
17 |
35 |
|
|
|
|
|
NU 305 |
NJ 305 |
NUP 305 |
|
|
1.1 |
1.1 |
|
|
|
|
|
1.1 |
1.1 |
|
62 |
24 |
34 |
53.2 |
54.5 |
9000 |
12000 |
0.355 |
NU 2305 E |
NJ 2305 E |
NUP 2305 E |
38.1 |
50.4 |
1.1 |
1.1 |
33 |
31.5 |
37 |
40 |
55.5 |
1.1 |
1.1 |
|
|
|
62 |
24 |
35 |
|
|
|
|
|
NU 2305 |
NJ 2305 |
NUP 2305 |
|
|
1.1 |
1.1 |
|
|
|
|
|
1.1 |
1.1 |
|
30 |
55 |
13 |
36.5 |
13.0 |
12.8 |
9500 |
12000 |
0.12 |
NU 1006 |
— |
— |
— |
45.6 |
1 |
0.6 |
35 |
34 |
38 |
— |
50 |
1 |
0.6 |
|
62 |
16 |
37.5 |
36.0 |
35.5 |
8500 |
11000 |
0.214 |
NU 206 E |
NJ 206 E |
NUP 206 E |
41.3 |
52.3 |
1 |
0.6 |
37 |
34 |
40 |
44 |
57 |
1 |
0.6 |
|
|
|
62 |
16 |
38.5 |
|
|
|
|
|
NU 206 |
NJ 206 |
NUP 206 |
|
|
1 |
0.6 |
|
|
|
|
|
1 |
0.6 |
|
62 |
20 |
37.5 |
45.5 |
48.0 |
8500 |
11000 |
0.268 |
NU 2206 E |
NJ 2206 E |
NUP 2206 E |
41.3 |
52.3 |
1 |
0.6 |
37 |
34 |
40 |
44 |
57 |
1 |
0.6 |
|
|
|
62 |
20 |
38.5 |
|
|
|
|
|
NU 2206 |
NJ 2206 |
NUP 2206 |
|
|
1 |
0.6 |
|
|
|
|
|
1 |
0.6 |
|
72 |
19 |
40.5 |
49.2 |
48.2 |
8000 |
10000 |
0.377 |
NU 306 E |
NJ 306 E |
NUP 306 E |
45 |
58.6 |
1.1 |
1.1 |
40 |
36.5 |
44 |
48 |
65.5 |
1.1 |
1.1 |
|
|
|
72 |
19 |
42 |
|
|
|
|
|
NU 306 |
NJ 306 |
NUP 306 |
|
|
1.1 |
1.1 |
|
|
|
|
|
1.1 |
1.1 |
|
72 |
27 |
40.5 |
70.0 |
75.5 |
8000 |
10000 |
0.538 |
NU 2306 E |
NJ 2306 E |
NUP 2306 E |
45 |
58.6 |
1.1 |
1.1 |
40 |
36.5 |
44 |
48 |
65.5 |
1.1 |
1.1 |
|
|
|
72 |
27 |
42 |
|
|
|
|
|
NU 2306 |
NJ 2306 |
NUP 2306 |
|
|
1.1 |
1.1 |
|
|
|
|
|
1.1 |
1.1 |
|
90 |
23 |
45 |
57.2 |
53.0 |
7000 |
9000 |
0.73 |
NU 406 |
NJ 406 |
NUP 406 |
50.5 |
65.8 |
1.5 |
1.5 |
44 |
38 |
47 |
52 |
82 |
1.5 |
1.5 |
|
|
35 |
62 |
14 |
42 |
19.5 |
18.8 |
8500 |
11000 |
0.16 |
NU 1007 |
— |
— |
— |
54.5 |
1 |
0.6 |
41 |
39 |
44 |
— |
57 |
1 |
0.6 |
|
72 |
17 |
44 |
46.5 |
48.0 |
7500 |
9500 |
0.311 |
NU 207 E |
NJ 207 E |
NUP 207 E |
48.3 |
60.5 |
1.1 |
0.6 |
43 |
39 |
46 |
50 |
65.5 |
1.1 |
0.6 |
|
|
|
72 |
17 |
45 |
|
|
|
|
|
NU 207 |
NJ 207 |
NUP 207 |
|
|
1.1 |
0.6 |
|
|
|
|
|
1.1 |
0.6 |
|
|
72 |
23 |
43.8 |
|
|
|
|
|
NU 2207 |
NJ 2207 |
NUP 2207 |
|
|
1.1 |
0.6 |
|
|
|
|
|
1.1 |
0.6 |
|
72 |
23 |
44 |
57.5 |
63.0 |
7500 |
9500 |
0.414 |
NU 2207 E |
NJ 2207 E |
NUP 2207 E |
48.3 |
60.5 |
1.1 |
0.6 |
43 |
39 |
46 |
50 |
65.5 |
1.1 |
0.6 |
|
|
80 |
21 |
46.2 |
62.0 |
63.2 |
7000 |
9000 |
0.501 |
NU 307 E |
NJ 307 E |
NUP 307 E |
51.1 |
66.3 |
1.5 |
1.1 |
45 |
41.5 |
48 |
53 |
72 |
1.5 |
1.1 |
|
|
|
80 |
21 |
46.2 |
|
|
|
|
|
NU 307 |
NJ 307 |
NUP 307 |
|
|
1.5 |
1.1 |
|
|
|
|
|
1.5 |
1.1 |
|
80 |
31 |
46.2 |
87.5 |
98.2 |
7000 |
9000 |
0.738 |
NU 2307 E |
NJ 2307 E |
NUP 2307 E |
51.1 |
66.3 |
1.5 |
1.1 |
45 |
41.5 |
48 |
53 |
72 |
1.5 |
1.1 |
|
|
|
80 |
31 |
46.2 |
|
|
|
|
|
NU 2307 |
NJ 2307 |
NUP 2307 |
|
|
1.5 |
1.1 |
|
|
|
|
|
1.5 |
1.1 |
|
100 |
25 |
53 |
70.8 |
68.2 |
6000 |
7500 |
0.94 |
NU 407 |
NJ 407 |
NUP 407 |
59 |
75.3 |
1.5 |
1.5 |
52 |
43 |
55 |
61 |
92 |
1.5 |
1.5 |
|
|
40 |
68 |
15 |
47 |
21.2 |
22.0 |
7500 |
9500 |
0.22 |
NU 1008 |
— |
— |
— |
57.6 |
1 |
0.6 |
46 |
44 |
49 |
— |
63 |
1 |
0.6 |
|
80 |
18 |
49.5 |
51.5 |
53.0 |
7000 |
9000 |
0.394 |
NU 208 E |
NJ 208 E |
NUP 208 E |
54.2 |
67.6 |
1.1 |
1.1 |
49 |
46.5 |
52 |
56 |
73.5 |
1.1 |
1.1 |
|
|
|
80 |
18 |
50 |
|
|
|
|
|
NU 208 |
NJ 208 |
NUP 208 |
|
|
1.1 |
1.1 |
|
|
|
|
|
1.1 |
1.1 |
|
80 |
23 |
49.5 |
67.5 |
75.2 |
7000 |
9000 |
0.507 |
NU 2208 E |
NJ 2208 E |
NUP 2208 E |
54.2 |
67.6 |
1.1 |
1.1 |
49 |
46.5 |
52 |
56 |
73.5 |
1.1 |
1.1 |
|
|
|
80 |
23 |
50 |
|
|
|
|
|
NU 2208 |
NJ 2208 |
NUP 2208 |
|
|
1.1 |
1.1 |
|
|
|
|
|
1.1 |
1.1 |
|
90 |
23 |
52 |
76.8 |
77.8 |
6300 |
8000 |
0.68 |
NU 308 E |
NJ 308 E |
NUP 308 E |
57.7 |
75.4 |
1.5 |
1.5 |
51 |
48 |
55 |
60 |
82 |
1.5 |
1.5 |
|
|
|
90 |
23 |
53.5 |
|
|
|
|
|
NU 308 |
NJ 308 |
NUP 308 |
|
|
1.5 |
1.5 |
|
|
|
|
|
1.5 |
1.5 |
|
90 |
33 |
52 |
105 |
118 |
6300 |
8000 |
0.974 |
NU 2308 E |
NJ 2308 E |
NUP 2308 E |
57.7 |
75.4 |
1.5 |
1.5 |
51 |
48 |
55 |
60 |
82 |
1.5 |
1.5 |
|
|
|
90 |
33 |
53. |
|
|
|
|
|
NU 2308 |
NJ 2308 |
NUP 2308 |
|
|
1.5 |
1.5 |
|
|
|
|
|
1.5 |
1.5 |
|
110 |
27 |
58 |
90.5 |
89.8 |
5600 |
7000 |
1.25 |
NU 408 |
NJ 408 |
NUP 408 |
64.8 |
83.3 |
2 |
2 |
57 |
49 |
60 |
67 |
101 |
2 |
2 |
|
|
45 |
75 |
16 |
52.5 |
23.2 |
23.8 |
6500 |
8500 |
0.26 |
NU 1009 |
— |
— |
— |
63.9 |
1 |
0.6 |
52 |
49 |
54 |
— |
70 |
1 |
0.6 |
|
85 |
19 |
54.5 |
58.5 |
63.8 |
6300 |
8000 |
0.45 |
NU 209 E |
NJ 209 E |
NUP 209 E |
59.2 |
72.6 |
1.1 |
1.1 |
54 |
51.5 |
57 |
61 |
78.5 |
1.1 |
1.1 |
|
|
|
85 |
19 |
55 |
|
|
|
|
|
NU 209 |
NJ 209 |
NUP 209 |
|
|
1.1 |
1.1 |
|
|
|
|
|
1.1 |
1.1 |
|
85 |
23 |
54.5 |
71.0 |
82.0 |
6300 |
8000 |
0.55 |
NU 2209 E |
NJ 2209 E |
NUP 2209 E |
59.2 |
72.6 |
1.1 |
1.1 |
54 |
51.5 |
57 |
61 |
78.5 |
1.1 |
1.1 |
|
|
|
85 |
23 |
55 |
|
|
|
|
|
NU 2209 |
NJ 2209 |
NUP 2209 |
|
|
1.1 |
1.1 |
|
|
|
|
|
1.1 |
1.1 |
|
100 |
25 |
58.5 |
93.0 |
98.0 |
5600 |
7000 |
0.93 |
NU 309 E |
NJ 309 E |
NUP 309 E |
64.7 |
83.6 |
1.5 |
1.5 |
57 |
53 |
60 |
66 |
92 |
1.5 |
1.5 |
|
|
|
100 |
25 |
58.5 |
|
|
|
|
|
NU 309 |
NJ 309 |
NUP 309 |
|
|
1.5 |
1.5 |
|
|
|
|
|
1.5 |
1.5 |
|
100 |
36 |
58.5 |
130 |
152 |
5600 |
7000 |
1.34 |
NU 2309 E |
NJ 2309 E |
NUP 2309 E |
64.7 |
83.6 |
1.5 |
1.5 |
57 |
53 |
60 |
66 |
92 |
1.5 |
1.5 |
|
|
|
100 |
36 |
58.5 |
|
|
|
|
|
NU 2309 |
NJ 2309 |
NUP 2309 |
|
|
1.5 |
1.5 |
|
|
|
|
|
1.5 |
1.5 |
|
120 |
29 |
64.5 |
102 |
100 |
5000 |
6300 |
1.8 |
NU 409 |
NJ 409 |
NUP 409 |
71.8 |
91.4 |
2 |
2 |
63 |
54 |
66 |
74 |
111 |
2 |
2 |
|
|
50 |
80 |
16 |
57.5 |
25.0 |
27.5 |
6300 |
8000 |
— |
NU 1010 |
— |
— |
— |
68.9 |
1 |
0.6 |
57 |
54 |
59 |
— |
75 |
1 |
0.6 |
|
90 |
20 |
59.5 |
61.2 |
69.2 |
6000 |
7500 |
0.505 |
NU 210 E |
NJ 210 E |
NUP 210 E |
64.2 |
77.6 |
1.1 |
1.1 |
58 |
56.5 |
62 |
67 |
83.5 |
1.1 |
1.1 |
|
|
|
90 |
23 |
60.4 |
|
|
|
|
|
NU 210 |
NJ 210 |
NUP 210 |
|
|
1.1 |
1.1 |
|
|
|
|
|
1.1 |
1.1 |
|
90 |
23 |
59.5 |
74.2 |
88.8 |
6000 |
7500 |
0.59 |
NU 2210 E |
NJ 2210 E |
NUP 2210 E |
64.2 |
77.6 |
1.1 |
1.1 |
58 |
56.5 |
62 |
67 |
83.5 |
1.1 |
1.1 |
|
|
|
90 |
23 |
60.4 |
|
|
|
|
|
NU 2210 |
NJ 2210 |
NUP 2210 |
|
|
1.1 |
1.1 |
|
|
|
|
|
1.1 |
1.1 |
|
110 |
27 |
65 |
105 |
112 |
5300 |
6700 |
1.2 |
NU 310 E |
NJ 310 E |
NUP 310 E |
71.2 |
91.7 |
2 |
2 |
63 |
59 |
67 |
73 |
101 |
2 |
2 |
|
|
|
110 |
27 |
65 |
|
|
|
|
|
NU 310 |
NJ 310 |
NUP 310 |
|
|
2 |
2 |
|
|
|
|
|
2 |
2 |
|
110 |
40 |
65 |
155 |
185 |
5300 |
6700 |
1.79 |
NU 2310 E |
NJ 2310 E |
NUP 2310 E |
71.2 |
91.7 |
2 |
2 |
63 |
59 |
67 |
73 |
101 |
2 |
2 |
|
|
|
110 |
40 |
65 |
|
|
|
|
|
NU 2310 |
NJ 2310 |
NUP 2310 |
|
|
2 |
2 |
|
|
|
|
|
2 |
2 |
|
130 |
31 |
70.8 |
120 |
120 |
4800 |
6000 |
2.3 |
NU 410 |
NJ 410 |
NUP 410 |
78.8 |
101 |
2.1 |
2.1 |
69 |
61 |
73 |
81 |
119 |
2.1 |
2.1 |
|
|
55 |
90 |
18 |
64.5 |
35.8 |
40.0 |
5600 |
7000 |
0.45 |
NU 1011 |
— |
— |
— |
79 |
1.1 |
1 |
63 |
60 |
66 |
— |
83.5 |
1.1 |
1 |
|
100 |
21 |
66 |
80.2 |
95.5 |
5300 |
6700 |
0.68 |
NU 211 E |
NJ 211 E |
NUP 211 E |
70.9 |
86.2 |
1.5 |
1.1 |
65 |
61.5 |
68 |
73 |
92 |
1.5 |
1.1 |
|
|
|
100 |
21 |
66.5 |
|
|
|
|
|
NU 211 |
NJ 211 |
NUP 211 |
|
|
1.5 |
1.1 |
|
|
|
|
|
1.5 |
1.1 |
|
100 |
25 |
66 |
94.8 |
118 |
5300 |
6700 |
0.81 |
NU 2211 E |
NJ 2211 E |
NUP 2211 E |
70.9 |
86.2 |
1.5 |
1.1 |
65 |
61.5 |
68 |
73 |
92 |
1.5 |
1.1 |
|
|
|
100 |
25 |
66.5 |
|
|
|
|
|
NU 2211 |
NJ 2211 |
NUP 2211 |
|
|
1.5 |
1.1 |
|
|
|
|
|
1.5 |
1.1 |
|
120 |
29 |
70.5 |
128 |
138 |
4800 |
6000 |
1.53 |
NU 311 E |
NJ 311 E |
NUP 311 E |
77.4 |
100.6 |
2 |
2 |
69 |
64 |
72 |
80 |
111 |
2 |
2 |
|
|
|
120 |
29 |
70.5 |
|
|
|
|
|
NU 311 |
NJ 311 |
NUP 311 |
|
|
2 |
2 |
|
|
|
|
|
2 |
2 |
|
120 |
43 |
70.5 |
190 |
228 |
4800 |
6000 |
2.28 |
NU 2311 E |
NJ 2311 E |
NUP 2311 E |
77.4 |
100.6 |
2 |
2 |
69 |
64 |
72 |
80 |
111 |
2 |
2 |
|
|
|
120 |
43 |
70.5 |
|
|
|
|
|
NU 2311 |
NJ 2311 |
NUP 2311 |
|
|
2 |
2 |
|
|
|
|
|
2 |
2 |
|
140 |
33 |
77.2 |
128 |
132 |
4300 |
5300 |
2.8 |
NU 411 |
NJ 411 |
NUP 411 |
85.2 |
108 |
2.1 |
2.1 |
76 |
66 |
79 |
87 |
129 |
2.1 |
2.1 |
|
|
60 |
95 |
18 |
69.5 |
38.5 |
45.0 |
5300 |
6700 |
0.48 |
NU 1012 |
— |
— |
— |
81.6 |
1.1 |
1 |
68 |
65 |
71 |
— |
88.5 |
1.1 |
1 |
|
110 |
22 |
72 |
89.8 |
102 |
5000 |
6300 |
0.86 |
NU 212 E |
NJ 212 E |
NUP 212 E |
77.7 |
95.8 |
1.5 |
1.5 |
71 |
68 |
75 |
80 |
102 |
1.5 |
1.5 |
|
|
|
110 |
22 |
73.5 |
|
|
|
|
|
NU 212 |
NJ 212 |
NUP 212 |
|
|
1.5 |
1.5 |
|
|
|
|
|
1.5 |
1.5 |
|
110 |
28 |
72 |
122 |
152 |
5000 |
6300 |
1.12 |
NU 2212 E |
NJ 2212 E |
NUP 2212 E |
77.7 |
95.8 |
1.5 |
1.5 |
71 |
68 |
75 |
80 |
102 |
1.5 |
1.5 |
|
|
|
110 |
28 |
73.5 |
|
|
|
|
|
NU 2212 |
NJ 2212 |
NUP 2212 |
|
|
1.5 |
1.5 |
|
|
|
|
|
1.5 |
1.5 |
|
130 |
31 |
77 |
142 |
155 |
4500 |
5600 |
1.87 |
NU 312 E |
NJ 312 E |
NUP 312 E |
84.3 |
109.9 |
2.1 |
2.1 |
75 |
71 |
79 |
86 |
119 |
2.1 |
2.1 |
|
|
|
130 |
31 |
77 |
|
|
|
|
|
NU 312 |
NJ 312 |
NUP 312 |
|
|
2.1 |
2.1 |
|
|
|
|
|
2.1 |
2.1 |
|
130 |
46 |
77 |
212 |
260 |
4500 |
5600 |
2.81 |
NU 2312 E |
NJ 2312 E |
NUP 2312 E |
84.3 |
109.9 |
2.1 |
2.1 |
75 |
71 |
79 |
86 |
119 |
2.1 |
2.1 |
|
|
|
130 |
46 |
77 |
|
|
|
|
|
NU 2312 |
NJ 2312 |
NUP 2312 |
|
|
2.1 |
2.1 |
|
|
|
|
|
2.1 |
2.1 |
|
150 |
35 |
83 |
155 |
162 |
4000 |
5000 |
3.4 |
NU 412 |
NJ 412 |
NUP 412 |
91.8 |
116 |
2.1 |
2.1 |
82 |
71 |
85 |
94 |
139 |
2.1 |
2.1 |
|
|
注:重量以 NJ 型为主。 |
||||||||||||||||||||||

