|
常用软轴的典型结构 |
||
|
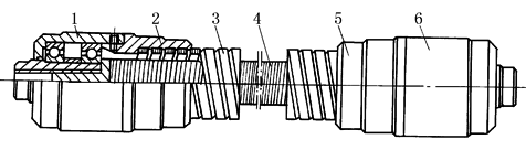
功 率 型 ︵ 动 力 传 动 用 ︶ 软 轴 |
1、8—软轴接头;2、5—软管接头;3—钢丝软轴;4—软管; 6—卡箍;7—托架;9—连轴器;10—电动机 |
钢丝软轴接头端部为固定式(螺纹连接),软管接头内带滑动轴套(一般用青铜轴套) |
|
1、6—软轴接头;2、5—软管接头;3—软管;4—钢丝软轴 |
钢丝软轴接头端部为固定式(螺纹连接),软管接头内带有滚动轴承 |
|
|
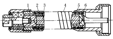
1、6—软轴接头;2、5—软管接头;3—钢丝软轴;4—软管 |
钢丝软轴接头端部,一端为固定式,一端为滑动式,软管接头内带有滚动轴承 |
|
|
控 制 型 ︵ 控 制 仪 器 传 动 用 ︶ 软 轴 |
1—软轴接头;2、6—软管接头;3—连接螺母;4—软管;5—钢丝软轴 |
钢丝软轴接头端部为滑动式,软管接头为镦压连接(用于解放牌汽车里程表) |




