|
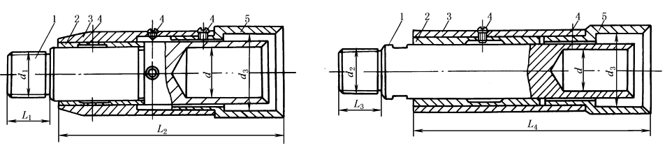
带滑动轴承的软管、软轴接头结构尺寸 /mm |
||||||||
|
1—轴接头;2—青铜衬套;3—外壳;4—螺钉;5—软管接头 |
||||||||
|
轴直径 |
d1 |
L1 |
L2 |
d2 |
L3 |
L4 |
d3 |
d |
|
8 |
M8 |
10 |
80 |
M8 |
10 |
80 |
19.5+0.5 |
|
|
10 |
M10 |
13 |
83 |
M10 |
15 |
80 |
21.5+0.5 |
|
|
12 |
M10 |
15 |
86 |
M12 |
18 |
84 |
26.0+0.5 |
|
|
16 |
M12 |
18 |
96 |
M16 |
18 |
96 |
31.5+0.5 |
|
|
20 |
M16 |
23 |
108 |
M20 |
22 |
108 |
35.5+0.5 |
|
|
25 |
M20 |
23 |
130 |
M25 |
25 |
132 |
42.5+0.5 |
|
|
30 |
M25 |
25 |
146 |
M28 |
25 |
150 |
49.0+0.5 |
|
|
注:青铜衬套材料牌号ZCuSn5P65Zn5或ZCuAl10Fe3Mn2。 |
||||||||

