|
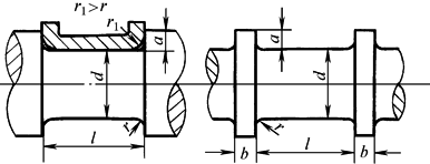
向心轴颈 |
|||
|
|
|
||
|
端轴颈 |
中轴颈 |
||
|
代 号 |
名 称 |
说 明 |
|
|
d |
轴颈直径 |
由计算确定,并按标准尺寸GB/T 2822圆整为标准直径 |
|
|
a |
轴肩(环)高度 |
α≈(0.07~0.1)d,d+2a最好圆整为整数值 |
|
|
b |
轴环宽度 |
b≈1.4a,圆整为整数 |
|
|
r、r1 |
圆角半径 |
见零件的倒圆与倒角(GB/T 6403.4) |
|
|
l |
轴颈长度 |
l=l0+K+e+C,l0由轴承工作能力的需要确定,e和K分别由热膨胀量和安装误差确定,C按GB/T 6403.4选取。对于固定轴的轴颈l=l0 |
|


