|
强力切向键及键槽的尺寸 mm |
|||||||||||||
|
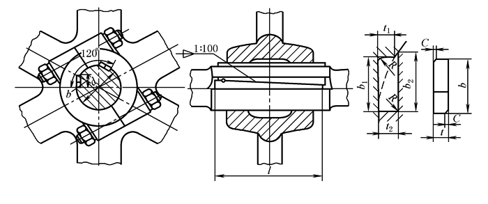
标记示例 计算宽度b=60mm、厚度t=20mm、长度L=250mm、强力型切向键,标记为:GB/T 1974 强力切向键60×20×250 |
|||||||||||||
|
轴径 d |
键 |
键 槽 |
|||||||||||
|
厚度t |
计算 宽度 b |
倒角C |
深 度 |
计算宽度 |
半径R |
||||||||
|
轮毂t1 |
轴t2 |
轮毂 b1 |
轴 b2 |
||||||||||
|
尺寸 |
偏差(h11) |
最小 |
最大 |
尺寸 |
偏差 |
尺寸 |
偏差 |
最小 |
最大 |
||||
|
100 |
10 |
|
30 |
1.0 |
1.2 |
10 |
|
10.3 |
|
30 |
30.4 |
0.7 |
1.0 |
|
110 |
11 |
|
33 |
11 |
11.4 |
33 |
33.5 |
||||||
|
120 |
12 |
36 |
12 |
|
12.4 |
|
36 |
36.5 |
|||||
|
125 |
12.5 |
37.5 |
12.5 |
12.9 |
37.5 |
38.0 |
|||||||
|
130 |
13 |
39 |
13 |
13.4 |
39 |
39.5 |
|||||||
|
140 |
14 |
42 |
14 |
14.4 |
42 |
42.5 |
|||||||
|
150 |
15 |
45 |
15 |
15.4 |
45 |
45.5 |
|||||||
|
160 |
16 |
48 |
16 |
16.4 |
48 |
48.5 |
|||||||
|
170 |
17 |
51 |
1.6 |
2.0 |
17 |
17.4 |
51 |
51.5 |
1.2 |
1.6 |
|||
|
180 |
18 |
54 |
18 |
18.4 |
54 |
54.5 |
|||||||
|
190 |
19 |
|
57 |
19 |
19.4 |
57 |
57.5 |
||||||
|
200 |
20 |
60 |
20 |
20.4 |
60 |
60.5 |
|||||||
|
220 |
22 |
66 |
22 |
22.4 |
66 |
66.5 |
|||||||
|
240 |
24 |
72 |
2.5 |
3.0 |
24 |
24.4 |
72 |
72.5 |
2.0 |
2.5 |
|||
|
250 |
25 |
75 |
25 |
25.4 |
75 |
75.5 |
|||||||
|
260 |
26 |
78 |
26 |
26.4 |
78 |
78.5 |
|||||||
|
280 |
28 |
84 |
28 |
28.4 |
84 |
84.5 |
|||||||
|
300 |
30 |
90 |
30 |
30.4 |
90 |
90.5 |
|||||||
|
320 |
32 |
|
96 |
32 |
32.4 |
96 |
96.5 |
||||||
|
340 |
34 |
102 |
3.0 |
4.0 |
34 |
34.4 |
102 |
102.5 |
2.5 |
3.0 |
|||
|
360 |
36 |
108 |
36 |
36.4 |
108 |
108.5 |
|||||||
|
380 |
38 |
114 |
38 |
38.4 |
114 |
114.5 |
|||||||
|
400 |
40 |
120 |
40 |
40.4 |
120 |
120.5 |
|||||||
|
420 |
42 |
126 |
42 |
42.4 |
126 |
126.5 |
|||||||
|
440 |
44 |
132 |
44 |
44.4 |
132 |
132.5 |
|||||||
|
450 |
45 |
135 |
45 |
45.4 |
135 |
135.5 |
|||||||
|
460 |
46 |
138 |
46 |
46.4 |
138 |
138.5 |
|||||||
|
480 |
48 |
144 |
48 |
48.4 |
144 |
144.5 |
|||||||
|
500 |
50 |
150 |
50 |
50.5 |
150 |
150.7 |
|||||||
|
530 |
53 |
|
159 |
53 |
53.5 |
159 |
159.7 |
||||||
|
560 |
56 |
168 |
56 |
56.5 |
168 |
168.7 |
|||||||
|
600 |
60 |
180 |
60 |
60.5 |
180 |
180.7 |
|||||||
|
630 |
63 |
189 |
63 |
63.5 |
189 |
189.7 |
|||||||
|
注:1.当轴径d位于两相邻轴径值之间时,键与键槽的尺寸按下式计算:t=t1=0.1d;b=b1=0.3d;t2=t+0.33mm(t≤10mm);t2=t+0.4mm(10mm<t≤45mm);t2=t+0.5mm(t>45mm); 2.当轴径d超过630mm时,推荐:t=t1=0.1d;b=b1=0.3d。 |
|||||||||||||

