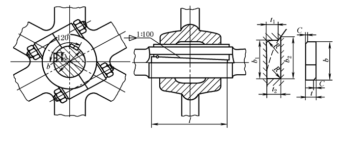
|
普通切向键及键槽的尺寸(GB/T 1974—2003) mm |
|||||||||||||
|
标记示例: 计算宽度b=24mm、厚度t=8mm、长度L=100mm、普通型切向型键,标记为:GB/T 1974 切向键24×8×100 |
|||||||||||||
|
轴径 d |
键 |
键 槽 |
|||||||||||
|
厚度t |
计算 宽度 b |
倒角C |
深度 |
计算宽度 |
半径R |
||||||||
|
轮毂t1 |
轴t2 |
轮毂 b1 |
轴 b2 |
||||||||||
|
尺寸 |
偏差(h11) |
最小 |
最大 |
尺寸 |
偏差 |
尺寸 |
偏差 |
最大 |
最小 |
||||
|
60 |
7 |
0 -0.090 |
19.3 |
0.6 |
0.8 |
7 |
0 -0.2 |
7.3 |
+0.2 0 |
19.3 |
19.6 |
0.6 |
0.4 |
|
63 |
19.8 |
19.8 |
20.2 |
||||||||||
|
65 |
20.1 |
20.1 |
20.5 |
||||||||||
|
70 |
21.0 |
21.0 |
21.4 |
||||||||||
|
71 |
8 |
22.5 |
8 |
8.3 |
22.5 |
22.8 |
|||||||
|
75 |
23.2 |
23.2 |
23.5 |
||||||||||
|
80 |
24.0 |
24.0 |
24.4 |
||||||||||
|
85 |
24.8 |
24.8 |
25.2 |
||||||||||
|
90 |
25.6 |
25.6 |
26.0 |
||||||||||
|
95 |
9 |
27.8 |
9 |
9.3 |
27.8 |
28.2 |
|||||||
|
100 |
28.6 |
28.6 |
29.0 |
||||||||||
|
110 |
30.1 |
30.1 |
30.6 |
||||||||||
|
120 |
10 |
33.2 |
1.0 |
1.2 |
10 |
10.3 |
33.2 |
33.6 |
1.0 |
0.7 |
|||
|
125 |
33.9 |
33.9 |
34.4 |
||||||||||
|
130 |
34.6 |
34.6 |
35.1 |
||||||||||
|
140 |
11 |
0 -0.110 |
37.7 |
11 |
11.4 |
37.7 |
38.3 |
||||||
|
150 |
39.1 |
39.1 |
39.7 |
||||||||||
|
160 |
12 |
42.1 |
12 |
0 -0.3 |
12.4 |
+0.3 0 |
42.1 |
42.8 |
|||||
|
170 |
43.5 |
43.5 |
44.2 |
||||||||||
|
180 |
44.9 |
44.9 |
45.6 |
||||||||||
|
190 |
14 |
49.6 |
14 |
14.4 |
49.6 |
50.3 |
|||||||
|
200 |
51.0 |
51.0 |
51.7 |
||||||||||
|
220 |
16 |
57.1 |
1.6 |
2.0 |
16 |
16.4 |
57.1 |
57.8 |
1.6 |
1.2 |
|||
|
240 |
59.9 |
59.9 |
60.6 |
||||||||||
|
250 |
18 |
64.4 |
18 |
18.4 |
64.6 |
65.3 |
|||||||
|
260 |
66.0 |
66.0 |
66.7 |
||||||||||
|
280 |
20 |
0 -0.130 |
72.1 |
2.5 |
3.0 |
20 |
20.4 |
72.1 |
72.8 |
2.5 |
2.0 |
||
|
300 |
74.8 |
74.8 |
75.5 |
||||||||||
|
320 |
22 |
81.0 |
22 |
22.4 |
81.0 |
81.6 |
|||||||
|
340 |
83.6 |
83.6 |
84.3 |
||||||||||
|
360 |
26 |
93.2 |
26 |
26.4 |
93.2 |
93.8 |
|||||||
|
380 |
95.9 |
95.9 |
96.6 |
||||||||||
|
400 |
98.6 |
98.6 |
99.3 |
||||||||||
|
420 |
30 |
108.2 |
3.0 |
4.0 |
30 |
30.4 |
108.2 |
108.8 |
3.0 |
2.5 |
|||
|
440 |
110.9 |
110.9 |
111.6 |
||||||||||
|
450 |
112.3 |
112.3 |
112.9 |
||||||||||
|
460 |
113.6 |
113.6 |
114.3 |
||||||||||
|
480 |
34 |
0 -0.160 |
123.1 |
34 |
34.4 |
123.1 |
123.8 |
||||||
|
500 |
125.9 |
125.9 |
126.6 |
||||||||||
|
530 |
38 |
136.7 |
38 |
38.4 |
136.7 |
137.4 |
|||||||
|
560 |
140.8 |
140.8 |
141.5 |
||||||||||
|
600 |
42 |
153.1 |
42 |
42.4 |
153.1 |
153.8 |
|||||||
|
630 |
157.1 |
157.1 |
157.8 |
||||||||||
|
注:1.当轴径d位于两相邻轴径值之间时,采用大轴径的t和t1、t2。b和b1、b2按下式计算: 2.当轴径d超过630mm时,推荐:t=t1=0.07d;b=b1=0.25d。 3.一对切向键在装配之后的相互位置应用销或其他适当的方法固定。 4.长度L按实际结构确定,建议一般比轮毂厚度长10%~15%。 5.一对切向键在装配时,1∶100的两斜面之间,以及键的两工作面与轴槽和轮毂槽的工作面之间都必须紧密结合。 6.当出现交变冲击负荷时,轴径从100mm起,推荐选用强力切向键。 7.两副切向键如果120°安装有困难时,也可以180°安装。 |
|||||||||||||

