|
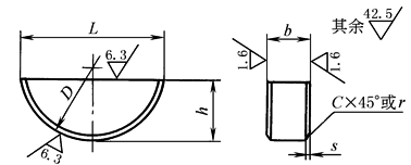
普通型半圆键的尺寸与公差 (GB/T 1099.1—2003) mm |
|||||||||
|
标记示例 宽度b=6mm、高度h=10mm、直径D=25mm、普通型半圆键,标记为:GB/T 1099.1 键6×10×25 |
|||||||||
|
键尺寸 b×h×D |
宽度b |
高度h |
直径D |
C或r |
|||||
|
基本 尺寸 |
极限 偏差 |
基本尺寸 (h12) |
极限偏差 |
基本尺寸 |
极限偏差 (h12) |
||||
|
最小 |
最大 |
||||||||
|
1×1.4×4 |
1 |
0 -0.025 |
1.4 |
0 -0.10 |
4 |
0 -0.12 |
0.16 |
0.25 |
|
|
1.5×2.6×7 |
1.5 |
2.6 |
7 |
0 -0.15 |
|||||
|
2×2.6×7 |
2 |
2.6 |
7 |
||||||
|
2×3.7×10 |
2 |
3.7 |
0 -0.12 |
10 |
|||||
|
2.5×3.7×10 |
2.5 |
3.7 |
10 |
||||||
|
3×5×13 |
3 |
5 |
13 |
0 -0.18 |
|||||
|
3×6.5×16 |
3 |
6.5 |
0 -0.15 |
16 |
|||||
|
4×6.5×16 |
4 |
6.5 |
16 |
0.25 |
0.40 |
||||
|
4×7.5×19 |
4 |
7.5 |
19 |
0 -0.21 |
|||||
|
5×6.5×16 |
5 |
6.5 |
16 |
0 -0.18 |
|||||
|
5×7.5×19 |
5 |
7.5 |
19 |
0 -0.21 |
|||||
|
5×9×22 |
5 |
9 |
22 |
||||||
|
6×9×22 |
6 |
9 |
22 |
||||||
|
6×10×25 |
6 |
10 |
25 |
||||||
|
8×11×28 |
8 |
11 |
0 -0.18 |
28 |
0.40 |
0.60 |
|||
|
10×13×32 |
10 |
13 |
32 |
0 -0.25 |
|||||

