|
键的类型、特点和应用 |
|||
|
键连接是通过键来实现轴和轴上零件间的周向固定以传递运动和转矩。其中,有些类型的键还可实现轴向固定和传递轴向力,有些类型的键还能实现轴向动连接。键和键连接的类型、特点及应用见下表 |
|||
|
类型和标准 |
简 图 |
特点和应用 |
|
|
平 键 |
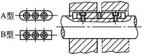
普通型 平键 GB/T 1096—2003 薄型 平键 GB/T 1567—2003 |
|
键的侧面为工作面,靠侧面传力,对中性好,装拆方便。无法实现轴上零件的轴向固定。定位精度较高,用于高速或承受冲击、变载荷的轴。薄型平键用于薄壁结构和传递转矩较小的地方。A型键用端铣刀加工轴上键槽,键在槽中固定好,但应力集中较大;B型键用盘铣刀加工轴上键槽,应力集中较小;C型用于轴端 |
|
导向型 平键 GB/T 1097—2003 |
|
键的侧面为工作面,靠侧面传力,对中性好,拆装方便。无轴向固定作用。用螺钉把键固定在轴上,中间的螺纹孔用于起出键。用于轴上零件沿轴移动量不大的场合,如变速箱中的滑移齿轮 |
|
|
滑键 |
|
键的侧面为工作面,靠侧面传力,对中性好,拆装方便。键固定在轮毂上,轴上零件能带着键作轴向移动,用于轴上零件移动量较大的地方 |
|
|
半 圆 键 |
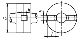
半圆键 GB/T 1099—2003 |
|
键的侧面为工作面,靠侧面传力,键可在轴槽中沿槽底圆弧滑动,装拆方便,但要加长键时,必定使键槽加深使轴强度削弱。一般用于轻载,常用于轴的锥形轴端处 |
|
楔 键 |
普通型 楔键 GB/T 1564—2003 钩头型 楔键 GB/T 1565—2003 薄型 钩头楔键 GB/T 16922—1997 |
|
键的上下面为工作面,键的上表面和毂槽都有1∶100的斜度,装配时需打入、楔紧、造成偏心,键的上、下两面与轴和轮毂相接触。对轴上零件有轴向固定作用。由于楔紧力的作用使轴上零件偏心,导致对中精度不高,转速也受到限制。钩头供装拆用,但应加保护罩 |
|
切向键 GB/T 1974—2003 |
|
由两个斜度为1∶100的楔键组成。能传递较大的转矩,一对切向键只能传递一个方向的转矩,传递双向转矩时,要用两对切向键,互成120°~135°。用于载荷大、对中要求不高的场合。键槽对轴的削弱大,常用于直径大于100mm的轴 |
|
|
端 面 键 |
端面键 |
|
在圆盘端面嵌入平键,可用于凸缘间传力,常用于铣床主轴 |







