|
唐氏螺纹六角头螺栓连接副(Q/TANGS 5782) |
||||||||||||||||||||||||||||||||
|
|
标记示例 螺纹规格d=TM20,公称长度l=100mm,性能等级为8.8级的唐氏螺纹六角头螺栓连接副:唐氏螺栓连接副 Q/TANGS 5782-TM20×100 |
|||||||||||||||||||||||||||||||
|
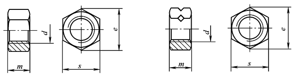
唐氏螺纹六角头螺栓 mm |
||||||||||||||||||||||||||||||||
|
|
||||||||||||||||||||||||||||||||
|
螺纹规格d |
TM16 |
TM18 |
TM20 |
TM22 |
TM24 |
TM30 |
TM36 |
TM42 |
TM48 |
TM56 |
TM64 |
|||||||||||||||||||||
|
s |
24 |
27 |
30 |
34 |
36 |
46 |
55 |
65 |
75 |
85 |
95 |
|||||||||||||||||||||
|
k |
10 |
11.5 |
12.5 |
14 |
15 |
18.7 |
22.5 |
26 |
30 |
35 |
40 |
|||||||||||||||||||||
|
e |
26.8 |
30 |
33.5 |
37.7 |
40 |
50.9 |
60.8 |
72 |
82.6 |
93.6 |
104.9 |
|||||||||||||||||||||
|
b |
l≤125 |
38 |
42 |
46 |
50 |
54 |
66 |
78 |
— |
— |
— |
— |
||||||||||||||||||||
|
125<l≤200 |
44 |
48 |
52 |
56 |
60 |
72 |
84 |
96 |
108 |
124 |
140 |
|||||||||||||||||||||
|
l>200 |
57 |
61 |
65 |
69 |
73 |
85 |
97 |
109 |
121 |
137 |
153 |
|||||||||||||||||||||
|
l |
65~160 |
70~180 |
80~200 |
90~220 |
90~240 |
110~300 |
140~360 |
160~440 |
180~480 |
220~500 |
260~500 |
|||||||||||||||||||||
|
l系列 |
65,70,80,90,100,110,120,130,140,150,160,180,200,220,240,260,280,300,320,340,360,380,400,420,440,460,480,500 |
|||||||||||||||||||||||||||||||
|
技术条件 |
材料:钢 |
螺纹公差:6g |
性能等级:8.8、10.9、12.9 |
产品等级:B |
表面处理:调质、发蓝、发黑 |
|||||||||||||||||||||||||||
|
注:1.除螺纹外,其余尺寸与GB/T 5782一致。 2.唐氏螺纹六角头螺栓连接副一套包括唐氏六角头螺栓一个,左旋及右旋螺母各一个。 3.表格之外的螺栓连接副按图纸加工。 |
||||||||||||||||||||||||||||||||
|
唐氏螺纹六角头螺母 mm |
||||||||||||||||||||||||||||||||
|
|
||||||||||||||||||||||||||||||||
|
螺纹规格d |
TM16 |
TM18 |
TM20 |
TM22 |
TM24 |
TM30 |
TM36 |
TM42 |
TM48 |
TM56 |
TM64 |
|||||||||||||||||||||
|
e |
26.8 |
29.6 |
33 |
37.3 |
39.6 |
50.9 |
60.8 |
72 |
82.6 |
93.6 |
104.9 |
|||||||||||||||||||||
|
m |
14.8 |
15.8 |
18 |
19.4 |
21.5 |
25.6 |
31 |
34 |
38 |
45 |
51 |
|||||||||||||||||||||
|
s |
24 |
27 |
30 |
34 |
36 |
46 |
55 |
65 |
75 |
85 |
95 |
|||||||||||||||||||||
|
技术条件 |
材料:钢 |
螺纹公差:6H |
性能等级:8、10、12 |
产品等级:B |
表面处理:发黑 |
|||||||||||||||||||||||||||
|
注:1.除螺纹外,其余尺寸与GB/T 5782一致。 2.唐氏螺纹六角头螺栓连接副一套包括唐氏六角头螺栓一个,左旋及右旋螺母各一个。 3.表格之外的螺栓连接副按图纸加工。 |
||||||||||||||||||||||||||||||||



