|
圆柱管螺纹收尾、退刀槽、倒角尺寸 mm |
||||||||||||||||
|
外 螺 纹 |
内 螺 纹 |
倒 角 |
||||||||||||||
|
收 尾 |
退 刀 槽 |
收 尾 |
退 刀 槽 |
|||||||||||||
|
|
|
|
|
|
||||||||||||
|
尺寸代号 |
每英寸 牙数 n |
外 螺 纹 |
内 螺 纹 |
C |
||||||||||||
|
l≤ (α=25°时) |
b |
d2 |
R |
r |
l1 ≤ |
b1 |
d3 |
R1 |
r1 |
|||||||
|
1/8 |
28 |
1.5 |
2 |
8 |
0.5 |
— |
2 |
2 |
10 |
0.5 |
— |
0.6 |
||||
|
1/4 3/8 |
19 |
2 |
3 |
11 14 |
1 |
0.5 |
3 |
3 |
13.5 17 |
1 |
0.5 |
1 |
||||
|
1/2 |
14 |
2.5 |
4 |
18 |
4 |
4 |
21.5 |
1.5 |
||||||||
|
5/8 |
20 |
23.5 |
||||||||||||||
|
3/4 |
23.5 |
27 |
||||||||||||||
|
1 |
11 |
3.5 |
5 |
29.5 |
1.5 |
0.5 |
5 |
6 |
34 |
1.5 |
1 |
|||||
|
11/4 |
38 |
42.5 |
||||||||||||||
|
11/2 |
44 |
48.5 |
||||||||||||||
|
13/4 |
50 |
54.5 |
||||||||||||||
|
2 |
56 |
60.5 |
||||||||||||||
|
21/4 |
62 |
6 |
8 |
66.5 |
2 |
|||||||||||
|
21/2 |
71 |
76 |
||||||||||||||
|
23/4 |
78 |
82.5 |
||||||||||||||
|
3 |
84 |
8 |
10 |
88.5 |
3 |
|||||||||||
|
31/2 |
96 |
101 |
||||||||||||||
|
4 |
109 |
114 |
||||||||||||||
|
5 |
134.5 |
139.5 |
||||||||||||||
|
6 |
160 |
165 |
||||||||||||||
|
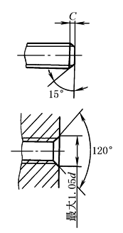
注:1.外螺纹的螺尾角α=25°的螺尾数值系列为基本的。内螺纹的螺尾角不予规定,依螺尾长度l1与螺纹牙型高度来确定。 2.对辗制和铣制的螺尾角不予规定,而螺尾长度l不超过表中对α=25°时所规定的数值。 3.螺纹倒角的宽度是指在切制螺纹前的数值。 4.在必要的情况下,b(或b1)的退刀槽宽度两种型式可以采用本表规定以外的退刀槽宽度,但不得小于1.2倍螺距和不大于3倍螺距。 5.在结构有特殊要求时,允许不按本表规定的退刀槽直径d2与d3。 |
||||||||||||||||





