|
特定件画法(GB/T 16675.1—1996) |
||||
|
类别 |
简 化 后 |
简 化 前 |
说 明 |
|
|
特 定 件 画 法 |
元件符号化画法 |
|
(略) |
仅以焊接固定而无其他紧固工序的电子元器件,可用GB/T 4728.4—2005、GB/T 4728.5—2005《电气图用图形符号》中规定的图形符号绘制 |
|
软管接头画法 |
|
|
软管接头可参照左图所示的简化表示法绘制 |
|
|
管子画法 |
|
|
管子可仅在端部画出部分形状,其余用细点画线画出其中心线,如图a所示 若设计允许,可用与管子中心线重合的单根粗实线表示管子,如图b所示简化表示法 |
|
|
|
图a为化工管路的简化实例 |
|||
|
钢筋和钢箍画法 |
|
|
钢筋和钢箍图可用单根粗实线表示 |
|
|
|
|
|||
|
简 化 后 |
简 化 前 |
说 明 |
||
|
带 、 链 条 画 法 |
|
|
在装配图中,可用粗实线表示带传动中的带,用细点画线表示链传动中的链 |
|
|
|
|
|||
|
简 化 后 |
圆柱形法兰和类似零件上均匀分布的孔可按图所示的方法表示(由机件外向该法兰端面方向投影) |
|||
|
* 圆 柱 法 兰 画 法 |
|
|||
|
简 化 后 |
简 化 前 |
在装配图中可省略螺栓、螺母、销等紧固件的投影,而用点画线和指引线指明它们的位置。此时,表示紧固件组的公共指引线应根据其不同类型从被连接件的某一端引出,如螺钉、螺柱、销连接从其装入端引出,螺栓连接从其装有螺母一端引出 |
||
|
* 紧 固 件 画 法 |
|
|
||
|
简 化 后 |
说 明 |
|||
|
* 牙 嵌 式 离 合 器 齿 画 法 |
|
在剖视图中,类似牙嵌式离合器的齿等相同结构可按图示简化 |
||
|
* 机 件 的 肋 、 轮 辐 及 薄 壁 画 法 |
|
对于机件的肋、轮辐及薄壁等,如按纵向剖切,这些结构都不画剖面符号,而用粗实线将它与其邻接部分分开。当零件回转体上均匀分布的肋、轮辐、孔等结构不处于剖切平面上时,可将这些结构旋转到剖切平面上画出 |
||
|
* 轴 等 实 体 画 法 |
|
在装配图中,对于紧固件以及轴、连杆、球、钩子、键、销等实心零件,若按纵向剖切,且剖切平面通过其对称平面或轴线时,则这些零件均按不剖绘制。如需要特别表明零件的构造,如凹槽、键槽、销孔等则可用局部剖视表示 |
||
|
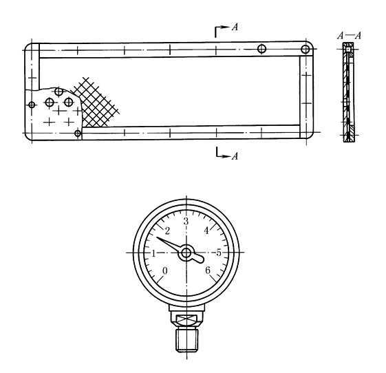
网 状 物 和 透 明 件 画 法 |
|
被网状物挡住的部分均按不可见轮廓绘制。由透明材料制成的物体,均按不透明物体绘制。对于供观察用的刻度、字体、指针、液面等可按可见轮廓线绘制 |
||
注:带*号的内容选自标准中的附录。





















