|
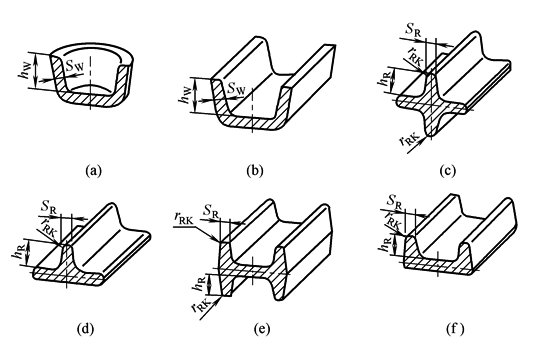
最小壁厚、筋宽及筋端圆角半径(摘自JB/T9177—1999) mm |
||||
|
|
||||
|
壁高或筋高(hW或hR) |
壁厚 SW |
筋宽 SR |
筋端圆角半径 rRK |
|
|
大于 |
至 |
|||
|
|
16 |
4(2) |
4(2) |
2(1) |
|
16 |
40 |
8(4) |
8(4) |
4(2) |
|
40 |
63 |
12(8) |
12(8) |
6(4) |
|
63 |
100 |
20(12) |
20(12) |
10(6) |
|
100 |
160 |
32(20) |
|
|

