|
油压装卸说明 (JB/T 6136—1992) |
|
(1)安装说明 过盈联接安装时,对于圆柱面配合,根据其尺寸,一般情况下加热孔或冷缩轴,或同时加热孔和冷缩轴后进行安装。对于圆锥形和阶梯形圆柱形过盈联接,不必加热孔和冷缩轴,而用压力油的方法进行快速安装。在采用油压安装时,应注意以下事项:安装表面不允许有破坏压力油膜形成的杂质、划痕和缺陷;应清除结合面上的油孔和环形油槽的毛刺;如果没有特殊要求,结合孔选用H7的公差带;对于未注公差的尺寸,按切削加工件有关技术要求的规定;对于结合面,应按照包容原则设计和制造; 通过加热和冷缩方法安装的过盈联接,在常温状态下,还没有达到预先要求的位置时,可通过油压重新调整到要求位置;安装好后,用螺塞将管路连接工艺用螺孔堵死。 图(1)、图(2)表示油压装配时的情况。油压拆卸时和装配时一样,通以高压油,同时用一个适当的工具将被联接件卸出。对于圆锥被联接件,当高压油在配合处产生足够大的轴向分力时,被联接件被自动推出,可不另用工具。
(1)油压装配简图 (2)油压装配简图 |
|
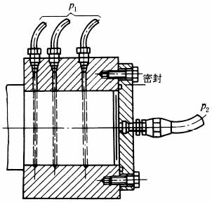
(2)拆卸说明 在拆卸之前,应先检查油路部分是否清洁,如不清洁应清理干净,通入压力油后,应保持压力油从过盈联接面溢出。这时用拆卸工具或压力机,将包容件不间断地拉出。在用拆卸工具或压力机拆卸过程中,应使压力油的压力保持不变。对于简单的圆柱面过盈联接,当拆卸离开最后一个环形槽之后,拆卸过程不能中断,如果中断会使油从结合面压出,并且轮毂(轴套)仍固定在轴上。 拆卸完成后应用螺塞将管路连接工艺用螺孔堵死。 拆卸用的介质,推荐采用运动粘度为46~68mm2/s(40℃时)的矿物油(不是液压油)。 圆柱形过盈联接拆卸时,可同时向圆柱面和轴向加压,但轴向的油压力p2约为圆柱面油压力p1的1/5,当圆柱面的油压力达到计算的拆卸压力时,即可将包容件(或被包容件)不间断地拉出,在拉出过程中应特别注意安全,同时应保持油的压力稳定(见图3)。 阶梯圆柱形过盈联接拆卸时,当压力油使两个零件产生变形形成油膜后,在轴向力的作用下轴开始移动,这时应特别注意由于阶梯形圆柱直径d1、d2不同,在轴向产生的力将大于开始施加的轴向力,所以在拆卸时,事先应采取好的安全措施,防止拆卸结束后,轴(或轴套)被弹出。
(3)圆柱形过盈联接的拆卸 |
|
(3)安全注意事项 对油压拆卸(或安装)的操作,事先必须制订出安全操作规程,并且由有经验的人员进行操作。 对于圆锥形和阶梯形圆柱形过盈联接,当大压力拆卸时应特别注意安全,防止圆锥形过盈联接在拆卸过程自动脱出。 对于重新使用拆卸过的零件之前,应检查是否有影响使用的缺陷。 |



