|
安全保险、制动装置 |
||||||||
|
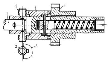
图(1)中,轮1主动,盘6从动,过载时销5被剪断,1和6间产生相对转动,2离开凹窝被转动,使其上的销4抬起(处于半径为R的圆周上)碰撞开关3而停车。 图(2)中,连杆AB由4、6两杆铰接于C处,并用螺栓5固联,C点不在AB线上,过载时螺栓5断裂,并及时发出信号停车,保护其他杆件不受损坏。 |
||||||||
|
图(1)剪切销保险装置 |
图(2)加压机的保险装置 |
|||||||
|
右图中,带动承载的齿轮4和套3以爪式离合器相接,在3的左端隔180°配有V形槽与滚子2接合,2装在主动轴1上,过载时V形槽斜面与滚子2相互作用将3和4推向右边,在转过180°后,3上的V形槽对准滚子,则3在弹簧的作用下向左移与2接合,齿轮4仍停留在右侧,4脱离3。轮4要重新转动时,必须将其左移使它和3接通。 |
爪式保险离合器 |
|||||||
|
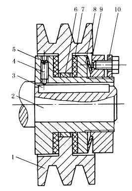
下图为锻造操作机钳杆旋转机构的过载保护装置。当锻件被送进砧上、上砧突然压住旋转着的锻件时,摩擦盘2、3打滑,可以防止原动机1过载,造成钳杆旋转机构损坏。机构通过齿轮4输出,碟形弹簧5可调整摩擦力矩的大小。 |
||||||||
|
摩擦式过载保护装置 |
||||||||
|
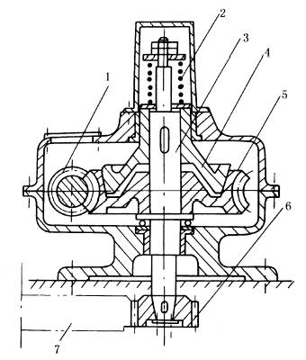
图(3)中,主动带轮1通过套筒6活套在轴套5上,带轮通过摩擦片7和8、5端面间的摩擦力带动轴2。过载时,摩擦面间打滑,起保险作用。摩擦面间的压力是由碟形弹簧9产生的。摩擦面也可做成锥面,以增大接触面间的正压力。用螺母10调整压紧力的大小,可改变极限力矩值。图中3是键,4是螺钉。 图(4)中,超载时,摩擦盘4打滑,防止烧坏原动机。机构是由原动机带动蜗杆1,驱动蜗轮5,通过摩擦盘4和主轴3传动齿轮6、7输出。弹簧2可调节摩擦力矩的大小。 |
||||||||
|
图(3)平面摩擦保险离合器 |
图(4)极限力矩联轴器超载保护装置 |
|||||||
|
图(5)中,主动套1通过钢球2带动方柄丝锥3,过载时,丝锥方柄将钢球2推至孔中,1、3间打滑,防止丝锥折断。螺钉用以调节弹簧压力,以调整极限扭矩。 图(6)中,主动盘1和从动盘2都装有滚珠,由于弹簧4推力的作用,主动盘和从动盘的滚珠相啮合。套筒3用键与轴联接,同时用滑键与从动盘2相联。螺母5用来调整弹簧压力,当传递的扭矩超过许用值时,弹簧被压缩,使从动盘2向右滑移。机构用于经常过载又需要安全的地方,如机床的进给机构。 |
||||||||
|
图(5)钢球保险器 |
图(6)滚珠式安全联轴器 |
|||||||
|
图(7)中,主动曲柄1绕A转动,带动摇杆3绕D点摆动,此时D相当于一固定支座。过载时,杆3的支点D压缩弹簧实现保护作用。 图(8)为弹簧保险机构。正常工作时,如图a,由主动杆1通过滑块2、弹簧3带动杆4、5和棘爪6,使棘轮7作单向间歇转动。过载时杆1通过滑块2压缩弹簧3,并使销a由杆8的窄槽滑到凹口中,如图b,此时,棘爪6被抬起,杆5的摆动不再带动轮7。如在图示位置设行程开关b,则杆1回程时碰撞开关b,使电路断开,机构停止运动。 |
||||||||
|
图(7)弹簧支座过载保险装置 |
图(8)弹簧保险机构 |
|||||||
|
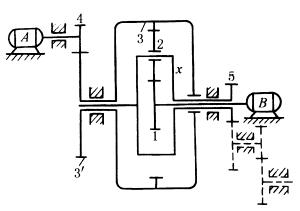
图(9)中,1是主动轴,5是从动轴,如制动器4松开,则内齿轮3空转,轴5不动(由于轴5上有载荷,不易被带动)。拉紧制动器4,则3不动,1带动5转动。 图(10)中,曲柄1主动,摇块3与从动盘5铰接,带有重锤4的杆2可相对于3滑动。曲柄1转速不高时,盘5不动(由于盘5上有载荷),1、2、3成为曲柄摇块机构。轴1转速增高到一定值后,4的离心力有使1、2拉成直线的趋势,盘5被带动。若固结在从动盘5上的从动轴过载,盘5不动,又成为曲柄摇块机构。 |
||||||||
|
图(9)差动离合器 |
图(10)离心式保险离合器 |
|||||||
|
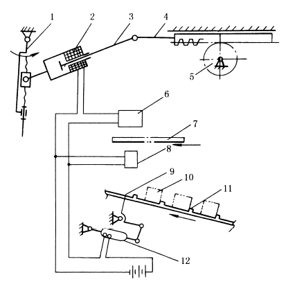
右图为双电机驱动的提升机构。工作时若一个电机发生故障,可通过电气保护将该电机制动,另一电机继续工作。可用于铸造吊车。通过轮5将运动输出,轮5的转数为
式中 nA、nB—— 分别为电机A、B的转速。 |
双电机驱动的提升机构 |
|||||||
|
下图为断纱自动停车机构。正常工作时,重量很轻的探测器9挂在纱8上,杆7被弹簧6拉紧,使铰链A相对固定,凸轮1作为发动机构,带动滑杆10左右移动。断纱时,探测器9下落到虚线位置,杆10向右运动受到阻碍,C点不动,杆11迫使杆7转动,通过5、4推动停车执行机构3,使离合器2脱开。从而使机器工作系统的主动轴Ⅰ和从动轴Ⅱ断开。 |
||||||||
|
断纱自动停车机构 |
||||||||
|
下图中,1是可调长度的曲柄,2上有线圈,3为衔铁,当线圈中通电时,2、3吸合,组成不变长度的连杆。断电时,2、3可相对伸缩,曲柄1虽继续转动,但连接包装系统的齿条4和齿轮5仍保持不动。如果纸7和被包装物10中有一个没有被送到包装位置,则水银开关12或光电开关6(8是光源)中就有一个没有闭合,线圈中无电,包装系统停止工作。 |
||||||||
|
包装联动光电控制自动停车装置 |
||||||||
|
图(11)中,具有左、右螺纹的螺杆5绕轴线x-x转动,带动螺母1和4相向移动而缩短距离,使摇杆2和6分别沿顺时针和逆时针方向转动,从而带动左、右两闸块a制动轮3。 图(12)中,制动块1被弹簧2驱动制动,液压缸电机通电时,推杆伸出使制动块松闸。 图(13)中,制动盘1用键固定于轴3上,在该圆盘与箱体4之间的孔腔内充满液体,其液力影响作用于轴3上的制动力矩。 |
||||||||
|
图(11)外抱块式制动器 |
图(12)液压推杆块式制动器 |
图(13)液力制动装置 |
||||||
|
下图a为盘式制动器的安装简图。制动缸2通过机架3成对布置在制动盘1的两侧。制动缸端部的摩擦块4对制动盘压紧产生制动。 图b为制动缸结构图。碟形弹簧7推动活塞9及顶杆8,使制动摩擦块2压向制动盘1。当A管通入液压油后,活塞9右移压碟形弹簧7而松闸。3为缸体,4为导引部分,5为调整垫片,6为磨损量指示器。 |
||||||||
|
液压盘式制动器 |
||||||||
|
磁粉制动器(如下图(14)所示)是在内定子1与转子7之间充以磁粉2,线圈3通电后,磁粉2在磁场的作用下(4为磁路)形成磁粉链,对转子7产生制动力矩。转子与转动轴相连,定子1固定,6为隔磁环,5为导磁壳体。 内张蹄式制动器(如下图(15)所示)多用于汽车。汽车要减速制动时,踩下制动踏板1,驱动主缸活塞3使制动缸6中的液压增高,使轮缸活塞7向外伸张,则制动蹄10上的制动衬片9对制动鼓8进行制动。 |
||||||||
|
图(14)磁粉制动器
|
图(15)内张蹄式制动器 1—制动踏板;2—推杆;3—主缸活塞;4—制动主缸;5—油管; 6—制动轮缸;7—轮缸活塞;8—制动鼓;9—制动衬片;10—制动蹄; 11—制动底板;12—支承销;13—制动蹄回位弹簧;MT—制动力矩; PO—车轮对地面作用向后的圆周力;PT—地面对车轮作用向前反作用力 |
|||||||























