|
无级变速机构 |
|
|
图1,机构是利用摩擦传递动力,通过改变中间钢球的工作半径进行变速。主动轴1通过加压盘2经钢球带动摩擦盘3同速转动,再经过一组钢球5(3~8个)驱动从动摩擦盘7和输出油9。调速是通过蜗杆、带有槽凸轮的蜗轮(图中未画出)使钢球5的轴4转动α角来实现。主、从动轴上的加压机构能自动地施加与载荷成正比的压紧力,使摩擦盘与传动钢球5相互压紧,确保在没有滑动的情况下传递动力。传动比为:
目前一般使用传动比iB=1/3~3,使用变速范围Rb8≤9,功率N≤0.2~11kW,效率η=0.8~0.9。其特点为体积小,结构紧凑,可增速或减速,但制造精度要求较高。输出传递动力特性基本上为恒功率。在纺织、电影及机床等行业中均有应用 |
|
|
图1 钢球外锥轮式无级变速机构 |
|
|
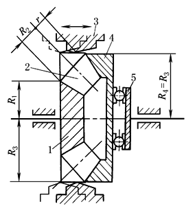
图2,主动摩擦盘1带动行星锥2转动,锥2一般为5个,沿圆周均布,并置于保持架中,既自转又公转,锥2的正锥与不动的外环3相接触,其截锥靠摩擦力使输出摩擦盘4旋转,再经加压机构带动输出轴5转动。调速时通过调速机构(图中未示出)使外环3作轴向移动,改变正锥的工作半径r 达到调整。传动比为:
式中 r—— 行星锥与外环接触处的半径; R3—— 外环3的工作半径; R1、R2、R4—— 主动盘1、行星锥2和输出盘4的大头半径 由式可知,当r变小趋于零时,输出转速n5最高,并与输入轴转向相反,当r逐渐增大,使r=(R3/R1)R2时,输出轴转速n5=0,为了保证输出力矩稳定,一般i=-80~-110之间;使用变速范围Rb5≤38.5;传递功率N≤2.2kW,效率η=0.6~0.7。此机构具有体积小,传递力矩大,调速范围大的特点,是属于恒扭矩输出的减速型变速机构,可在停车情况下进行调速 |
图2 内锥输出行星式无级变速机构 |
|
图3,机构是由连杆机构与单向超越离合器组成。通过改变连杆机构中某一构件的长度,使摇杆(即超越离合器的外环)得到不同的摆角来达到无级变速的目的 图a,曲柄AB上的曲柄销B可滑动,以改变曲柄长度,曲柄每转一周,带动摇杆CD摆动一个角度。改变AB的长度,则摇杆CD的摆角也相应改变,以实现变速。输出端作单向间歇脉动回转 图b是一个多杆铰链机构,图中圆弧C " 和C ' 表示CD分别以D1、D2为圆心时的圆弧。当主动曲柄1匀速转动时,通过改变杆3右端滑块7在弧形槽中的位置(在D1、D2之间),即改变机架AD的长度,使输出杆5实现变速。图c是上述机构与单向超越离合器组成的机构的结构简图,可实现单向脉动输出。图示位置表示滑块7固定于D2点,此时铰接点C沿圆弧C ' 运动,此位置时,由于C、D2、E在一直线上(见图b),故E点近似保持不动,杆5与输出轴6接近零速。图d表示滑块固定于D1点,此时C点沿圆弧C " 运动,输出轴6以最大的角速度转动 |
|
|
图3 连杆式脉动无级变速机构 |
|
|
图中两机构各仅有一曲柄摇杆机构带动一个单向超越离合器,其输出是间隔脉动回转,输出极不平稳,为减小脉动不均匀性,常采用多相(3~5相)并列,几个曲柄-单向超越离合器交替重叠地带动一根输出轴,使输出的均匀性提高。这种机构简单可靠,变速性能稳定,停止和运行时均可调速。适用于中、小功率(约10kW以下),中、低速(40~1000r/min)的减速变速,以及对输出轴旋转均匀性要求不严的场合。如一些轻工包装、食品等机械中均有应用 |
|
|
无级变速机构的型式很多,如多盘式、齿链式及传送带式等均有较广泛的应用 |
|




