|
工作原理和主要类型 |
|
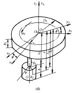
下图a所示圆柱分度凸轮机构,主动凸轮1为圆柱体,从动转盘2上装有几个沿转盘圆周方向均布的滚子,其轴线与转盘轴线平行,凸轮和转盘两轴线垂直交错。当凸轮旋转时,其分度段轮廓推动滚子使转盘分度转位;当凸轮转到其停歇段轮廓时,转盘上的两个滚子跨夹在凸轮的圆环面突脊上使转盘停止转动。圆柱滚子与凸轮轮廓间的间隙较难补偿,容易产生跨越冲击,滚子轴的刚度及与凸轮的啮合性能均不及弧面分度凸轮机构,故一般多用于中、低速及中、轻载场合。但圆柱凸轮比弧面凸轮容易制造,而且从结构上比弧面分度凸轮沿同样尺寸转盘圆周能分布更多的滚子数,故适用于需要分度数较多的场合。圆柱凸轮的分度段轮廓也有左旋、右旋与单头、多头之分
圆柱分度凸轮机构 (a)圆柱分度凸轮机构的坐标系及尺寸;(b)垂直于转盘轴线的凸轮和转盘俯视图; (c)垂直于凸轮轴线的凸轮节圆柱剖视图;(d)转盘及圆柱滚子的坐标系及尺寸 |




