|
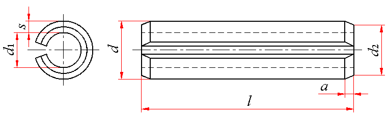
弹性圆柱销 直槽 轻型(GB/T 879.2—2000) mm |
||||||||
|
对d≥10mm的弹性销,也可由制造者选用单面倒角的型式;d2<d公称 |
||||||||
|
标记示例: 公称直径d=6mm、公称长度l=30mm、材料为钢(St)、热处理硬度500~560HV30、表面氧化处理、直槽、轻型弹性圆柱销的标记: 销 GB/T 879.2 6×30 |
||||||||
|
d |
d1 (参考) 装配前 |
a |
s |
最小剪切载荷 双面剪①,kN |
l的范围 |
|||
|
公称 |
装配前 |
|||||||
|
max |
min |
max |
min |
|||||
|
2 |
2.4 |
2.3 |
1.9 |
0.4 |
0.2 |
0.2 |
1.5 |
4~30 |
|
2.5 |
2.9 |
2.8 |
2.3 |
0.45 |
0.25 |
0.25 |
2.4 |
4~30 |
|
3 |
3.5 |
3.3 |
2.7 |
0.45 |
0.25 |
0.3 |
3.5 |
4~40 |
|
3.5 |
4.0 |
3.8 |
3.1 |
0.5 |
0.3 |
0.35 |
4.6 |
4~40 |
|
4 |
4.6 |
4.4 |
3.4 |
0.7 |
0.5 |
0.5 |
8 |
4~50 |
|
4.5 |
5.1 |
4.9 |
3.9 |
0.7 |
0.5 |
0.5 |
8.8 |
6~50 |
|
5 |
5.6 |
5.4 |
4.4 |
0.7 |
0.5 |
0.5 |
10.4 |
6~80 |
|
6 |
6.7 |
6.4 |
4.9 |
0.9 |
0.7 |
0.75 |
18 |
10~100 |
|
8 |
8.8 |
8.5 |
7 |
1.8 |
1.5 |
0.75 |
24 |
10~120 |
|
10 |
10.8 |
10.5 |
8.5 |
2.4 |
2.0 |
1 |
40 |
10~160 |
|
12 |
12.8 |
12.5 |
10.5 |
2.4 |
2.0 |
1 |
48 |
10~180 |
|
13 |
13.8 |
13.5 |
11 |
2.4 |
2.0 |
1.2 |
66 |
10~180 |
|
14 |
14.8 |
14.5 |
11.5 |
2.4 |
2.0 |
1.5 |
84 |
10~200 |
|
16 |
16.8 |
16.5 |
13.5 |
2.4 |
2.0 |
1.5 |
98 |
10~200 |
|
18 |
18.9 |
18.5 |
15 |
2.4 |
2.0 |
1.7 |
126 |
10~200 |
|
20 |
20.9 |
20.5 |
16.5 |
2.4 |
2.0 |
2 |
58 |
10~200 |
|
21 |
21.9 |
21.5 |
17.5 |
2.4 |
2.0 |
2 |
168 |
14~200 |
|
25 |
25.9 |
25.5 |
21.5 |
3.4 |
3.0 |
2 |
202 |
14~200 |
|
28 |
28.9 |
28.5 |
23.5 |
3.4 |
3.0 |
2.5 |
280 |
14~200 |
|
30 |
30.9 |
30.5 |
25.5 |
3.4 |
3.0 |
2.5 |
302 |
14~200 |
|
35 |
35.9 |
35.5 |
28.5 |
3.6 |
3.0 |
3.5 |
490 |
20~200 |
|
40 |
40.9 |
40.5 |
32.5 |
4.6 |
4.0 |
4 |
634 |
20~200 |
|
45 |
45.9 |
45.5 |
37.5 |
4.6 |
4.0 |
4 |
720 |
20~200 |
|
50 |
50.9 |
50.5 |
40.5 |
4.6 |
4.0 |
5 |
1 000 |
20~200 |
|
① 仅适用于钢和马氏体不锈钢产品;对奥氏体不锈钢弹性销,不规定双面剪切载荷值。 |
||||||||
|
公称长度l的商品规格系列: mm |
||||||||||||
|
公称 |
4 |
5 |
6 |
8 |
10 |
12 |
14 |
16 |
18 |
20 |
22 |
24 |
|
min |
3.75 |
4.75 |
5.75 |
7.75 |
9.75 |
11.5 |
13.5 |
15.5 |
17.5 |
19.5 |
21.5 |
23.5 |
|
max |
4.25 |
5.25 |
6.25 |
8.25 |
10.25 |
12.5 |
14.5 |
16.5 |
18.5 |
20.5 |
22.5 |
24.5 |
|
公称 |
26 |
28 |
30 |
32 |
35 |
40 |
45 |
50 |
55 |
60 |
65 |
70 |
|
min |
25.5 |
27.5 |
29.5 |
31.5 |
34.5 |
39.5 |
44.5 |
49.5 |
54.25 |
59.25 |
64.25 |
69.25 |
|
max |
26.5 |
28.5 |
30.5 |
32.5 |
35.5 |
40.5 |
45.5 |
50.5 |
55.75 |
60.75 |
65.75 |
70.75 |
|
公称 |
75 |
80 |
85 |
90 |
95 |
100 |
120 |
140 |
160 |
180 |
200 |
|
|
min |
74.25 |
79.25 |
84.25 |
89.25 |
94.25 |
99.25 |
119.25 |
139.25 |
159.25 |
179.25 |
199.25 |
|
|
max |
75.75 |
80.75 |
85.75 |
90.75 |
95.75 |
100.75 |
120.75 |
140.75 |
160.75 |
180.75 |
200.75 |
|
|
注:公称长度大于200mm,按20mm递增。 |
||||||||||||
|
技 术 条 件 |
||||
|
材 料 |
钢 |
奥氏体不锈钢 |
马氏体不锈钢 |
|
|
St(由制造者任选) |
A |
C |
||
|
化学成分,% |
||||
|
优质碳素钢 |
硅锰钢 |
C≤0.15 Mn≤2.00 Si≤1.50 Cr:16~20 Ni:6~12 P≤0.045 S≤0.03 Mo≤0.8 冷加工 |
C≥0.15 Mn≤1.00 Si≤1.00 Cr:11.5~14 Ni≤1.00 P≤0.04 S≤0.03 淬火并回火硬度: 460~560HV30 |
|
|
C≥0.64 Mn≥0.60 淬火并回火硬度: 420~520HV30 或奥氏体回火硬度: 500~560HV30 |
C≥0.5 Si≥1.5 Mn≥0.7 淬火并回火硬度: 420~560HV30 |
|||
|
直槽 |
槽的形状和宽度由制造者任选 |
|||
|
表面缺陷 |
不允许有不规则的和有害的缺陷。销的任何部位不得有毛刺 |
|||
|
表面处理 |
不经处理;氧化;磷化;镀锌钝化 |
简单处理 |
||
|
其他表面镀层或表面处理,应由供需双方协议。所有公差仅适用于涂、镀前的公差 |
||||
|
质量 kg |
||||||||||||
|
公称直径/mm |
2 |
2.5 |
3 |
3.5 |
4 |
4.5 |
5 |
6 |
8 |
10 |
12 |
13 |
|
公称长度/mm |
每1000件钢制品的质量 ≈ |
|||||||||||
|
4 |
0.038 |
0.059 |
0.079 |
0.108 |
0.177 |
|
|
|
|
|
|
|
|
5 |
0.048 |
0.074 |
0.099 |
0.135 |
0.221 |
|
|
|
|
|
|
|
|
6 |
0.057 |
0.088 |
0.119 |
0.162 |
0.265 |
0.290 |
0.327 |
|
|
|
|
|
|
8 |
0.077 |
0.118 |
0.159 |
0.216 |
0.353 |
0.387 |
0.436 |
|
|
|
|
|
|
10 |
0.096 |
0.147 |
0.198 |
0.270 |
0.442 |
0.484 |
0.545 |
0.927 |
1.32 |
2.19 |
2.65 |
3.38 |
|
12 |
0.115 |
0.177 |
0.238 |
0.324 |
0.530 |
0.580 |
0.654 |
1.11 |
1.58 |
2.62 |
3.18 |
4.06 |
|
14 |
0.134 |
0.206 |
0.278 |
0.378 |
0.618 |
0.677 |
0.763 |
1.30 |
1.84 |
3.06 |
3.71 |
4.74 |
|
16 |
0.153 |
0.236 |
0.317 |
0.433 |
0.707 |
0.774 |
0.873 |
1.48 |
2.11 |
3.50 |
4.24 |
5.41 |
|
18 |
0.172 |
0.265 |
0.357 |
0.487 |
0.795 |
0.871 |
0.982 |
1.67 |
2.37 |
3.93 |
4.77 |
6.09 |
|
20 |
0.191 |
0.295 |
0.397 |
0.541 |
0.883 |
0.967 |
1.09 |
1.85 |
2.63 |
4.37 |
5.30 |
6.77 |
|
22 |
0.211 |
0.324 |
0.436 |
0.595 |
0.972 |
1.06 |
1.20 |
2.04 |
2.89 |
4.81 |
5.82 |
7.45 |
|
24 |
0.230 |
0.354 |
0.476 |
0.649 |
1.06 |
1.16 |
1.31 |
2.23 |
3.16 |
5.25 |
6.35 |
8.12 |
|
26 |
0.249 |
0.383 |
0.516 |
0.703 |
1.15 |
1.26 |
1.42 |
2.41 |
3.42 |
5.68 |
6.88 |
8.80 |
|
28 |
0.268 |
0.413 |
0.556 |
0.757 |
1.24 |
1.35 |
1.53 |
2.60 |
3.68 |
6.12 |
7.41 |
9.48 |
|
30 |
0.287 |
0.442 |
0.595 |
0.811 |
1.32 |
1.45 |
1.64 |
2.78 |
3.95 |
6.56 |
7.94 |
10.15 |
|
32 |
|
|
0.635 |
0.865 |
1.41 |
1.55 |
1.75 |
2.97 |
4.21 |
6.99 |
8.47 |
10.83 |
|
35 |
|
|
0.694 |
0.946 |
1.55 |
1.69 |
1.91 |
3.25 |
4.60 |
7.65 |
9.27 |
11.85 |
|
40 |
|
|
0.794 |
1.08 |
1.77 |
1.93 |
2.18 |
3.71 |
5.26 |
8.74 |
10.59 |
13.54 |
|
45 |
|
|
|
|
1.99 |
2.18 |
2.45 |
4.17 |
5.92 |
9.84 |
11.91 |
15.23 |
|
50 |
|
|
|
|
2.21 |
2.42 |
2.73 |
4.64 |
6.58 |
10.93 |
13.24 |
16.92 |
|
55 |
|
|
|
|
|
|
3.00 |
5.10 |
7.24 |
12.02 |
14.56 |
18.61 |
|
60 |
|
|
|
|
|
|
3.27 |
5.56 |
7.89 |
13.12 |
15.89 |
20.31 |
|
65 |
|
|
|
|
|
|
3.54 |
6.03 |
8.55 |
14.21 |
17.21 |
22.00 |
|
70 |
|
|
|
|
|
|
3.82 |
6.49 |
9.21 |
15.30 |
18.53 |
23.69 |
|
75 |
|
|
|
|
|
|
4.09 |
6.95 |
9.87 |
16.39 |
19.86 |
25.38 |
|
80 |
|
|
|
|
|
|
4.36 |
7.42 |
10.53 |
17.49 |
21.18 |
27.07 |
|
85 |
|
|
|
|
|
|
|
7.88 |
11.18 |
18.58 |
22.51 |
28.77 |
|
90 |
|
|
|
|
|
|
|
8.35 |
11.84 |
19.67 |
23.83 |
30.46 |
|
95 |
|
|
|
|
|
|
|
8.81 |
12.50 |
20.77 |
25.15 |
32.15 |
|
100 |
|
|
|
|
|
|
|
9.27 |
13.16 |
21.86 |
26.48 |
33.84 |
|
120 |
|
|
|
|
|
|
|
|
15.79 |
26.23 |
31.77 |
40.61 |
|
140 |
|
|
|
|
|
|
|
|
|
30.60 |
37.07 |
47.38 |
|
160 |
|
|
|
|
|
|
|
|
|
34.97 |
42.36 |
54.15 |
|
180 |
|
|
|
|
|
|
|
|
|
|
47.66 |
60.92 |
|
公称直径/mm |
14 |
16 |
18 |
20 |
21 |
25 |
28 |
30 |
35 |
40 |
45 |
50 |
|
公称长度/mm |
每1000件钢制品的质量 ≈ |
|||||||||||
|
10 |
4.53 |
5.27 |
6.68 |
8.58 |
|
|
|
|
|
|
|
|
|
12 |
5.43 |
6.32 |
8.02 |
10.29 |
|
|
|
|
|
|
|
|
|
14 |
6.34 |
7.37 |
9.35 |
12.01 |
12.70 |
15.46 |
21.48 |
23.21 |
|
|
|
|
|
16 |
7.24 |
8.43 |
10.69 |
13.72 |
14.51 |
17.67 |
24.55 |
26.52 |
|
|
|
|
|
18 |
8.15 |
9.48 |
12.03 |
15.44 |
16.32 |
19.87 |
27.62 |
29.84 |
|
|
|
|
|
20 |
9.05 |
10.53 |
13.36 |
17.15 |
18.14 |
22.08 |
30.69 |
33.15 |
53.04 |
69.50 |
79.05 |
108.7 |
|
22 |
9.96 |
11.59 |
14.70 |
18.87 |
19.95 |
24.29 |
33.75 |
36.47 |
58.35 |
76.45 |
86.96 |
119.5 |
|
24 |
10.86 |
12.64 |
16.03 |
20.58 |
21.76 |
26.50 |
36.82 |
39.78 |
63.65 |
83.40 |
94.86 |
130.4 |
|
26 |
11.77 |
13.69 |
17.37 |
22.30 |
23.58 |
28.71 |
39.89 |
43.10 |
68.96 |
90.35 |
102.8 |
141.3 |
|
28 |
12.67 |
14.75 |
18.71 |
24.01 |
25.39 |
30.92 |
42.96 |
46.41 |
74.26 |
97.30 |
110.7 |
152.1 |
|
30 |
13.58 |
15.80 |
20.04 |
25.73 |
27.21 |
33.12 |
46.03 |
49.73 |
79.57 |
104.2 |
118.6 |
163.0 |
|
32 |
14.48 |
16.85 |
21.38 |
27.44 |
29.02 |
35.33 |
49.10 |
53.04 |
84.87 |
111.2 |
126.5 |
173.9 |
|
35 |
15.84 |
18.43 |
23.38 |
30.01 |
31.74 |
38.65 |
53.70 |
58.02 |
92.83 |
121.6 |
138.3 |
190.2 |
|
40 |
18.11 |
21.07 |
26.72 |
34.30 |
36.27 |
44.17 |
61.37 |
66.30 |
106.1 |
139.0 |
158.1 |
217.4 |
|
45 |
20.37 |
23.70 |
30.07 |
38.59 |
40.81 |
49.69 |
69.04 |
74.59 |
119.3 |
156.4 |
177.9 |
244.5 |
|
50 |
22.63 |
26.33 |
33.41 |
42.88 |
45.34 |
55.21 |
76.72 |
82.88 |
132.6 |
173.7 |
197.6 |
271.7 |
|
55 |
24.90 |
28.96 |
36.75 |
47.16 |
49.88 |
60.73 |
84.39 |
91.17 |
145.9 |
191.1 |
217.4 |
298.9 |
|
60 |
27.16 |
31.60 |
40.09 |
51.45 |
54.41 |
66.25 |
92.06 |
99.46 |
159.1 |
208.5 |
237.2 |
326.0 |
|
65 |
29.42 |
34.23 |
43.43 |
55.74 |
58.95 |
71.77 |
99.73 |
107.7 |
172.4 |
225.9 |
256.9 |
353.2 |
|
70 |
31.68 |
36.86 |
46.77 |
60.03 |
63.48 |
77.29 |
107.4 |
116.0 |
185.7 |
243.2 |
276.7 |
380.4 |
|
75 |
33.95 |
39.50 |
50.11 |
64.31 |
68.01 |
82.81 |
115.1 |
124.3 |
198.9 |
260.6 |
296.4 |
407.5 |
|
80 |
36.21 |
42.13 |
53.45 |
68.60 |
72.55 |
88.33 |
122.7 |
132.6 |
212.2 |
278.0 |
316.2 |
434.7 |
|
85 |
38.47 |
44.76 |
56.8 |
72.89 |
77.08 |
93.85 |
130.4 |
140.9 |
225.4 |
295.4 |
336.0 |
461.9 |
|
90 |
40.74 |
47.40 |
60.1 |
77.18 |
81.62 |
99.37 |
138.1 |
149.2 |
238.7 |
312.7 |
355.7 |
489.0 |
|
95 |
43.00 |
50.03 |
63.5 |
81.47 |
86.15 |
104.9 |
145.8 |
157.5 |
252.0 |
330.1 |
375.5 |
516.2 |
|
100 |
45.26 |
52.66 |
66.8 |
85.75 |
90.69 |
110.4 |
153.4 |
165.8 |
265.2 |
347.5 |
395.3 |
543.4 |
|
120 |
54.32 |
63.20 |
80.2 |
102.9 |
108.8 |
132.5 |
184.1 |
198.9 |
318.3 |
417.0 |
474.3 |
652.1 |
|
140 |
63.37 |
73.73 |
93.5 |
120.1 |
127.0 |
154.6 |
214.8 |
232.1 |
371.3 |
486.5 |
553.4 |
760.7 |
|
160 |
72.42 |
84.26 |
106.9 |
137.2 |
145.1 |
176.7 |
245.5 |
265.2 |
424.4 |
556.0 |
632.4 |
869.4 |
|
180 |
81.48 |
94.79 |
120.3 |
154.4 |
163.2 |
198.7 |
276.2 |
298.4 |
477.4 |
625.5 |
711.5 |
978.1 |
|
200 |
90.53 |
105.3 |
133.6 |
171.5 |
181.4 |
220.8 |
306.9 |
331.5 |
530.4 |
695.0 |
790.5 |
1087 |
