|
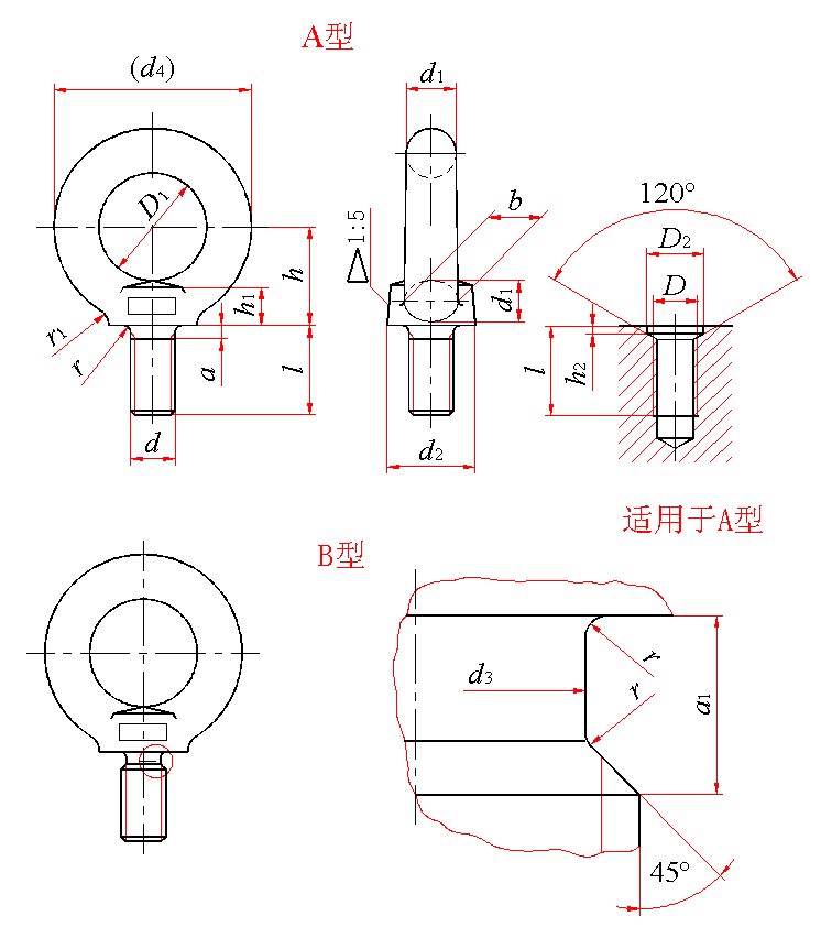
吊环螺钉(GB/T 825—1988) mm |
||||||||||||||||
|
|
||||||||||||||||
|
末端倒角或倒圆按GB2规定; A型无螺纹部分杆径约等于螺纹中径或螺纹大径。 |
||||||||||||||||
|
标记示例: 规格为20mm、材料为20钢、经正火处理、不经表面处理的A型吊环螺钉的标记: 螺钉 GB/T825 M20 |
||||||||||||||||
|
螺纹规格 x×d |
d1 |
D1 |
d2 |
h1 |
l |
d4 参考 |
||||||||||
|
max |
min |
公称 |
min |
max |
max |
min |
max |
min |
公称 |
min |
max |
|||||
|
M8 |
9.1 |
7.6 |
20 |
19 |
20.4 |
21.1 |
19.6 |
7 |
5.6 |
16 |
15.1 |
16.9 |
36 |
|||
|
M10 |
11.1 |
9.6 |
24 |
23 |
24.4 |
25.1 |
23.6 |
9 |
7.6 |
20 |
18.95 |
21.05 |
44 |
|||
|
M12 |
13.1 |
11.6 |
28 |
27 |
28.4 |
29.1 |
27.6 |
11 |
9.6 |
22 |
20.95 |
23.05 |
52 |
|||
|
M16 |
15.2 |
13.6 |
34 |
32.9 |
34.5 |
35.2 |
33.6 |
13 |
11.6 |
28 |
26.95 |
29.05 |
62 |
|||
|
M20 |
17.4 |
15.6 |
40 |
38.8 |
40.6 |
41.4 |
39.6 |
15.1 |
13.5 |
35 |
33.75 |
36.25 |
72 |
|||
|
M24 |
21.4 |
19.6 |
48 |
46.8 |
48.6 |
49.4 |
47.6 |
19.1 |
17.5 |
40 |
38.75 |
41.25 |
88 |
|||
|
M30 |
25.7 |
23.5 |
56 |
54.6 |
56.6 |
57.7 |
55.5 |
23.2 |
21.4 |
45 |
43.75 |
46.25 |
104 |
|||
|
M36 |
30 |
27.5 |
67 |
65.5 |
67.7 |
69 |
66.5 |
27.4 |
25.4 |
55 |
53.5 |
56.5 |
123 |
|||
|
M42 |
34.4 |
31.2 |
80 |
78.1 |
80.9 |
82.4 |
79.2 |
31.7 |
29.2 |
65 |
63.5 |
66.5 |
144 |
|||
|
M48 |
40.7 |
37.1 |
95 |
92.9 |
96.1 |
97.7 |
94.1 |
36.9 |
34.1 |
70 |
68.5 |
71.5 |
171 |
|||
|
M56 |
44.7 |
41.1 |
112 |
109.9 |
113.1 |
114.7 |
111.1 |
39.9 |
37.1 |
80 |
78.5 |
81.5 |
196 |
|||
|
M64 |
51.4 |
46.9 |
125 |
122.3 |
126.3 |
128.4 |
123.9 |
44.1 |
40.9 |
90 |
88.25 |
91.75 |
221 |
|||
|
M72×6 |
63.8 |
58.8 |
140 |
137 |
141.5 |
143.8 |
138.8 |
52.4 |
48.8 |
100 |
98.25 |
101.75 |
260 |
|||
|
M80×6 |
71.8 |
66.8 |
160 |
157 |
161.5 |
163.8 |
158.8 |
57.4 |
53.8 |
115 |
113.25 |
116.75 |
296 |
|||
|
M100×6 |
79.2 |
73.6 |
200 |
196.7 |
201.7 |
204.2 |
198.6 |
62.4 |
58.8 |
140 |
138 |
142 |
350 |
|||
|
螺纹规格 x×d |
h |
r1 |
r min |
a1 max |
d3 |
a max |
b |
D |
D2 |
h2 |
||||||
|
公称(max) |
min |
公称(min) |
max |
公称(min) |
max |
|||||||||||
|
M8 |
18 |
4 |
1 |
3.75 |
6 |
5.82 |
2.5 |
10 |
M8 |
13 |
13.43 |
2.5 |
2.9 |
|||
|
M10 |
22 |
4 |
1 |
4.5 |
7.7 |
7.48 |
3 |
12 |
M10 |
15 |
15.43 |
3 |
3.4 |
|||
|
M12 |
26 |
6 |
1 |
5.25 |
9.4 |
9.18 |
3.5 |
14 |
M12 |
17 |
17.52 |
3.5 |
3.98 |
|||
|
M16 |
31 |
6 |
1 |
6 |
13 |
12.73 |
4 |
16 |
M16 |
22 |
22.52 |
4.5 |
4.98 |
|||
|
M20 |
36 |
8 |
1 |
7.5 |
16.4 |
16.13 |
5 |
19 |
M20 |
28 |
28.52 |
5 |
5.48 |
|||
|
M24 |
44 |
12 |
2 |
9 |
19.6 |
19.27 |
6 |
24 |
M24 |
32 |
32.62 |
7 |
7.58 |
|||
|
M30 |
53 |
15 |
2 |
10.5 |
25 |
24.67 |
7 |
28 |
M30 |
38 |
38.62 |
8 |
8.58 |
|||
|
M36 |
63 |
18 |
3 |
12 |
30.8 |
29.91 |
8 |
32 |
M36 |
45 |
45.62 |
9.5 |
10.08 |
|||
|
M42 |
74 |
20 |
3 |
13.5 |
35.6 |
35.21 |
9 |
38 |
M42 |
52 |
52.74 |
10.5 |
11.2 |
|||
|
M48 |
87 |
22 |
3 |
15 |
41 |
40.61 |
10 |
46 |
M48 |
60 |
60.74 |
11.5 |
12.2 |
|||
|
M56 |
100 |
25 |
4 |
16.5 |
48.3 |
47.91 |
11 |
50 |
M56 |
68 |
68.74 |
12.5 |
13.2 |
|||
|
M64 |
115 |
25 |
4 |
18 |
55.7 |
55.24 |
12 |
58 |
M64 |
75 |
75.74 |
13.5 |
14.2 |
|||
|
M72×6 |
130 |
35 |
4 |
18 |
63.7 |
63.24 |
12 |
72 |
M72×6 |
85 |
85.87 |
14 |
14.7 |
|||
|
M80×6 |
150 |
35 |
4 |
18 |
71.7 |
71.24 |
12 |
80 |
M80×6 |
95 |
95.87 |
14 |
14.7 |
|||
|
M100×6 |
175 |
40 |
5 |
18 |
91.7 |
91.16 |
12 |
88 |
M100×6 |
115 |
115.87 |
14 |
14.7 |
|||
|
规格(d) |
M8 |
M10 |
M12 |
M16 |
M20 |
M24 |
M30 |
M36 |
M42 |
M48 |
M56 |
M64 |
M72×6 |
M80×6 |
M100×6 |
|
|
单螺钉起吊 |
0.16 |
0.25 |
0.4 |
0.63 |
1 |
1.6 |
2.5 |
4 |
6.3 |
8 |
10 |
16 |
20 |
25 |
40 |
|
|
双螺钉起吊 |
0.08 |
0.125 |
0.2 |
0.32 |
0.5 |
0.8 |
1.25 |
2 |
3.2 |
4 |
5 |
8 |
10 |
12.5 |
20 |
|
|
技术条件 |
材料 |
螺纹公差 |
热处理 |
表面处理 |
||||||||||||
|
20或25钢 |
8g |
整体铸造,正火处理 |
1.不处理;2.镀锌钝化;3.镀铬 |
|||||||||||||
|
注:M8~M36为商品紧固件规格。 |
||||||||||||||||
|
质量 kg |
||||||||||||||
|
螺纹规格 |
M8 |
M10 |
M12 |
M16 |
M20 |
M24 |
M30 |
M36 |
||||||
|
每1000件钢制品的质量 ≈ |
40.51 |
77.91 |
131.7 |
233.7 |
385.2 |
705.3 |
1205 |
1998 |
||||||
|
螺纹规格 |
M42 |
M48 |
M56 |
M64 |
M72×6 |
M80×6 |
M100×6 |
|||||||
|
每1000件钢制品的质量 ≈ |
3070 |
4947 |
7155 |
10382 |
17758 |
25892 |
40273 |
|||||||
