|
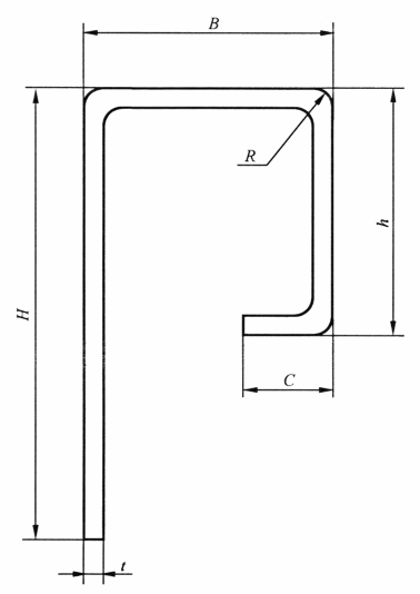
上边框的基本尺寸与主要参数(GB/T 6726—2008) |
||||||||
|
|
代号:SB H——高度; h——小高度; B——宽度; C——筋宽; t——壁厚; R——外圆弧半径 |
|||||||
|
截面尺寸/mm |
边长/mm |
壁厚/mm |
理论重量/ (kg/m) |
截面面积/ cm2 |
||||
|
H×B×h×C |
H |
B |
h |
C |
t |
|||
|
65×40×40×12 |
65 |
40 |
40 |
12 |
2.5 |
2.75 |
3.526 |
|
|
65 |
40 |
40 |
12 |
3.0 |
3.30 |
4.227 |
||
|
65×50×30×12 |
65 |
50 |
30 |
12 |
2.5 |
2.75 |
3.526 |
|
|
65 |
50 |
30 |
12 |
3.0 |
3.30 |
4.227 |
||
|
65×50×40×12 |
65 |
50 |
40 |
12 |
2.5 |
2.86 |
3.667 |
|
|
65 |
50 |
40 |
12 |
3.0 |
3.56 |
4.566 |
||
|
65×50×40×22 |
65 |
50 |
40 |
22 |
2.5 |
3.06 |
3.923 |
|

