|
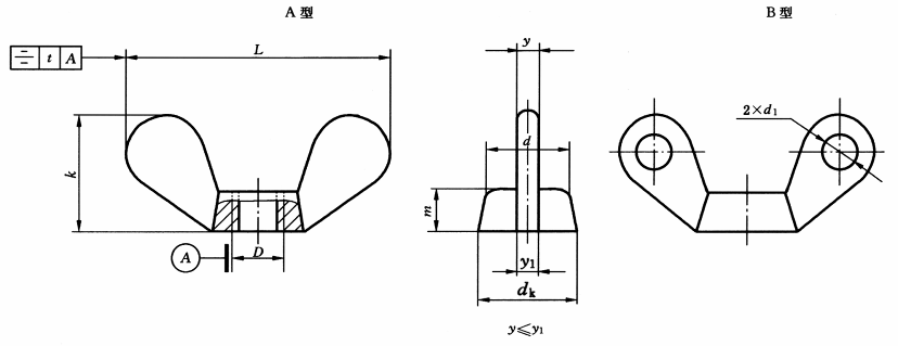
蝶形螺母 圆翼(GB/T 62.1—2004) mm |
|||||||||||||||
|
|
|||||||||||||||
|
标记示例: 螺纹规格D=M10、材料为Q215、保证扭矩为I级、表面氧化处理、两翼为半圆形的A型蝶形螺母的标记: 螺母 GB/T 62.1 M10 |
|||||||||||||||
|
螺纹规格D |
dk min |
d ≈ |
L |
k |
m min |
y max |
y1 max |
d1 max |
t max |
||||||
|
M2 |
4 |
3 |
12 |
±1.5 |
6 |
±1.5 |
2 |
2.5 |
3 |
2 |
0.3 |
||||
|
M2.5 |
5 |
4 |
16 |
8 |
3 |
2.5 |
3 |
2.5 |
0.3 |
||||||
|
M3 |
5 |
4 |
16 |
8 |
3 |
2.5 |
3 |
3 |
0.4 |
||||||
|
M4 |
7 |
6 |
20 |
10 |
4 |
3 |
4 |
4 |
0.4 |
||||||
|
M5 |
8.5 |
7 |
25 |
12 |
5 |
3.5 |
4.5 |
4 |
0.5 |
||||||
|
M6 |
10.5 |
9 |
32 |
±2 |
16 |
6 |
4 |
5 |
5 |
0.5 |
|||||
|
M8 |
14 |
12 |
40 |
20 |
8 |
4.5 |
5.5 |
6 |
0.6 |
||||||
|
M10 |
18 |
15 |
50 |
25 |
10 |
5.5 |
6.5 |
7 |
0.7 |
||||||
|
M12 |
22 |
18 |
60 |
30 |
12 |
7 |
8 |
8 |
1 |
||||||
|
(M14) |
26 |
22 |
70 |
35 |
±2 |
14 |
8 |
9 |
9 |
1.1 |
|||||
|
M16 |
26 |
22 |
70 |
35 |
14 |
8 |
9 |
10 |
1.2 |
||||||
|
(M18) |
30 |
25 |
80 |
40 |
16 |
8 |
10 |
10 |
1.4 |
||||||
|
M20 |
34 |
28 |
90 |
±2.5 |
45 |
18 |
9 |
11 |
11 |
1.5 |
|||||
|
(M22) |
38 |
32 |
100 |
50 |
20 |
10 |
12 |
11 |
1.6 |
||||||
|
M24 |
43 |
36 |
112 |
56 |
22 |
11 |
13 |
12 |
1.8 |
||||||
|
注:尽可能不采用括号内的规格。 |
|||||||||||||||
|
技术条件和引用标准 |
|||||||||||||||
|
材 料a |
钢 |
不锈钢 |
有色金属 |
||||||||||||
|
Q215、Q235 (GB/T 700) KT 30–6 (GB/T 978) |
1Cr18Ni9 (GB/T 1220) |
H62 (GB/T 5231) |
|||||||||||||
|
螺 纹 |
公 差 |
7H |
|||||||||||||
|
标 准 |
GB/T 193、GB/T 9145 |
||||||||||||||
|
保证扭矩 |
等 级 |
Ⅰ级 |
Ⅰ级 |
Ⅱ级 |
|||||||||||
|
标 准 |
TB/T 3098.20 |
||||||||||||||
|
表面处理 |
氧化; 电镀,技术要求按GB/T 5267.1 |
简单处理 |
简单处理 |
||||||||||||
|
验收及包装 |
GB/T 90.1、GB/T 90.2 |
||||||||||||||
|
注:a 材料牌号仅系推荐采用的,制造者可根据实际条件与经验选用其他材料牌号及技术条件。 |
|||||||||||||||
|
质量 kg |
||||||||
|
螺纹规格 |
M2 |
M2.5 |
M3 |
M4 |
M5 |
M6 |
M8 |
M10 |
|
每1000件钢制品的质量≈ |
0.922 |
1.65 |
1.95 |
3.54 |
6.60 |
11.03 |
19.76 |
36.15 |
|
螺纹规格 |
M12 |
M14 |
M16 |
M18 |
M20 |
M22 |
M24 |
|
|
每1000件钢制品的质量≈ |
65.74 |
98.27 |
101.0 |
144.4 |
211.9 |
301.9 |
424.8 |
|

