非金属嵌件六角锁紧薄螺母 (GB/T 6172.2—2016) mm | ||||||||||||
| ||||||||||||
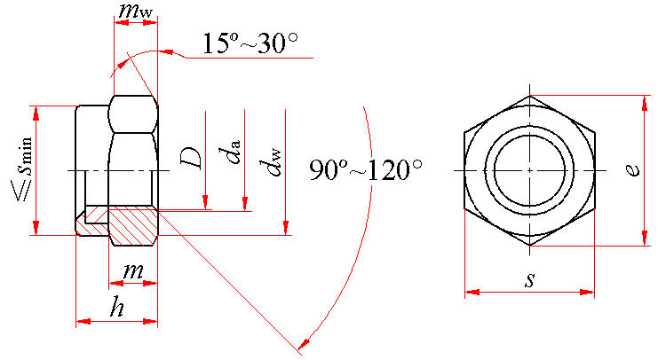
标记示例: 螺纹规格D=M12、性能等级为04级、不经表面处理、产品等级为A级的非金属嵌件六角锁紧薄螺母的标记: 螺母 GB/T 6172.2 M12 | ||||||||||||
螺纹规格 D | 螺距 P | da | dw min | e min | h | m min | mw min | s | ||||
max | min | max | min | max | min | |||||||
M3 | 0.5 | 3.45 | 3.00 | 4.6 | 6.01 | 3.90 | 3.42 | 1.55 | 1.24 | 5.50 | 5.32 | |
M4 | 0.7 | 4.6 | 4.0 | 5.9 | 7.66 | 5.00 | 4.52 | 1.95 | 1.56 | 7.00 | 6.78 | |
M5 | 0.8 | 5.75 | 5.00 | 6.9 | 8.79 | 5.00 | 4.52 | 2.45 | 1.96 | 8.00 | 7.78 | |
M6 | 1 | 6.75 | 6.00 | 8.9 | 11.05 | 6.00 | 5.52 | 2.9 | 2.32 | 10.00 | 9.78 | |
M8 | 1.25 | 8.75 | 8.00 | 11.6 | 14.38 | 6.76 | 6.18 | 3.7 | 2.96 | 13.00 | 12.73 | |
M10 | 1.5 | 10.8 | 10.0 | 14.6 | 17.77 | 8.56 | 7.98 | 4.7 | 3.76 | 16.00 | 15.73 | |
M12 | 1.75 | 13 | 12 | 16.6 | 20.03 | 10.23 | 9.53 | 5.7 | 4.56 | 18.00 | 17.73 | |
(M14) | 2 | 15.1 | 14.0 | 19.6 | 23.35 | 11.32 | 10.22 | 6.42 | 5.14 | 21.00 | 20.67 | |
M16 | 2 | 17.3 | 16.0 | 22.5 | 26.75 | 12.42 | 11.32 | 7.42 | 5.94 | 24.00 | 23.67 | |
M20 | 2.5 | 21.6 | 20.0 | 27.7 | 32.95 | 14.9 | 13.1 | 9.1 | 7.28 | 30.00 | 29.16 | |
M24 | 3 | 25.9 | 24.0 | 33.2 | 39.55 | 17.8 | 16.0 | 10.9 | 8.72 | 36 | 35 | |
M30 | 3.5 | 32.4 | 30.0 | 42.8 | 50.85 | 22.2 | 20.1 | 13.9 | 11.12 | 46 | 45 | |
M36 | 4 | 38.9 | 36.0 | 51.1 | 60.79 | 25.5 | 23.4 | 16.9 | 13.52 | 55.0 | 53.8 | |
技术条件 | 材料 | 螺纹公差 | 机械性能等级 | 公差产品等级 | 表面处理 | |||||||
螺母体 | 嵌件 | 6H | 04、05 | D≤16mm:A;D>16mm:B | 不经处理 | |||||||
钢 | 尼龙66 | |||||||||||
注: 尽可能不采用括号内的规格。 | ||||||||||||
质量 kg | |||||||||||||
螺纹规格 | M3 | M4 | M5 | M6 | M8 | M10 | M12 | M14 | M16 | M20 | M24 | M30 | M36 |
每1000件钢制品的质量≈ | 0.23 | 0.46 | 0.69 | 1.36 | 2.82 | 5.41 | 7.81 | 11.86 | 17.72 | 32.27 | 55.80 | 120.5 | 206.8 |

