|
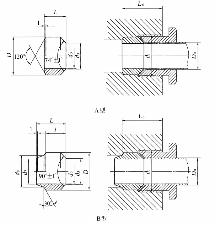
扩口式管接头用密合垫尺寸(摘自GB/T 5651—2008) mm |
|||||||||||
|
扩口式管接头用密合垫 标记示例 管子外径为10 mm,不经表面处理的钢制扩口式管接头用A型密合垫标记为: 密合垫 GB/T 5651 A10 |
|||||||||||
|
管子外径 D0 |
d0 |
适用螺纹 d1 |
d3 |
d7
|
d8
|
D |
l |
L |
L6 |
||
|
A型 |
B型 |
A型 |
B型 |
||||||||
|
4 |
3 |
M10×1 |
3.6 |
5.2 |
5.4 |
8.5 |
5 |
7 |
8 |
11 |
11 |
|
5 |
3.5 |
4.3 |
|||||||||
|
6 |
4 |
M12×1.5 |
4.8 |
5.9 |
6.1 |
10 |
8 |
9 |
13 |
13 |
|
|
8 |
6 |
M14×1.5 |
7 |
7.4 |
7.6 |
12 |
9 |
10 |
15 |
15 |
|
|
10 |
8 |
M16×1.5 |
9 |
9.4 |
9.6 |
14 |
5.5 |
10 |
17 |
16 |
|
|
12 |
10 |
M18×1.5 |
11 |
11.4 |
11.6 |
16 |
7.5 |
11 |
18 |
18 |
|
|
14 |
12 |
M22×1.5 |
13 |
— |
— |
20 |
— |
— |
19 |
— |
|
|
16 |
14 |
M24×1.5 |
15 |
— |
— |
22 |
— |
12 |
— |
20 |
— |
|
18 |
15 |
M27×1.5 |
16.5 |
— |
— |
25 |
— |
— |
22 |
— |
|

