|
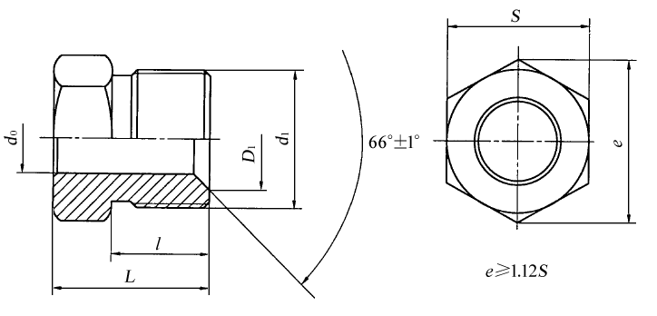
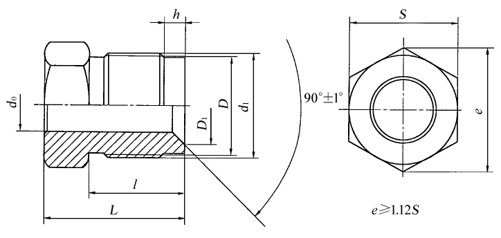
扩口式管接头用空心螺栓尺寸(摘自GB/T 5650—2008) mm |
||||||||||
|
A型
B型 扩口式管接头用空心螺栓 标记示例 管子外径为10 mm,表面镀锌处理的钢制扩口式管接头用A型空心螺栓标记为: 螺栓 GB/T 5650 A10 |
||||||||||
|
管子外径 D0 |
d0
|
d1 |
D |
D1 |
h |
l |
L |
S |
||
|
A型 |
B型 |
A型 |
B型 |
|||||||
|
4 |
4 |
M10×1 |
8.4 |
7 |
4.5 |
8.5 |
12.5 |
13.5 |
17.5 |
12 |
|
5 |
5 |
14.5 |
18.5 |
|||||||
|
6 |
6 |
M12×1.5 |
10 |
8.5 |
11 |
14.5 |
17 |
20.5 |
14 |
|
|
8 |
8 |
M14×1.5 |
11.7 |
10.5 |
5.5 |
13 |
18 |
19 |
24 |
17 |
|
10 |
10 |
M16×1.5 |
13.7 |
12.5 |
13.5 |
18.5 |
20.5 |
25.5 |
19 |
|
|
12 |
12 |
M18×1.5 |
15.7 |
14.5 |
22 |
|||||
|
14 |
14 |
M22×1.5 |
19.7 |
17.5 |
21.5 |
26.5 |
24 |
|||
|
16 |
16 |
M24×1.5 |
21.7 |
19.2 |
27 |
|||||
|
18 |
18 |
M27×1.5 |
24.7 |
22.2 |
30 |
|||||


