|
卡套式管接头和接头体尺寸(摘自GB/T 3751—2008) mm |
|||||||||||||||
|
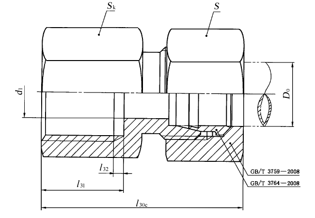
图1 卡套式压力表管接头
图2 卡套式压力表接头体 标记示例 接头系列为1,管子外径为8 mm,表面镀锌处理的钢制卡套式压力表管接头标记为: 管接头 GB/T 3751 18 接头系列为1,管子外径为8 mm,表面镀锌处理的钢制卡套式压力表接头体标记为: 接头体 GB/T 3751 18 |
|||||||||||||||
|
系列 |
最大工作压力 /MPa |
管子外径 D0 |
D |
dk |
d1 |
Sk |
S |
l30 |
l30c |
l31 |
l32max |
||||
|
1 |
250 |
6 |
M12×1.5 |
M10×1 |
G1/8 |
Rp1/8 |
Rc1/8 |
NPT1/8 |
4.5 |
14 |
14 |
22 |
30 |
10 |
1.5 |
|
8 |
M14×1.5 |
M14×1.5 |
G1/4 |
Rp1/4 |
Rc1/4 |
NPT1/4 |
6 |
19 |
17 |
28 |
36 |
15 |
2.2 |
||
|
14 |
M20×1.5 |
M20×1.5 |
G1/2 |
Rp1/2 |
Rc1/2 |
NPT1/2 |
11 |
27 |
24 |
33 |
41 |
18 |
2.2 |
||
|
S |
630 |
6 |
M14×1.5 |
M14×1.5 |
G1/4 |
Rp1/4 |
Rc1/4 |
NPT1/4 |
5.5 |
24(19a) |
17 |
32 |
40 |
15 |
2.2 |
|
12 |
M20×1.5 |
M20×1.5 |
G1/2 |
Rp1/2 |
Rc1/2 |
NPT1/2 |
8 |
36(27a) |
24 |
38 |
47 |
18 |
2.2 |
||
|
注:尽可能不采用括号内的规格。 a 适用于连接圆柱螺纹的压力表。 |
|||||||||||||||


