|
卡套式直通管接头和接头体尺寸(摘自GB/T 3737—2008) mm |
|||||||||
|
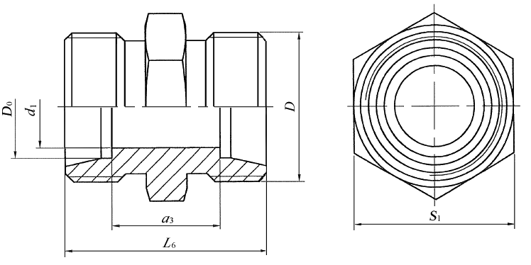
图1 卡套式直通管接头
图2 卡套式直通接头体 标记示例 接头系列为L,管子外径为10mm,表面镀锌处理的钢制卡套式直通管接头标记为: 管接头 GB/T 3737 L10 接头系列为L,管子外径为10mm,表面镀锌处理的钢制卡套式直通接头体标记为: 接头体 GB/T 3737 L10 |
|||||||||
|
系列 |
最大工作压力 /MPa |
管子外径 D0 |
D |
d1 参考 |
L6 ±0.3 |
L6c ≈ |
S |
S1 |
a3 参考 |
|
LL |
10 |
4 |
M8×1 |
3 |
20 |
32 |
10 |
9 |
12 |
|
5 |
M10×1 |
3.5 |
20 |
32 |
12 |
11 |
9 |
||
|
6 |
M10×1 |
4.5 |
20 |
32 |
12 |
11 |
9 |
||
|
8 |
M12×1 |
6 |
23 |
35 |
14 |
12 |
12 |
||
|
L |
25 |
6 |
M12×1.5 |
4 |
24 |
40 |
14 |
12 |
10 |
|
8 |
M14×1.5 |
6 |
25 |
41 |
17 |
14 |
11 |
||
|
10 |
M16×1.5 |
8 |
27 |
43 |
19 |
17 |
13 |
||
|
12 |
M18×1.5 |
10 |
28 |
44 |
22 |
19 |
14 |
||
|
(14) |
M20×1.5 |
11 |
28 |
44 |
24 |
22 |
14 |
||
|
15 |
M22×1.5 |
12 |
30 |
46 |
27 |
24 |
16 |
||
|
(16) |
M24×1.5 |
14 |
31 |
49 |
30 |
27 |
16 |
||
|
16 |
18 |
M26×1.5 |
15 |
31 |
49 |
32 |
27 |
16 |
|
|
22 |
M30×2 |
19 |
35 |
53 |
36 |
32 |
20 |
||
|
10 |
28 |
M36×2 |
24 |
36 |
54 |
41 |
41 |
21 |
|
|
35 |
M45×2 |
30 |
41 |
63 |
50 |
46 |
20 |
||
|
42 |
M52×2 |
36 |
43 |
67 |
60 |
55 |
21 |
||
|
S |
63 |
6 |
M14×1.5 |
4 |
30 |
46 |
17 |
14 |
16 |
|
8 |
M16×1.5 |
5 |
32 |
48 |
19 |
17 |
18 |
||
|
10 |
M18×1.5 |
7 |
32 |
50 |
22 |
19 |
17 |
||
|
12 |
M20×1.5 |
8 |
34 |
52 |
24 |
22 |
19 |
||
|
(14) |
M22×1.5 |
9 |
36 |
54 |
27 |
24 |
21 |
||
|
40 |
16 |
M24×1.5 |
12 |
38 |
58 |
30 |
27 |
21 |
|
|
20 |
M30×2 |
16 |
44 |
66 |
36 |
32 |
23 |
||
|
25 |
M36×2 |
20 |
50 |
74 |
46 |
41 |
26 |
||
|
25 |
30 |
M42×2 |
25 |
54 |
80 |
50 |
46 |
27 |
|
|
38 |
M52×2 |
32 |
61 |
91 |
60 |
55 |
29 |
||
|
注:尽可能不采用括号内的规格。 |
|||||||||


