|
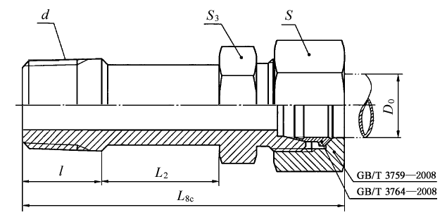
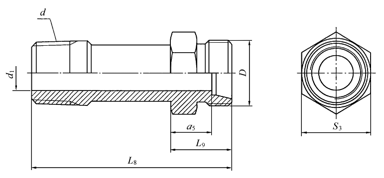
卡套式锥螺纹直通长管接头和接头体尺寸(摘自GB/T 3736—2008) mm |
||||||||||||||
|
标记示例 接头系列为L,管子外径为10 mm,55°密封管螺纹(R),表面镀锌处理的钢制卡套式锥螺纹长管接头标记为: 管接头 GB/T 3736 L10/R1/4 接头系列为L,管子外径为10 mm,55°密封管螺纹(R),表面镀锌处理的钢制卡套式锥螺纹长接头体标记为: 接头体 GB/T 3736 L10/R1/4 |
||||||||||||||
|
系列 |
最大工作压力 /MPa |
管子外径 D0 |
D |
d |
dl 参考 |
L2 |
L9 参考 |
L8 ≈ |
L8c ≈ |
l |
S |
S3 |
a5 参考 |
|
|
LL |
10 |
4 |
M8×1 |
R1/8 |
NPT1/8 |
3 |
22 |
12 |
42.5 |
48.5 |
8.5 |
10 |
14 |
8 |
|
5 |
M10×1 |
R1/8 |
NPT1/8 |
3 |
23 |
12 |
43.5 |
49.5 |
8.5 |
12 |
14 |
6.5 |
||
|
6 |
M10×1 |
R1/8 |
NPT1/8 |
4 |
25 |
12 |
45.5 |
51.5 |
8.5 |
12 |
14 |
6.5 |
||
|
8 |
M12×1 |
R1/8 |
NPT1/8 |
4.5 |
27 |
13 |
48.5 |
54.5 |
8.5 |
14 |
14 |
7.5 |
||
|
L |
25 |
6 |
M12×1.5 |
R1/8 |
NPT1/8 |
4 |
25 |
14 |
47.5 |
55.5 |
8.5 |
14 |
14 |
7 |
|
8 |
M14×1.5 |
R1/4 |
NPT1/4 |
6 |
27 |
15 |
54.5 |
62.5 |
12.5 |
17 |
19 |
8 |
||
|
10 |
M16×1.5 |
R1/4 |
NPT1/4 |
6 |
29 |
16 |
57.5 |
65.5 |
12.5 |
19 |
19 |
9 |
||
|
12 |
M18×1.5 |
R3/8 |
NPT3/8 |
9 |
30 |
17.5 |
60.5 |
68.5 |
13 |
22 |
22 |
10.5 |
||
|
(14) |
M20×1.5 |
R1/2 |
NPT1/2 |
11 |
31 |
17 |
65 |
73 |
17 |
24 |
27 |
10 |
||
|
15 |
M22×1.5 |
R1/2 |
NPT1/2 |
11 |
32 |
18 |
67 |
75 |
17 |
27 |
27 |
11 |
||
|
(16) |
M24×1.5 |
R1/2 |
NPT1/2 |
12 |
32 |
18.5 |
67.5 |
76.5 |
17 |
30 |
27 |
11 |
||
|
16 |
18 |
M26×1.5 |
R1/2 |
NPT1/2 |
14 |
33 |
19 |
69 |
78 |
17 |
32 |
27 |
11.5 |
|
|
22 |
M30×2 |
R3/4 |
NPT3/4 |
18 |
38 |
21 |
77 |
86 |
18 |
36 |
32 |
13.5 |
||
|
10 |
28 |
M36×2 |
R1 |
NPT1 |
23 |
41 |
22 |
84.5 |
93.5 |
21.5 |
41 |
41 |
14.5 |
|
|
35 |
M45×2 |
R1¼ |
NPT1¼ |
30 |
45 |
25 |
94 |
105 |
24 |
50 |
50 |
14.5 |
||
|
42 |
M52×2 |
R1½ |
NPT1½ |
36 |
46 |
27 |
97 |
109 |
24 |
60 |
55 |
16 |
||
|
S |
40 |
6 |
M14×1.5 |
R1/4 |
NPT1/4 |
4 |
29 |
18 |
59.5 |
67.5 |
12.5 |
17 |
19 |
11 |
|
8 |
M16×1.5 |
R1/4 |
NPT1/4 |
5 |
31 |
20 |
63.5 |
71.5 |
12.5 |
19 |
19 |
13 |
||
|
10 |
M18×1.5 |
R3/8 |
NPT3/8 |
7 |
32 |
20.5 |
65.5 |
74.5 |
13 |
22 |
22 |
13 |
||
|
12 |
M20×1.5 |
R3/8 |
NPT3/8 |
8 |
33 |
22 |
68 |
77 |
13 |
24 |
22 |
14.5 |
||
|
(14) |
M22×1.5 |
R1/2 |
NPT1/2 |
10 |
33 |
23 |
73 |
82 |
17 |
27 |
27 |
15.5 |
||
|
16 |
M24×1.5 |
R1/2 |
NPT1/2 |
12 |
36 |
24 |
77 |
87 |
17 |
30 |
27 |
15.5 |
||
|
20 |
M30×2 |
R3/4 |
NPT3/4 |
15 |
37 |
28 |
83 |
94 |
18 |
36 |
32 |
17.5 |
||
|
25 |
25 |
M36×2 |
R1 |
NPT1 |
20 |
44 |
32 |
97.5 |
109.5 |
21.5 |
46 |
41 |
20 |
|
|
16 |
30 |
M42×2 |
R1¼ |
NPT1¼ |
25 |
45 |
34 |
103 |
116 |
24 |
50 |
50 |
20.5 |
|
|
38 |
M52×2 |
R1½ |
NPT1½ |
32 |
46 |
39 |
109 |
124 |
24 |
60 |
55 |
23 |
||
|
注:尽可能不采用括号内的规格。 |
||||||||||||||


