|
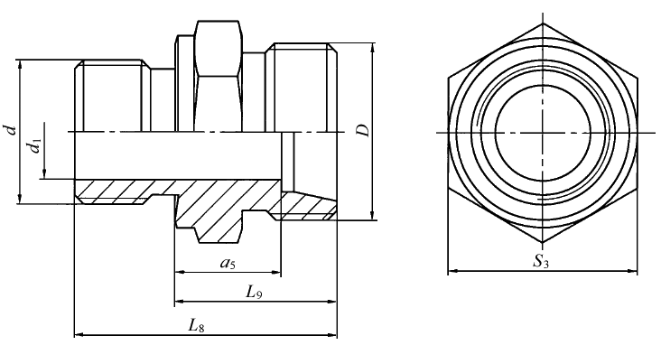
带B型柱端的卡套式端直通管接头和接头体尺寸(摘自GB/T 3733—2008) mm |
|||||||||||
|
标记示例: 接头系列为L,管子外径为10 mm,普通螺纹(M)F型柱端,表面镀锌处理的钢制卡套式端直通管接头标记为: 管接头 GB/T 3733 L10 接头系列为L,管子外径为10 mm,普通螺纹(M)F型柱端,表面镀锌处理的钢制卡套式端直通接头体标记为: 接头体 GB/T 3733 L10 |
|||||||||||
|
系列 |
最大工作压力 /MPa |
管子外径 D0 |
D |
d |
d1 参考 |
L9 参考 |
L8±0.3 |
L8c ≈ |
S |
S3 |
a5 参考 |
|
LL |
10 |
4 |
M8×1 |
M8×1 |
3 |
13.5 |
21.5 |
27.5 |
10 |
12 |
9.5 |
|
5 |
M10×1 |
M8×1 |
3 |
13.5 |
21.5 |
27.5 |
12 |
12 |
8 |
||
|
6 |
M10×1 |
M10×1 |
4 |
13.5 |
21.5 |
27.5 |
12 |
14 |
8 |
||
|
8 |
M12×1 |
M10×1 |
4.5 |
14.5 |
22.5 |
28.5 |
14 |
14 |
9 |
||
|
L |
25 |
6 |
M12×1.5 |
M10×1 |
4 |
15.5 |
23.5 |
31.5 |
14 |
14 |
8.5 |
|
8 |
M14×1.5 |
M12×1.5 |
6 |
17 |
29 |
37 |
17 |
17 |
10 |
||
|
10 |
M16×1.5 |
M14×1.5 |
7 |
18 |
30 |
38 |
19 |
19 |
11 |
||
|
12 |
M18×1.5 |
M16×1.5 |
9 |
19.5 |
31.5 |
39.5 |
22 |
22 |
12.5 |
||
|
(14) |
M20×1.5 |
M18×1.5 |
10 |
19.5 |
31.5 |
39.5 |
24 |
24 |
12.5 |
||
|
15 |
M22×1.5 |
M18×1.5 |
11 |
20.5 |
32.5 |
40.5 |
27 |
24 |
13.5 |
||
|
(16) |
M24×1.5 |
M20×1.5 |
12 |
21 |
35 |
44 |
30 |
27 |
13.5 |
||
|
16 |
18 |
M26×1.5 |
M22×1.5 |
14 |
22 |
36 |
45 |
32 |
27 |
14.5 |
|
|
22 |
M30×2 |
M26×1.5 |
18 |
24 |
40 |
49 |
36 |
32 |
16.5 |
||
|
10 |
28 |
M36×2 |
M33×2 |
23 |
25 |
43 |
52 |
41 |
41 |
17.5 |
|
|
35 |
M45×2 |
M42×2 |
30 |
28 |
48 |
59 |
50 |
50 |
17.5 |
||
|
42 |
M52×2 |
M48×2 |
36 |
30 |
52 |
64 |
60 |
55 |
19 |
||
|
S |
40 |
6 |
M14×1.5 |
M12×1.5 |
4 |
20 |
32 |
40 |
17 |
17 |
13 |
|
8 |
M16×1.5 |
M14×1.5 |
5 |
22 |
34 |
42 |
19 |
19 |
15 |
||
|
10 |
M18×1.5 |
M16×1.5 |
7 |
22.5 |
34.5 |
43.5 |
22 |
22 |
15 |
||
|
12 |
M20×1.5 |
M18×1.5 |
8 |
24.5 |
36.5 |
45.5 |
24 |
24 |
17 |
||
|
(14) |
M22×1.5 |
M20×1.5 |
9 |
25.5 |
39.5 |
48.5 |
27 |
27 |
18 |
||
|
16 |
M24×1.5 |
M22×1.5 |
12 |
27 |
41 |
51 |
30 |
27 |
18.5 |
||
|
20 |
M30×2 |
M27×2 |
15 |
31 |
47 |
58 |
36 |
32 |
20.5 |
||
|
25 |
25 |
M36×2 |
M33×2 |
20 |
35 |
53 |
65 |
46 |
41 |
23 |
|
|
16 |
30 |
M42×2 |
M42×2 |
25 |
37 |
57 |
70 |
50 |
50 |
23.5 |
|
|
38 |
M52×2 |
M48×2 |
32 |
42 |
64 |
79 |
60 |
55 |
26 |
||
|
注:尽可能不采用括号内的规格。 |
|||||||||||


