|
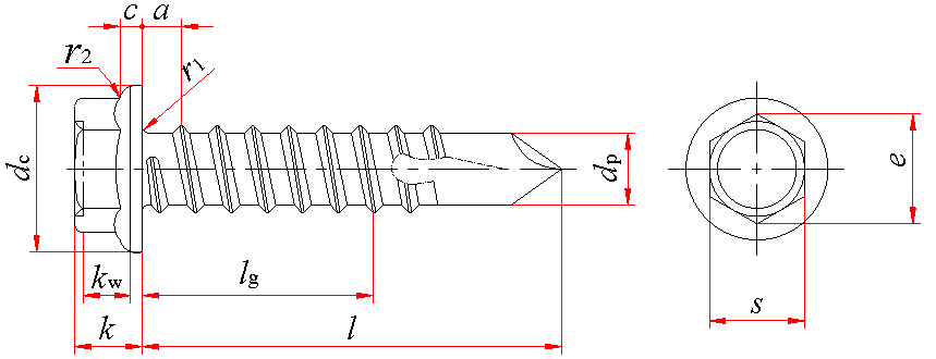
六角法兰面自钻自攻螺钉(GB/T 15856.4—2002) mm |
|||||||
|
|
|||||||
|
标记示例: 螺纹规格ST3.5、公称长度l=16mm、镀锌钝化的六角法兰面自钻自攻螺钉的标记: 自攻螺钉 GB/T 15856.4 ST3.5×16 |
|||||||
|
螺 纹 规 格 |
ST2.9 |
ST3.5 |
ST4.2 |
ST4.8 |
ST5.5 |
ST6.3 |
|
|
P |
1.1 |
1.3 |
1.4 |
1.6 |
1.8 |
1.8 |
|
|
a max |
1.1 |
1.3 |
1.4 |
1.6 |
1.8 |
1.8 |
|
|
dc |
max |
6.3 |
8.3 |
8.8 |
10.5 |
11 |
13.5 |
|
min |
5.8 |
7.6 |
8.1 |
9.8 |
10 |
12.2 |
|
|
c min |
0.4 |
0.6 |
0.8 |
0.9 |
1 |
1 |
|
|
s |
公称=max |
4.00 |
5.50 |
7.00 |
8.00 |
8.00 |
10.00 |
|
min |
3.82 |
5.32 |
6.78 |
7.78 |
7.78 |
9.78 |
|
|
e min |
4.28 |
5.96 |
7.59 |
8.71 |
8.71 |
10.95 |
|
|
k |
公称=max |
2.8 |
3.4 |
4.1 |
4.3 |
5.4 |
5.9 |
|
min |
2.5 |
3.0 |
3.6 |
3.8 |
4.8 |
5.3 |
|
|
kw min |
1.3 |
1.5 |
1.8 |
2.2 |
2.7 |
3.1 |
|
|
r1 max |
0.4 |
0.5 |
0.6 |
0.7 |
0.8 |
0.9 |
|
|
r2 max |
0.2 |
0.25 |
0.3 |
0.3 |
0.4 |
0.5 |
|
|
钻削范围 (板厚) |
≥ |
0.7 |
0.7 |
1.75 |
1.75 |
1.75 |
2 |
|
≤ |
1.9 |
2.25 |
3 |
4.4 |
5.25 |
6 |
|
|
l 商品规格范围 |
9.5~19 |
9.5~25 |
13~38 |
13~50 |
16~50 |
19~50 |
|
|
l 公称长度系列 |
9.8,13,16,19,22,25,32,38,45,50 |
||||||
|
技术条件和引用标准 |
|||||||
|
材 料 |
种 类 |
钢 |
|||||
|
标 准 |
GB/T 3098.11 |
||||||
|
螺 纹 |
GB/T 5280 |
||||||
|
机械和工作性能 |
GB/T 3098.11 |
||||||
|
公 差 |
产品等级 |
A |
|||||
|
标 准 |
GB/T 3103.1 |
||||||
|
表面处理 |
不经表面处理; 电镀技术要求按GB/T 5267.1 |
||||||
|
验收及包装 |
GB/T 90.1、GB/T 90.2 |
||||||
|
质量 kg |
||||||
|
螺纹规格 |
ST2.9 |
ST3.5 |
ST4.2 |
ST4.8 |
ST5.5 |
ST6.3 |
|
公称长度/mm |
每1000件钢制品的质量 ≈ |
|||||
|
9.5 |
0.43 |
0.81 |
|
|
|
|
|
13 |
0.54 |
0.97 |
2.74 |
3.70 |
|
|
|
16 |
0.63 |
1.65 |
2.94 |
3.93 |
5.02 |
|
|
19 |
0.72 |
1.79 |
3.14 |
4.20 |
5.37 |
8.66 |
|
22 |
|
1.93 |
3.34 |
4.46 |
5.72 |
9.14 |
|
25 |
|
2.07 |
3.53 |
4.73 |
6.07 |
9.62 |
|
32 |
|
|
3.99 |
5.35 |
6.89 |
10.74 |
|
38 |
|
|
4.39 |
5.88 |
7.60 |
11.70 |
|
45 |
|
|
|
6.50 |
8.42 |
12.82 |
|
50 |
|
|
|
6.95 |
9.01 |
13.62 |

