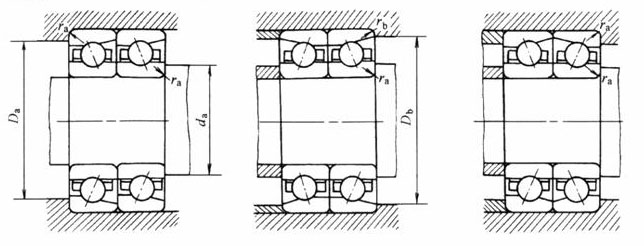
成对安装角接触球轴承 (GB/T 292—2007) | ||||||||||||||||||||
| ||||||||||||||||||||
符合含义与应用 DT—成对串联安装 DB—成对背对背安装 DF—成对面对面安装 | 能承以径向载荷为主的径向、轴向联合载荷,也可承受纯径向载荷。串联配置只能承受单一方向的轴向载荷,其他两种配置可承受任一方向的轴向载荷。生产厂按一定的预紧载荷要求,选配组合成对提供用户,用户安装紧固后,套圈和钢球处于预紧状态,提高了组合轴承的刚性。DB的刚性和承受倾覆力矩性能好,DF的刚性和承受倾覆力矩性能不如DB。 | |||||||||||||||||||
基本尺寸 /mm | 基本额定 载荷/kN | 极限转速 /r·min-1 | 重量 /kg | 轴承代号 | 其他尺寸/mm | 安装尺寸/mm | ||||||||||||||
d | D | 2B | Cr | C0r | 脂 | 油 | W≈ | 串联 70000 C (AC,B) /DT型 | 背对背 70000 C (AC,B) /DB型 | 面对面 70000 C (AC,B) /DF型 | d2 ≈ | D2 ≈ | a | r min | r1 min | da min | Da max | Db max | ra max | rb max |
95 | 145 | 48 | 118 | 145 | 2600 | 3400 | 2.4 | 7019 C/DT | 7019 C/DB | 7019 C/DF | 110.2 | 129.8 | 28.1 | 1.5 | 0.6 | 104 | 136 | 140 | 1.5 | 0.6 |
| 145 | 48 | 112 | 138 | 2600 | 3400 | 2.4 | 7019 AC/DT | 7019 AC/DB | 7019 AC/DF | 110.2 | 129.8 | 40 | 1.5 | 0.6 | 104 | 136 | 140 | 1.5 | 0.6 |
| 170 | 64 | 218 | 228 | 2400 | 3200 | 5.4 | 7219 C/DT | 7219 C/DB | 7219 C/DF | 118.1 | 147 | 33.8 | 2.1 | 1.1 | 107 | 158 | 163 | 2.1 | 1 |
| 170 | 64 | 208 | 218 | 2400 | 3200 | 5.4 | 7219 AC/DT | 7219 AC/DB | 7219 AC/DF | 118.1 | 147 | 46.9 | 2.1 | 1.1 | 107 | 158 | 163 | 2.1 | 1 |
| 170 | 64 | 195 | 218 | 2400 | 3200 | 5.8 | 7219 B/DT | 7219 B/DB | 7219 B/DF | 126.1 | 144.4 | 72.5 | 2.1 | 1.1 | 107 | 158 | 163 | 2.1 | 1 |
| 200 | 90 | 278 | 310 | 2000 | 2800 | 12.5 | 7319 B/DT | 7319 B/DB | 7319 B/DF | 135.4 | 161.5 | 84.4 | 3 | 1.1 | 109 | 186 | 193 | 2.5 | 1 |
| | | | | | | | | | | | | | | | | | |||
100 | 150 | 48 | 128 | 158 | 2600 | 3400 | 2.5 | 7020 C/DT | 7020 C/DB | 7020 C/DF | 114.6 | 135.4 | 28.7 | 1.5 | 0.6 | 109 | 141 | 145 | 1.5 | 0.6 |
| 150 | 48 | 122 | 150 | 2600 | 3400 | 2.5 | 7020 AC/DT | 7020 AC/DB | 7020 AC/DF | 114.6 | 135.4 | 41.2 | 1.5 | 0.6 | 109 | 141 | 145 | 1.5 | 0.6 |
| 180 | 68 | 240 | 255 | 2200 | 3000 | 6.5 | 7220 C/DT | 7220 C/DB | 7220 C/DF | 124.8 | 155.3 | 35.8 | 2.1 | 1.1 | 112 | 168 | 173 | 2.1 | 1 |
| 180 | 68 | 230 | 245 | 2200 | 3000 | 6.5 | 7220 AC/DT | 7220 AC/DB | 7220 AC/DF | 124.8 | 155.3 | 49.7 | 2.1 | 1.1 | 112 | 168 | 173 | 2.1 | 1 |
| 180 | 68 | 210 | 230 | 2200 | 3000 | 6.9 | 7220 B/DT | 7220 B/DB | 7220 B/DF | 130.9 | 150.5 | 75.7 | 2.1 | 1.1 | 112 | 168 | 173 | 2.1 | 1 |
| 215 | 94 | 305 | 360 | 1800 | 2400 | 15.5 | 7320 B/DT | 7320 B/DB | 7320 B/DF | 144.5 | 172.5 | 89.6 | 3 | 1.1 | 114 | 201 | 208 | 2.5 | 1 |
| | | | | | | | | | | | | | | | | | |||
105 | 160 | 52 | 142 | 178 | 2600 | 3400 | 3.2 | 7021 C/DT | 7021 C/DB | 7021 C/DF | 121.5 | 143.6 | 30.8 | 2 | 1 | 115 | 150 | 154 | 2 | 1 |
| 160 | 52 | 135 | 168 | 2600 | 3400 | 3.2 | 7021 AC/DT | 7021 AC/DB | 7021 AC/DF | 121.5 | 143.6 | 43.9 | 2 | 1 | 115 | 150 | 154 | 2 | 1 |
| 190 | 72 | 262 | 290 | 2000 | 2800 | 7.7 | 7221 C/DT | 7221 C/DB | 7221 C/DF | 131.3 | 163.8 | 37.8 | 2.1 | 1.1 | 117 | 178 | 183 | 2.1 | 1 |
| 190 | 72 | 250 | 275 | 2000 | 2800 | 7.7 | 7221 AC/DT | 7221 AC/DB | 7221 AC/DF | 131.3 | 163.8 | 52.4 | 2.1 | 1.1 | 117 | 178 | 183 | 2.1 | 1 |
| 190 | 72 | 230 | 258 | 2000 | 2800 | 8.2 | 7221 B/DT | 7221 B/DB | 7221 B/DF | 137.5 | 159 | 79.9 | 2.1 | 1.1 | 117 | 178 | 183 | 2.1 | 1 |
| 225 | 98 | 328 | 392 | 1700 | 2400 | 17.6 | 7321 B/DT | 7321 B/DB | 7321 B/DF | 151.4 | 180.7 | 93.7 | 3 | 1.1 | 119 | 211 | 218 | 2.5 | 1 |
| | | | | | | | | | | | | | | | | | |||
110 | 170 | 56 | 162 | 205 | 2400 | 3400 | 3.9 | 7022 C/DT | 7022 C/DB | 7022 C/DF | 129.1 | 152.9 | 32.8 | 2 | 1 | 120 | 160 | 164 | 2 | 1 |
| 170 | 56 | 155 | 195 | 2400 | 3400 | 3.9 | 7022 AC/DT | 7022 AC/DB | 7022 AC/DF | 129.1 | 152.9 | 46.7 | 2 | 1 | 120 | 160 | 164 | 2 | 1 |
| 200 | 76 | 285 | 325 | 1900 | 2600 | 9.1 | 7222 C/DT | 7222 C/DB | 7222 C/DF | 138.9 | 173.2 | 39.8 | 2.1 | 1.1 | 122 | 188 | 193 | 2.1 | 1 |
| 200 | 76 | 272 | 310 | 1900 | 2600 | 9.1 | 7222 AC/DT | 7222 AC/DB | 7222 AC/DF | 138.9 | 173.2 | 55.2 | 2.1 | 1.1 | 122 | 188 | 193 | 2.1 | 1 |
| 200 | 76 | 250 | 290 | 1900 | 2600 | 9.6 | 7222 B/DT | 7222 B/DB | 7222 B/DF | 144.8 | 166.8 | 84 | 2.1 | 1.1 | 122 | 188 | 193 | 2.1 | 1 |
| 240 | 100 | 365 | 450 | 1500 | 2200 | 22.56 | 7322 B/DT | 7322 B/DB | 7322 B/DF | 160.3 | 192 | 98.4 | 3 | 1.1 | 124 | 226 | 233 | 2.5 | 1 |
| | | | | | | | | | | | | | | | | | |||
120 | 180 | 56 | 175 | 222 | 1900 | 2600 | 4.2 | 7024 C/DT | 7024 C/DB | 7024 C/DF | 137.7 | 162.4 | 34.1 | 2 | 1 | 130 | 170 | 174 | 2 | 1 |
| 180 | 56 | 165 | 210 | 1900 | 2600 | 4.2 | 7024 AC/DT | 7024 AC/DB | 7024 AC/DF | 137.7 | 162.4 | 48.9 | 2 | 1 | 130 | 170 | 174 | 2 | 1 |
| 215 | 80 | 305 | 362 | 1700 | 2400 | 10.8 | 7224 C/DT | 7224 C/DB | 7224 C/DF | 149.4 | 185.7 | 42.4 | 2.1 | 1.1 | 132 | 203 | 208 | 2.1 | 1 |
| 215 | 80 | 292 | 345 | 1700 | 2400 | 10.8 | 7224 AC/DT | 7224 AC/DB | 7224 AC/DF | 149.4 | 185.7 | 59.1 | 2.1 | 1.1 | 132 | 203 | 208 | 2.1 | 1 |
| | | | | | | | | | | | | | | | | | |||
130 | 200 | 66 | 208 | 272 | 1800 | 2400 | 6.4 | 7026 C/DT | 7026 C/DB | 7026 C/DF | 151.4 | 178.7 | 38.6 | 2 | 1 | 140 | 190 | 194 | 2 | 1 |
| 200 | 66 | 198 | 258 | 1800 | 2400 | 6.4 | 7026 AC/DT | 7026 AC/DB | 7026 AC/DF | 151.4 | 178.7 | 54.9 | 2 | 1 | 140 | 190 | 194 | 2 | 1 |
| 230 | 80 | 332 | 418 | 1500 | 2200 | 12.5 | 7226 C/DT | 7226 C/DB | 7226 C/DF | 162.9 | 199.3 | 44.3 | 3 | 1.1 | 144 | 216 | 223 | 2.5 | 1 |
| 230 | 80 | 315 | 400 | 1500 | 2200 | 12.5 | 7226 AC/DT | 7226 AC/DB | 7226 AC/DF | 162.9 | 199.3 | 62.2 | 3 | 1.1 | 144 | 216 | 223 | 2.5 | 1 |
| | | | | | | | | | | | | | | | | | |||
140 | 210 | 66 | 228 | 290 | 1700 | 2400 | 7.24 | 7028 C/DT | 7028 C/DB | 7028 C/DF | — | — | — | 2 | 1 | 150 | 200 | 204 | 2 | 1 |
| 210 | 66 | 228 | 300 | 1500 | 2200 | 7.84 | 7028 AC/DT | 7028 AC/DB | 7028 AC/DF | — | — | 59.2 | 2 | 1 | 150 | 200 | 204 | 2 | 1 |
| 250 | 84 | 372 | 490 | 1300 | 2000 | 18.72 | 7228 C/DT | 7228 C/DB | 7228 C/DF | — | — | 41.7 | 3 | 1.1 | 154 | 236 | 243 | 2.5 | 1 |
| 250 | 84 | 372 | 470 | 1300 | 2000 | 18.48 | 7228 AC/DT | 7228 AC/DB | 7228 AC/DF | — | — | 68.6 | 3 | 1.1 | 154 | 236 | 243 | 2.5 | 1 |
| 300 | 124 | 465 | 630 | 1200 | 1700 | 44.88 | 7328 B/DT | 7328 B/DB | 7328 B/DF | — | — | 111 | 4 | 1.5 | 158 | 282 | 291 | 3 | 1.5 |
| | | | | | | | | | | | | | | | | | |||
150 | 225 | 70 | 260 | 312 | 1500 | 2200 | 9.66 | 7030 C/DT | 7030 C/DB | 7030 C/DF | — | — | — | 2.1 | 1.1 | 162 | 213 | 218 | 2.1 | 1 |
| 225 | 70 | 245 | 335 | 1400 | 2000 | 9.66 | 7030 AC/DT | 7030 AC/DB | 7030 AC/DF | — | — | 63.2 | 2.1 | 1.1 | 162 | 213 | 218 | 2.1 | 1 |
| | | | | | | | | | | | | | | | | | |||
160 | 290 | 96 | 425 | 595 | 1200 | 1700 | 29 | 7232 C/DT | 7232 C/DB | 7232 C/DF | — | — | 47.9 | 3 | 1.1 | 174 | 276 | 283 | 2.5 | 1 |
| 290 | 96 | 402 | 555 | 1200 | 1700 | 29 | 7232 AC/DT | 7232 AC/DB | 7232 AC/DF | — | — | 78.9 | 3 | 1.1 | 174 | 276 | 283 | 2.5 | 1 |
| | | | | | | | | | | | | | | | | | |||
170 | 260 | 84 | 310 | 445 | 1200 | 1800 | 16.5 | 7034 AC/DT | 7034 AC/DB | 7034 AC/DF | — | — | 73.4 | 2.1 | 1.1 | 182 | 248 | 253 | 2.1 | 1 |
| 310 | 104 | 522 | 780 | 1100 | 1500 | 38.4 | 7234 C/DT | 7234 C/DB | 7234 C/DF | — | — | 51.5 | 4 | 1.5 | 188 | 292 | 301 | 3 | 1.5 |
| 310 | 104 | 495 | 735 | 1100 | 1500 | 34.4 | 7234 AC/DT | 7234 AC/DB | 7234 AC/DF | — | — | 84.5 | 4 | 1.5 | 188 | 292 | 301 | 3 | 1.5 |
| | | | | | | | | | | | | | | | | | |||
180 | 320 | 104 | 542 | 830 | 1000 | 1400 | 36.2 | 7236 C/DT | 7236 C/DB | 7236 C/DF | — | — | 52.6 | 4 | 1.5 | 198 | 302 | 311 | 3 | 1.5 |
| 320 | 104 | 510 | 775 | 1000 | 1400 | 36.2 | 7236 AC/DT | 7236 AC/DB | 7236 AC/DF | — | — | 87 | 4 | 1.5 | 198 | 302 | 311 | 3 | 1.5 |
| | | | | | | | | | | | | | | | | | |||
190 | 290 | 92 | 348 | 525 | 1100 | 1500 | 21.4 | 7038 AC/DT | 7038 AC/DB | 7038 AC/DF | — | — | 81.5 | 2.1 | 1.1 | 202 | 278 | 283 | 2.1 | 1 |
| | | | | | | | | | | | | | | | | | |||
200 | 310 | 102 | 410 | 650 | 1000 | 1400 | 28.08 | 7040 AC/DT | 7040 AC/DB | 7040 AC/DF | — | — | 87.7 | 2.1 | 1.1 | 212 | 298 | 302 | 2.1 | 1 |
| 360 | 116 | 585 | 950 | 900 | 1300 | 50.4 | 7240 C/DT | 7240 C/DB | 7240 C/DF | — | — | 58.8 | 4 | 1.5 | 218 | 342 | 351 | 3 | 1.5 |
| 360 | 116 | 558 | 895 | 900 | 1300 | 50.4 | 7240 AC/DT | 7240 AC/DB | 7240 AC/DF | — | — | 97.3 | 4 | 1.5 | 218 | 342 | 351 | 3 | 1.5 |
| | | | | | | | | | | | | | | | | | |||
220 | 400 | 130 | 580 | 965 | 750 | 1100 | 77 | 7244 AC/DB | 7244 AC/DB | 7244 AC/DF | — | — | 108.1 | 4 | 1.5 | 238 | 382 | 391 | 3 | 1.5 |
注:GB/T 292-2007已删去成对双联角接触球轴承,但《全国滚动轴承产品样本》第2版仍保留,所以本表仍保留。 | ||||||||||||||||||||


