|
标准型号 |
|||||
|
|
特 点 |
① 相对于传统气缸,具有双倍行程 ② 专利产品 ③ 最小外形,最大行程 ④ M/46900/IA型内部进气;M/46900/M型两导向滑座同步移动 |
|||
|
标 准 型 号 |
缸径 |
气口 |
型 号 |
||
|
固定滑座安装 |
固定端盖安装 |
||||
|
25 |
M5 |
M/46925/IA① |
M/46925/M① |
||
|
40 |
G1/8 |
M/46940/IA① |
M/46940/M① |
||
|
①插入行程长度,mm。 |
|||||
|
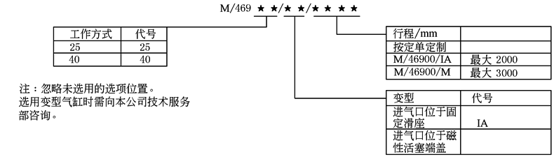
型号意义:
|
|||||


