|
真空过滤器 |
|||||
|
真空过滤器原理及使用 |
真空过滤器的工作压力为-0.9~7bar,温度为0~40℃,它用于去除抽气方向的微粒杂质。可以作为气管管路总的轴向过滤器。过滤精度为50μm,流量为210L/min、70L/min或更小。与快拧接头配合使用 |
||||
|
|
1—快拧接头,用于塑料气管; 2—气流方向由箭头指示; 3—采用透明壳体,过滤器污浊程度一目了然 |
||||
|
真空用分水过滤器 |
原理及使用 |
|
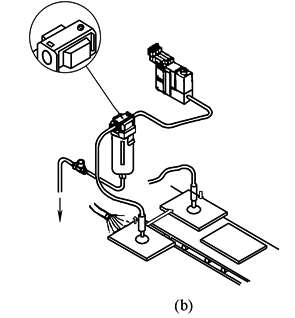
真空用分水过滤器与真空过滤器的使用方法类似,安装在真空吸盘与真空发生器之间,适合一个真空吸盘在吸取工件附近有较多水分的工作环境下(如图b中的清洗液),以确保真空发生器内的喷嘴不被阻塞。它能除去管道内90%的水分,当滤芯中的水分饱和时,不会产生压力降,可以方便地更换滤芯。当真空用分水过滤器的水分达到警戒线时,可打开二位二通电磁阀将其排空(在真空停止工作的状况时)。该真空用分水过滤器的最高使用压力为1.0MPa,最低使用压力为-0.1MPa;环境及介质温度为5~60℃ |
||
|
流 量 特 性 |
|
1—壳体;2—滤芯组件; 3—滤杯;4—O形圈 |
|||



