|
气动放大器(阀体) |
||||
|
名称 |
结构原理图 |
工作原理 |
组成和优缺点 |
|
|
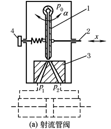
射 流 管 阀 |
|
1—射流管; 2—传动杆; 3—接收器; 4—螺钉 |
射流管阀由射流管和接受器两部分组成,通过螺钉4改变弹簧压缩量来调节射流管1的中位。射流管的偏转角由力马达通过传动杆2控制(也可以由力矩马达直接控制射流管偏转)。射流管的回转轴也是气源的供给管路。接收器3固定不动,它的两个接收孔的中心位于射流管的回转平面内。接收器的两输出孔分别与执行元件的两工作腔连接,如图a中虚线所示 射流管喷口有收缩形和拉伐尔形两种,前者可将气流加速到声速,而后者可将气源压力较高的气流加速到超声速。射流管的作用之一是接受力马达或力矩马达的控制信号,并将控制信号转换成射流管的偏转角α;作用之二是将气体的压力能转变成动能 接收器中的两个接收通道是扩张形的,其作用是使高速气流减速,恢复压力能。射流管阀的实际工作原理是能量的转换和分配 射流管阀的应用虽没有喷嘴挡板阀那么广泛,但在动力控制系统中应用较多,有时也在二级阀中作功率级用。射流管阀也具有结构简单、对气源净化要求不高等优点。与喷嘴挡板阀相比,射流管阀的效率略高,在流量大、效率要求较高的控制系统中,均采用射流管阀 射流管阀适用的气源压力不宜太高。高速气流从射流管中喷出进入接收孔,而负载工作腔的一部分气体从接收孔返回大气,在这些流动过程中,射流管受到气流的反作用力。当射流管处于中位时,反作用力的合力通过射流管的转轴;当射流管偏转角增大时,射流管受到的气流反作用力矩也增大,该力矩方向与射流管的控制力矩方向相反,致使射流管产生振荡。过高的气源压力会引起控制系统的不稳定。经验表明,射流管阀的气源压力限制在0.4MPa以下为好 |
射流管阀的缺点是输出刚度低,中位功率损失大 |
|
膜 片 式 喷 嘴 挡 板 |
(b)膜片式喷嘴挡板阀结构原理 |
当气源进入放大器后,一部分气体进入F室,另一部分气体经恒定节流孔进入C室。当A室无控制信号pc输入时,进入C室的气体经喷嘴流入B室再通过排气孔a排向大气,在F室内的气体压力作用下,截止阀关闭,输出口E无气体输出。当控制信号pc输入A室后,A、B室间的膜片在pc的作用下变形,堵住喷嘴,C室内气体不能排出,压力随之升高,达到一定压力值时推动C室下的膜片,打开截止阀,接通p与E之间的通道,高压气流从输出口E输出。当控制信号压力pc消失后,截止阀关闭,输出口E与排气口b接通排气 由上述工作原理分析可知,放大器实际上是一种微压控制阀,即用很小的压力气体作为输入控制信号,以获得压力较高、流量较大的气流输出 如图b所示的膜片式气动放大器是一个两级放大器,第一级是用膜片-喷嘴式进行压力放大,第二级是功率放大 |
该气动放大器由于没有摩擦部件和相对机械滑动部分,因此它有较高的灵敏度和较长的使用寿命。但其恒定节流孔小,工作中易被堵塞而失灵 |
|
|
滑
阀 |
滑阀工作原理 |
根据阀芯形状的不同,滑阀分为柱形滑阀和滑板滑阀,柱形滑阀应用最广。柱形滑阀的阀芯是具有多凸肩的圆柱体,凸肩棱边与阀体(或阀套)内凹槽棱边组成节流口。根据凸肩的多少,滑阀分为二凸肩阀、三凸肩阀、四凸肩阀(见图c~图e)。按阀芯位于中位时节流口的开闭状况,滑阀又分为中开阀和中闭阀。中开阀又称正开口阀,阀芯凸肩与凹槽之间构成的是负重叠(负遮盖)量,如图c所示;中闭阀又有零开口阀(零重叠量)和负开口阀(正重叠量)两种,如图d和图e所示。与开关式方向阀分类相同,伺服/比例控制阀也有三通阀、四通阀、五通阀之分 柱形滑阀和滑板滑阀的工作原理相同,现以柱形滑阀为例进行分析 三通滑阀具有两个节流口,与差动气缸组成气动比例控制系统,如图f所示。当阀芯在力马达的作用下由中位(零位)向右移动一距离时,节流口1关死,节流口2打开,气缸无杆腔进气;当阀芯反向移动时,则节流口2关死,节流口1打开,气缸无杆腔排气。阀芯运动的方向受输入信号的极性控制,节流口开口量的大小受输入信号大小控制。可以用半桥气动回路描述三通滑阀的工作状态 图g所示为四通滑阀组成的控制系统。四通滑阀有四个节流口,节流口的开闭情况视滑阀的中开式或中闭式而不同。对零开口阀,当阀芯向某一方向运动时,两个节流口关闭,其余两个节流口流通面积逐渐增大;当阀芯由中位反向运动时,节流口的开闭情况恰好相反 对中开式四通滑阀,当阀芯的位移量小于中位时的负重叠量时,四个节流口都是可变的;当阀芯的位移量大于中位时的负重叠量时,工作情况与零开口阀相同 对负开口阀,当阀芯的位移量小于中位时的正重叠量时,四个节流口始终处于关闭状态。当阀芯位移超过上述正重叠量时,工作情况与零开口阀相同。由负开口阀组成的控制系统,存在明显的死区 四通滑阀的工作状态可用全桥气动回路来描述 五通滑阀与四通滑阀功能完全相同,仅比四通滑阀多一个排气口 |
与其他气动放大器相比,气动滑阀具有输出功率大,滑芯能实现静态平衡,控制功率小,中闭阀中位可以不消耗能量等特点。但滑阀的缺点也是明显的,阀芯与阀体(或阀套)构成的节流口,尺寸精度要求高,加工困难,生产成本高,由于气体的润滑性能差,阀芯与阀体(阀套)构成的摩擦副干摩擦力大,影响了控制系统的线性性能。这些缺点限制了滑阀在气动伺服控制系统中的应用 |
|



