|
电液比例方向流量控制阀典型结构和工作原理 |
|
|
名称 |
结构及工作原理 |
|
1.直接控制式比例方向节流阀 |
图a、b为直接控制式比例方向节流阀的两种型式,它们的主要组成包括阀体、比例电磁铁(湿式直流电磁铁,最大电流2.5A或2.7A),控制阀芯和用于与电磁力平衡而使阀芯位移与输入电信号成比例的对中弹簧。在没有输入控制电流时,控制阀芯靠对中弹簧保持在中位。阀芯上开有V形或半圆形节流槽,使阀的流量特性呈抛物线形。滑阀有较大遮盖量,其稳态特性具有较大的中位死区,起始控制电流可达额定控制电流的20%左右。排气螺钉用于调试时排气,以保证阀的正确功能。在图b型式的阀上有感应式位移传感器,可实现控制阀芯位置的闭环控制,以消除液动力等的影响,提高控制精度 |
|
2.先导式比例方向节流阀(双比例减压阀为先导级) |
1—阀体;2—工作阀芯;3,4—压力测量活塞;5,6—电磁铁;7—放大器;8—丝堵;9—先导阀; 10—主阀;11—主阀芯;12—对中平衡弹簧13—控制腔;14,15—辅助手动操作件 图d为先导控制式比例方向节流阀,图c为其先导控制阀。该先导阀是一个由比例电磁铁控制的一组相背的三通型减压阀,它的作用是将输入的电信号转化为与之成比例的控制压力信号,用以对主阀芯的轴向位移进行控制。比例电磁铁为可调湿式直流电磁铁结构,带中心固定螺纹,线圈可单独拆卸。电磁铁的控制可以通过外部放大器或内置的放大器来实现。图c先导阀的主要组成部分有:带有安装底板的阀体1,装有压力测量活塞3、4的工作阀芯2,带中心螺纹的电磁铁5、6,可选择的带内置放大器7 图d主阀的主要组成部分为:先导阀9,装有主阀芯11和对中平衡弹簧12的主阀10 先导阀工作原理:当无输入控制电流时,先导控制阀的A、B油口与P油口不通,当比例电磁铁6输入控制电流时,其输出电磁力通过感受阀芯4传给控制阀芯2使之右移,减压阀口A开启,P油口与A油口接通并在A油口建立压力,此压力升高,经反馈孔道作用在控制阀芯右端,直到与电磁力平衡。油口A经减压后的二次压力与电磁力成正比。当比例电磁铁6的输入控制电流或输出电磁力减小时,控制阀芯左移,A油口与T油口接通,二次压力降低,直到再次与电磁力成相应的正比关系,控制阀芯恢复平衡状态 主阀工作原理:当比例电磁铁没有输入控制电流时,主阀芯11两端液压控制腔与回油口T相通,则在对中平衡弹簧12的作用下使主阀芯处于中位。当输入控制电流时,主阀芯由于与输入电信号成比例的控制油压力作用,克服平衡弹簧力而做相应的轴向位移。此轴向位移量(扣除遮盖量即为主阀口的轴向开度)与先导控制油压力成正比,因而与比例电磁铁的输入控制电流成正比 主阀芯V形节流控制边与阀体上的控制边形成过流截面,可获得较好的流量特性。这种比例方向节流阀对于同一通径的阀(主阀芯直径一样)设置不同数量的V形节流控制槽,可有不同的名义流量。例如通径32的阀其名义流量分别为360L/min、520L/min。这种阀也有多种滑阀机能以适应各种控制要求。这个系列的比例方向节流阀已在冶金设备及其他重型机械设备的液压控制系统中得到广泛的应用 这类以减压阀作为先导级的比例方向节流阀,在先导级控制阀与功率级主滑阀之间无级间反馈,只存在先导控制阀输出压力与主阀输出轴向位移之间的压力-位移变换。这种开环控制变换不能克服液动力、摩擦力的影响,控制精度较低。但另一方面,由于先导级与功率级仅有液压力的控制关联,允许主阀有较大位移或阀口开度,可输出大流量而节流压力损失较小;而且结构配置、装配调整方便,制造精度无特殊要求 |
|
3.先导式比例方向节流阀(双比例节流阀为先导级) |
双级比例方向节流阀有如下特点:(1)采用没有零位死区且带阀芯位置闭环的六通径伺服比例阀作为先导级,静动态特性优异;(2)当电磁铁失电时,先导阀进入作为“故障保险”的第4位,主阀芯两端卸压,在对中平衡弹簧作用下,处于中位;(3)主阀芯位置用另一个位移传感器控制(双级电反馈),主阀芯闭环叠加在先导阀芯位置闭环上,进一步增强了控制精度和运行的可靠性;(4)主阀芯中带有防阀芯自转(由非全周阀口引起)的插销,能获得很好的可再现性和很高的工作极限;(5)主阀芯上备有负载压力引出口:为了与定差减压阀配合实现负载压力补偿,10通径阀中用一个梭阀引出负载压力,16、25通径阀中,负载压力通过两个附加的阀口C1和C2引出;(6)其他可选功能有非对称阀芯、中位泄漏油排泄等 |
|
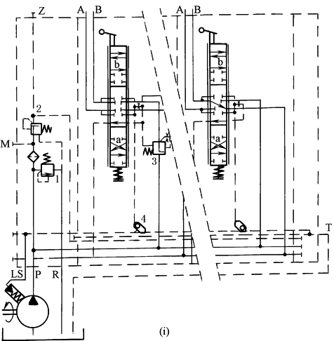
4.PSL型比例多路阀在定量泵供油系统中的应用 |
1—安全阀;2—三通减压阀;3—二通压力补偿器;4—梭阀网络;5—三通压力补偿器 这种多路阀,最多可装12只控制执行元件A口和B口的滑阀,负载敏感功能的LS油路可以通过内部串接。图示为液压起重机的典型控制回路。这类比例多路阀用于控制液压执行器的运动方向和与负载压力变化无关的调节执行器的运动速度。应用它可使多个执行器同时并相互独立地以不同速度和压力工作,直到所需流量总和达到泵的最大流量为止(即没有抗流量饱和功能)。这类比例多路阀是一种组合式阀,它可以根据需要,进行基本功能构件和许多辅助功能的组合 |
|
5.PSV型比例多路阀在变量泵供油系统中的应用 |
与用于定量系统的差别在于用变量泵(恒流变量泵)替代了定量泵与三通压力补偿器,但具有负载感应的更好节能效果。参阅表四通多路阀的负载补偿与负载适应中图2 |






