|
阀控机液伺服系统 |
||||||||
|
信号的检测、比较及放大均借助于机械部件的液压伺服系统称为机液伺服系统 机液伺服系统广泛应用于仿型机床、助力操纵、助力转向、汽轮机转速调节、行走机械及采煤机牵引部恒功率控制等场合 阀控机液伺服系统一般称为机液伺服机构 |
||||||||
|
表1 机液伺服机构的类型及特征 |
||||||||
|
类型 |
原理图 |
特征及用途 |
||||||
|
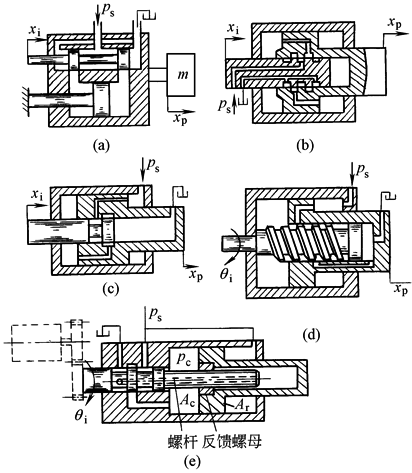
阀 控 缸 机 液 伺 服 机 构 |
外 反 馈 式 |
|
连杆式外反馈;常做助力操纵 |
|||||
|
内 反 馈 式 |
|
(1)阀芯与活塞关系 图a—分体式;图b、c、d、e—嵌入式 (2)通路数 图a、b—四通阀;图c、d、e—三通阀 (3)滑阀结构 图a、b、c、e—圆柱滑阀;图d—螺纹滑阀 (4)滑芯运动方式 图a、b、c—直线运动;图d、e—旋转运动 (5)反馈型式 图a、b、c、d—直接位置反馈;图e—螺杆螺母副位置反馈 (6)用途 图a、b、c—作伺服机构;图d、e—作电液步进缸(数字缸) |
||||||
|
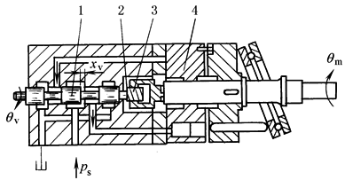
阀 控 马 达 机 液 伺 服 机 构 |
滑 阀 式 |
|
1—阀芯; 2—螺杆; 3—螺母; 4—轴向马达 |
螺杆/螺母—内反馈 工程上称为液压扭矩放大器,加上步进电机构成电液步进马达 |
||||
|
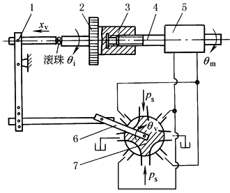
转 阀 外 反 馈 式 |
|
1—连杆系; 2—齿轮; 3—螺母; 4—螺杆; 5—液压马达; 6—摇杆; 7—转阀 |
螺杆/螺母/杠杆—外反馈 法国SAMM公司电液步进马达属此结构 |
|||||
|
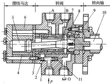
转 阀 内 反 馈 式 |
|
1—阀体; 2—阀芯; 3—阀套; 4—转子; 5—马达轴; 6—定子; 7—反馈轴; 8—销轴; 9—定位弹簧; 10—转向轴; 11—单向阀 |
反馈轴/销轴/阀套—内反馈 工程上称为摆线转阀式液压转向器 在工程机械及农机的转向系统中,以及小型舵机操纵系统中广泛应用液压转向器 |
|||||
|
表2 机液伺服机构的应用 |
||||||||
|
名称 |
原理图 |
说明 |
||||||
|
液 压 仿 型 刀 架 |
|
1—模板; 2—触杆; 3—导轨; 4—溜板; 5—刀架; 6—工件 |
模板固定于床身;活塞杆固定于溜板上,工件由主轴带动;当溜板由丝杠带动沿导轨向左运动时,触杆沿模板运动,触杆控制阀芯,缸体连同刀架跟随触杆运动,实现仿型加工 |
|||||
|
车 辆 助 力 转 向 系 统 |
|
图a—外观图 图b—原理图 转向指令由方向盘经操纵齿轮箱推动阀芯,打开阀口;阀体与缸体做成一体,随同缸体运动,关闭阀口,实现位置直接反馈 作为车辆转向驾驶系统,为使司机能感觉到不同路面的负载反作用力,在阀体两端分别开有小孔,以便将负载压力反馈到阀芯两端 |
||||||
|
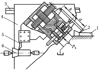
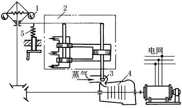
汽 轮 发 电 机 调 速 系 统 |
|
1—离心调速器; 2—阀控机液伺服机构; 3—气阀; 4—汽轮发电机组; 5—设定弹簧 |
离心调速器1检测发电机组转速,电负荷增大、发电机反力矩增大,致使机组速度降低时,调速器飞球下垂,阀芯下移,活塞杆带动气阀片上移,开大气阀,增大进气量,直至机组速度恢复;使电频率稳定;反之亦然。设定弹簧用于调节转速的设定值 船舶柴油机调速系统原理相似 |
|||||
|
车 辆 或 舵 机 转 阀 式 液 压 转 向 系 统 |
1—液压泵;2—方向盘;3—液压转向器;4—梯形转向机构; 5—转向缸;6—单向阀;7—溢流阀;8—安全阀;9—单向阀 |
图a—外形图;图b—系统图,液压转向器马达作计量马达使用。转向器中位(图示)时,压力油由p、a、d、e、f、O回油箱,泵空载,油口b、c及A、B封闭状态,转向系统处于初始位置。方向盘左转向某一角度,转阀油口打开,压力油经p、a、b、计量马达、c、d、e、B,缸5-1活塞杆伸出、缸5-2活塞杆缩回,实现左转弯,缸的回油经A、f、O回油箱;因液压转向器存在直接位置反馈,计量马达带动阀套跟随阀芯转到同一角度后转阀关闭、转向停止。方向盘右转时,压力油经p、a、c、计量马达、b、d、e、A,实现右转弯,缸的回油由B、f、O回油箱。当发电机熄火或泵有故障无法实现动力转向时,可利用计量马达做手动泵进行人力转向:方向盘带动阀芯、销轴、阀套、反馈轴带动马达转子,压力油流向与动力转向相同,只是缸的回油由f、单向阀9、a,供手动泵吸油 千吨级船舶亦广泛应用该系统作为舵机转向系统 |
||||||









