|
四通阀控制液压马达的动态特性 |
|||
|
阀控马达是常见的液压动力元件 四通阀控制液压马达与四通阀控制对称缸实质上完全相同,对称缸不过是一种直线马达 |
|||
|
项目 |
图或公式 |
说明 |
|
|
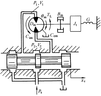
物理模型 |
|
V1,V2——马达进油腔、回油腔的容积,m3 θm——马达的转角,rad Dm——马达的排量,m3/rad Ctm——总的泄漏系数,Ctm=Cim+Cem/2,m5/(N·s) Cim——马达内泄漏系数,m5/(N·s) Cem——马达外泄漏系数,m5/(N·s) Vt——总容积,Vt=V1+V2=2V0,m3 Jt——液压马达及负载(折算到马达轴上)的总转动惯量,N·m·s2/rad Bm——液压马达及负载(折算到马达轴上)的总黏性阻尼系数,N·m·s/rad G——负载的扭转弹簧刚度,N·m/rad TL——任意外负载力矩,N·m |
|
|
动 态 方 程 |
阀的流量方程 |
|
|
|
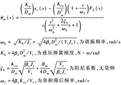
马达腔的连续性方程 |
|
||
|
液压马达轴上的力矩平衡方程 |
|
||
|
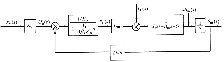
方块图 |
|
||
|
传递函数 (G=0) |
|
显然,阀控马达与四通阀控制对称缸的动态方程、方块图、传递函数的形式完全相同,只需作如下参数置换: xp→θm,Ap→Dm mt→Jt,Bp→Bm K→G,FL→TL 因阀控马达多用作角速度控制,通常G=0,故传递函数中仅给出G=0的情况 |
|



