|
纸质过滤器 |
|
|
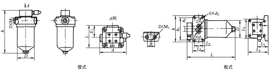
高压管式(法兰式)纸质过滤器技术性能及外形尺寸 |
|
|
|
型号意义:
|
|
表1 |
||||||||||||||||
|
型 号 |
流量 /L·min-1 |
额定 压力 /MPa |
过滤精度 /μm |
压差指 示器工 作压差 /MPa |
初始压力降 /MPa |
质量 /kg |
外形尺寸/mm |
|||||||||
|
① |
② |
① |
② |
h |
A |
B |
B1 |
D |
D1 |
M |
M1 |
|||||
|
ZU-H10×10S |
ZU-H10×20S |
10 |
32 |
10 |
20 |
0.35 |
0.08 |
3.3 |
193 |
118 |
70 |
|
f88 |
f73 |
M27×2 |
M6 |
|
ZU-H25×10S |
ZU-H25×20S |
25 |
5 |
282 |
||||||||||||
|
ZU-H40×10S |
ZU-H40×20S |
40 |
0.01 |
7.5 |
244 |
128 |
86 |
44 |
f124 |
f102 |
M33×2 |
|
||||
|
ZU-H63×10S |
ZU-H63×20S |
63 |
9.3 |
312 |
||||||||||||
|
ZU-H100×10S |
ZU-H100×20S |
100 |
12.6 |
383 |
M42×2 |
|||||||||||
|
ZU-H160×10S |
ZU-H160×20S |
160 |
0.15 |
18 |
422 |
166 |
100 |
60 |
f146 |
f121 |
M48×2 |
|
||||
|
型 号 |
通径 /mm |
额定流量 /L·min-1 |
额定 压力 /MPa |
原始压 力损失 |
允许最大 压力损失 |
过滤精度 /μm |
粘度/ 10-6m-2· s-1 |
发信装置 |
质量 /kg |
||||
|
① |
② |
/MPa |
① |
② |
电压/V |
电流/A |
|||||||
|
ZU-H250×10FS |
ZU-H250×20FS |
f 38 |
250 |
32 |
0.15 |
0.35 |
10 |
20 |
30 |
36 |
0.2 |
24 |
|
|
ZU-H400×10FS |
ZU-H400×20FS |
f 50 |
400 |
0.2 |
32 |
||||||||
|
ZU-H630×10FS |
ZU-H630×20FS |
f 53 |
630 |
36 |
|||||||||
|
型 号 |
h |
h1 |
A |
B |
B1 |
D |
D1 |
d1 |
M |
d2 |
M1 |
C |
|
|
ZU-H250×10FS |
ZU-H250×20FS |
490 |
417 |
166 |
100 |
60 |
f146 |
f121 |
f38 |
M10 |
f98 |
M16 |
100 |
|
ZU-H400×10FS |
ZU-H400×20FS |
530 |
447 |
206 |
128 |
60 |
f170 |
f146 |
f50 |
M12 |
f118 |
M20 |
123 |
|
ZU-H630×10FS |
ZU-H630×20FS |
632 |
548 |
f53 |
f145 |
142 |
|||||||
|
注:生产厂为沈阳六玲过滤机器有限公司、无锡液压件厂、上海高行液压件厂、远东液压配件厂。 |
|||||||||||||
|
低压管式(板式)纸质过滤器技术性能及外形尺寸
|
|
表2 |
||||||||||||||||
|
型 号 |
流量 /L·min-1 |
额定 压力 /MPa |
过滤精度 /μm |
压差指 示器工 作压差 /MPa |
初始压 力降 /MPa |
重量 /kg |
外 形 尺 寸/mm |
|||||||||
|
① |
② |
① |
② |
h |
L |
L1 |
A |
D |
B |
M |
M1 |
|||||
|
ZU-A25×10S |
ZU-A25×20S |
25 |
1.6 |
10 |
20 |
0.35 |
0.07 |
2.9 |
236 |
110 |
60 |
120 |
f 94 |
30 |
M22×1.5 |
M6 |
|
ZU-A40×10S |
ZU-A40×20S |
40 |
3.0 |
296 |
110 |
f 96 |
M27×2 |
|||||||||
|
ZU-A63×10S |
ZU-A63×20S |
63 |
3.6 |
313 |
131 |
|
146 |
f 114 |
55 |
M33×2 |
|
|||||
|
ZU-A100×10S |
ZU-A100×20S |
100 |
5.2 |
422 |
131 |
150 |
f 114 |
M42×2 |
M8 |
|||||||
|
ZU-A160×10S |
ZU-A160×20S |
160 |
6.8 |
449 |
148 |
170 |
f 134 |
65 |
M48×2 |
|
||||||
|
型 号 |
流量 /L·min-1 |
额定 压力 /MPa |
过滤 精度 /μm |
压差指 示器工 作压差 /MPa |
初始压 力降 /MPa |
外 形 尺 寸/mm |
||||||||||||
|
L |
L1 |
L2 |
L3 |
L4 |
L5 |
h |
h1 |
h2 |
D |
d |
d1 |
d2 |
||||||
|
ZU-A25×10BS(或×20BS, 或×30BS,或×50BS) |
25 |
1.6 |
10、 或20、 或30、 或50 |
0.35 |
0.07 |
234 |
36 |
20 |
103 |
53 |
100 |
132 |
116 |
30 |
f 96 |
f 20 |
f 28 |
f 7 |
|
ZU-A40×10BS(或×20BS, 或×30BS,或×50BS) |
40 |
295 |
||||||||||||||||
|
ZU-A63×10BS(或×20BS, 或×30BS,或×50BS) |
63 |
328 |
48 |
30 |
127 |
65 |
124 |
160 |
142 |
45 |
f 114 |
f 32 |
f 40 |
f 9 |
||||
|
ZU-A100×10BS(或×20BS, 或×30BS,或×50BS) |
100 |
0.12 |
428 |
|||||||||||||||
|
注:1.型号中ZU-A25×10BS(或×20BS,或×30BS,或×50BS)代表ZU-A25×10BS、ZU-A25×20BS、ZB-A25×30BS、ZU-A25×50BS四个型号,过 滤精度的10或20或30或50是按排列顺序分别代表其过滤精度值。 2.生产厂为无锡液压件厂、沈阳滤油器厂、上海高行液压件厂、黎明液压机电厂、远东液压配件厂。 |
||||||||||||||||||



