|
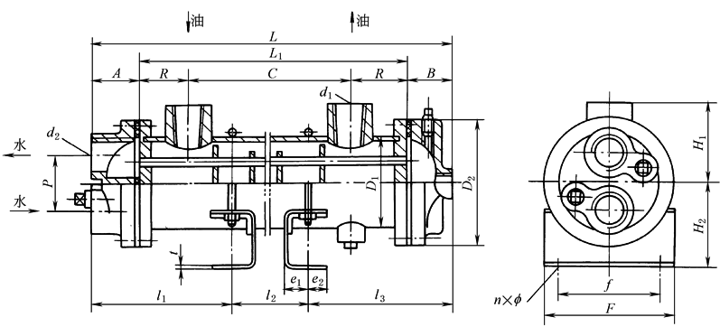
固定管板式冷却器 |
|||||||||||||||||||||||
|
2LQG2W型冷却器尺寸
mm |
|||||||||||||||||||||||
|
型 号 |
换热 面积 /m2 |
壳 体 尺 寸 |
支 座 尺 寸 |
两 端 尺 寸 |
|||||||||||||||||||
|
L |
L1 |
C |
R |
D1 |
H1 |
d1 |
l1 |
l2 |
l3 |
H2 |
F |
f |
e1 |
e2 |
t |
n×f |
D2 |
p |
d2 |
A |
B |
||
|
10/0.2 |
0.2 |
347 |
270 |
180 |
45 |
76 |
60 |
ZG1 |
120 |
105 |
122 |
70 |
102 |
80 |
15 |
15 |
3 |
4×f10 |
110 |
52 |
ZG 3/4 |
40 |
37 |
|
10/0.4 |
0.4 |
527 |
450 |
360 |
285 |
||||||||||||||||||
|
10/0.5 |
0.5 |
757 |
680 |
590 |
515 |
||||||||||||||||||
|
10/1.0 |
1.0 |
444 |
340 |
240 |
50 |
114 |
85 |
ZG 1¼ |
140 |
160 |
142 |
90 |
148 |
120 |
20 |
20 |
3 |
4×f12 |
147 |
76 |
ZG1 |
52 |
52 |
|
10/1.25 |
1.25 |
554 |
450 |
350 |
270 |
||||||||||||||||||
|
10/1.4 |
1.4 |
634 |
530 |
430 |
350 |
||||||||||||||||||
|
10/1.8 |
1.8 |
784 |
680 |
580 |
500 |
||||||||||||||||||
|
10/2.24 |
2.24 |
954 |
850 |
750 |
670 |
||||||||||||||||||
|
10/2.0 |
2.0 |
587 |
450 |
340 |
55 |
140 |
95 |
ZG 1½ |
175 |
250 |
162 |
145 |
180 |
140 |
24 |
16 |
5 |
4×f15 |
194 |
100 |
ZG1 |
72 |
65 |
|
10/3.0 |
3.0 |
817 |
680 |
570 |
480 |
||||||||||||||||||
|
10/3.75 |
3.75 |
987 |
850 |
740 |
650 |
||||||||||||||||||
|
10/4.25 |
4.25 |
1107 |
970 |
860 |
770 |
||||||||||||||||||

