|
塑料管夹(摘自JB/ZQ 4008—1997) mm |
|||||||||||||||||||||||||||||||||
|
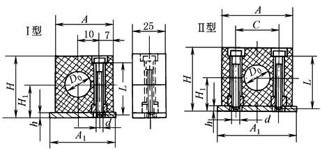
型式 |
适用于以油、水、气为介质的管路固定。工作温度为-5~100℃ |
||||||||||||||||||||||||||||||||
|
A
系
列 |
|
适用于中压、低压管路 标记示例 A系列Ⅰ型、管子外径为12mm的塑料管夹: 塑料管夹A(Ⅰ)12 JB/ZQ 4008—1997 |
|||||||||||||||||||||||||||||||
|
型式 |
管子外径 D0 |
A |
A1 |
C |
H |
H1 |
h |
螺 栓 |
质量 /kg |
||||||||||||||||||||||||
|
d |
L |
||||||||||||||||||||||||||||||||
|
Ⅰ |
6、8、10、12 |
28 |
33 |
|
32 |
19 |
6 |
M6 |
20 |
0.06 |
|||||||||||||||||||||||
|
Ⅱ |
6、8、10、12 |
34 |
39 |
20 |
0.08 |
||||||||||||||||||||||||||||
|
14、16、18 |
40 |
45 |
26 |
40 |
23 |
25 |
0.12 |
||||||||||||||||||||||||||
|
20、22、25 |
48 |
53 |
33 |
42 |
24 |
30 |
0.14 |
||||||||||||||||||||||||||
|
28、30、32 34、40、42 |
70 |
75 |
52 |
64 |
35 |
50 |
0.19 |
||||||||||||||||||||||||||
|
48、50 |
86 |
91 |
66 |
72 |
39 |
60 |
0.22 |
||||||||||||||||||||||||||
|
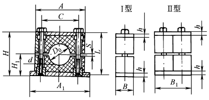
B
系
列 |
|
适用于中、高压力(≤31.5MPa)和有一定振动的管路 标记示例 B系列Ⅱ型、管子外径为28mm的塑料管夹: 塑料管夹B(Ⅱ)28 JB/ZQ 4008—1997 |
|||||||||||||||||||||||||||||||
|
管子外径 D0 |
A |
A1 |
B |
B1 |
C |
H |
H1 |
h |
S |
螺栓 |
质量/kg |
||||||||||||||||||||||
|
d |
L |
Ⅰ |
Ⅱ |
||||||||||||||||||||||||||||||
|
10、12 14、16 |
55 |
73 |
30 |
60 |
33 |
48 |
21 |
8 |
2 |
M10 |
45 |
0.3 |
0.6 |
||||||||||||||||||||
|
18、20、22 25、28 |
70 |
85 |
45 |
64 |
32 |
60 |
0.4 |
0.8 |
|||||||||||||||||||||||||
|
30、32、34 40、42 |
84 |
100 |
60 |
76 |
38 |
70 |
0.5 |
1.0 |
|||||||||||||||||||||||||
|
48、50、57 60、63.5 |
115 |
150 |
45 |
90 |
90 |
110 |
55 |
10 |
3 |
M12 |
100 |
1.8 |
3.6 |
||||||||||||||||||||
|
76、89 |
152 |
200 |
60 |
120 |
122 |
140 |
70 |
3.5 |
M16 |
130 |
2.5 |
5.0 |
|||||||||||||||||||||
|
102、108 114、127 |
205 |
270 |
80 |
160 |
168 |
200 |
100 |
15 |
4.5 |
M20 |
190 |
5.5 |
11 |
||||||||||||||||||||
|
138、140 159、168 |
250 |
310 |
90 |
180 |
205 |
230 |
115 |
M24 |
220 |
8 |
16 |
||||||||||||||||||||||
|
B 系 列 Ⅰ 型 管 夹 组 合 安 装 |
|
同一外形尺寸的B系列Ⅰ型管夹,可叠垒成组安装,但最多不能超过五层 标记示例 B系列Ⅰ型组合叠装、管子外径为22mm的3根、管子外径为28mm的2根的塑料管夹: 塑料管夹B(Ⅰ)22×3-28×2 JB/ZQ 4008—1997 |
|||||||||||||||||||||||||||||||
|
管子外径 D0 |
10、12、 14、16 |
18、20、22、 25、28 |
32、34、 40、42 |
48、50、57、 60、63.5 |
76、89 |
102、108、 114、127 |
133、140、 159、168 |
||||||||||||||||||||||||||
|
H1 |
31 |
39 |
45 |
63 |
80 |
113 |
130 |
||||||||||||||||||||||||||
|
T |
40 |
56 |
68 |
100 |
130 |
185 |
215 |
||||||||||||||||||||||||||
|
注:生产厂为江苏溧阳管夹厂、启东江海液压润滑设备厂、富平液压机械配件厂、盘锦工程塑料厂。 |
|||||||||||||||||||||||||||||||||



